Lexus ES: System Diagram
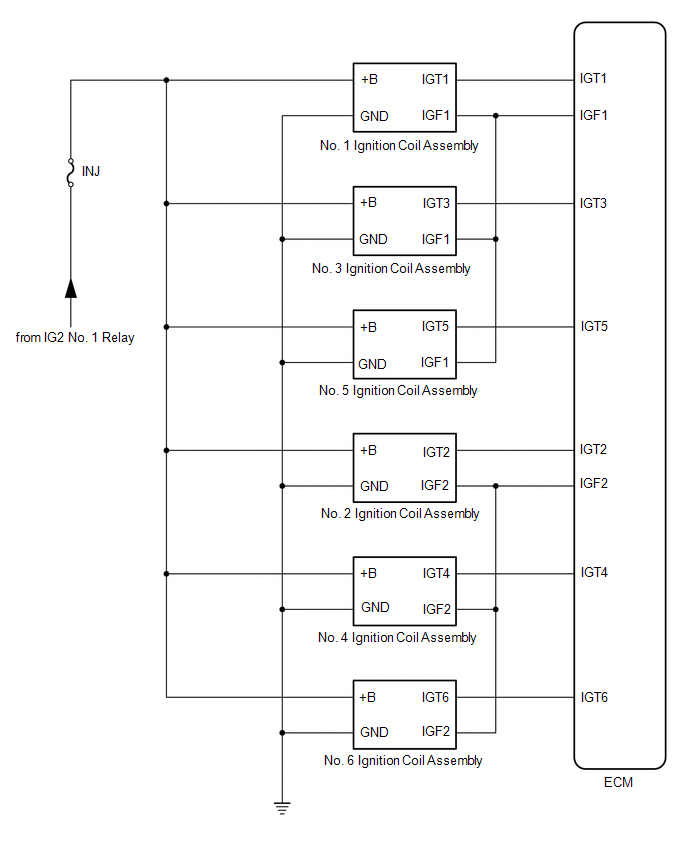
SYSTEM DIAGRAM

READ NEXT:
ON-VEHICLE INSPECTION CAUTION / NOTICE / HINT CAUTION: To prevent injury due to contact with an operating V-ribbed belt or cooling fan, keep your hands and clothing away from the V-ribbed belt and coo
COMPONENTS ILLUSTRATION *1 KNOCK CONTROL SENSOR (for Bank 1) *2 KNOCK CONTROL SENSOR (for Bank 2) N*m (kgf*cm, ft.*lbf): Specified torque * For use with a union nut wrench
SEE MORE:
PRECAUTION PRECAUTION FOR DISCONNECTING CABLE FROM NEGATIVE AUXILIARY BATTERY TERMINAL NOTICE: When disconnecting the cable from the negative (-) auxiliary battery terminal, initialize the following systems after the cable is reconnected. System Name See Procedure Lane Control System (for H
DESCRIPTION When the engine switch is on (IG), the power window regulator motor assembly (for rear LH door) is operated by the rear power window regulator switch assembly (for LH door). The power window regulator motor assembly (for rear LH door) has motor, regulator, and ECU functions. WIRING DIAGR
© 2016-2026 Copyright www.lexguide.net
