Lexus ES manuals

Lexus ES: On-vehicle Inspection

ON-VEHICLE INSPECTION

CAUTION / NOTICE / HINT

CAUTION:

To prevent injury due to contact with an operating V-ribbed belt or cooling fan, keep your hands and clothing away from the V-ribbed belt and cooling fan when working in the engine compartment with the engine running or the engine switch on (IG).

PROCEDURE

1. PERFORM SPARK TEST

(a) Connect the Techstream to the DLC3.

(b) Turn the engine switch on (IG).

(c) Turn the Techstream on.

(d) Enter the following menus: Powertrain / Engine / Trouble Codes.

(e) Check for DTCs.

Powertrain > Engine > Trouble Codes

NOTICE:

If any DTCs are output, perform troubleshooting in accordance with the procedure for each DTC.

(f) Turn the engine switch off.

(g) Remove the intake air surge tank assembly.

Click here

(h) Remove the 6 ignition coil assemblies and 6 spark plugs.

Click here

(i) Disconnect the 2 No. 5 engine wire connectors (for Port Injection).

NOTICE:

Perform this step in order to stop fuel injection to prevent damage to the catalyst due to unburned fuel.

*a

No. 5 Engine Wire Connector

*b

No. 6 Engine Wire Connector

*c

No. 7 Engine Wire Connector

(j) Disconnect the No. 6 engine wire connector and No. 7 engine wire connector (for Direct Injection).

NOTICE:

Perform this step in order to stop fuel injection to prevent damage to the catalyst due to unburned fuel.

(k) Install the spark plug to the ignition coil assembly, and then connect the ignition coil assembly connector.

(l) Ground the spark plug.

(m) Check that spark occurs at each spark plug while the engine is being cranked.

NOTICE:

  • Be sure to ground the spark plugs when checking them.
  • Do not crank the engine for more than 2 seconds.
  • If an ignition coil assembly or spark plug has been struck or dropped, replace it.

HINT:

If spark does not occur, perform the following procedure.

(n) Connect the No. 6 engine wire connector and No. 7 engine wire connector (for Direct Injection).

(o) Connect the 2 No. 5 engine wire connectors (for Port Injection).

(p) Install the 6 spark plugs and 6 ignition coil assemblies.

Click here

(q) Install the intake air surge tank assembly.

Click here

(r) Turn the engine switch on (IG).

(s) Turn the Techstream on.

(t) Enter the following menus: Powertrain / Engine / Trouble Codes.

(u) Check for DTCs.

Powertrain > Engine > Trouble Codes

(v) Clear the DTCs.

Powertrain > Engine > Clear DTCs

2. INSPECT IGNITION COIL ASSEMBLY AND SPARK TEST

HINT:

Perform "Inspection After Repair" after replacing a spark plug or ignition coil assembly.

Click here

(a) Check that the ignition coil assembly connector is securely connected.

Result

Action

NG

Connect securely

OK

Go to next step

(b) Perform a spark test on each ignition coil assembly.

(1) Replace the ignition coil assembly with a known good one.

(2) Perform the spark test again.

Result

Action

NG

Go to next step

OK

Replace ignition coil assembly

NOTICE:

If an ignition coil assembly or spark plug has been struck or dropped, replace it.

(c) Perform a spark test on each spark plug.

(1) Replace the spark plug with a known good one.

(2) Perform the spark test again.

Result

Action

NG

Inspect the ignition system

OK

Replace spark plug

NOTICE:

If an ignition coil assembly or spark plug has been struck or dropped, replace it.

(d) Connect the No. 6 engine wire connector and No. 7 engine wire connector (for Direct Injection).

(e) Connect the 2 No. 5 engine wire connectors (for Port Injection).

(f) Install the 6 spark plugs and 6 ignition coil assemblies.

Click here

(g) Install the intake air surge tank assembly.

Click here

(h) Turn the engine switch on (IG).

(i) Turn the Techstream on.

(j) Enter the following menus: Powertrain / Engine / Trouble Codes.

(k) Check for DTCs.

Powertrain > Engine > Trouble Codes

(l) Clear the DTCs.

Powertrain > Engine > Clear DTCs

3. INSPECT SPARK PLUG

NOTICE:

  • Do not damage the iridium tip and platinum tip.
  • Check the iridium tip visually since the iridium tip may be damaged.
  • Never attempt to adjust the electrode gap of a used spark plug.
  • Replace with new spark plugs if extremely dirty due to sludge, etc.
  • Replace with new spark plugs if damaged at all.
  • Replace with a new spark plug if it has been struck or dropped.
  • When replacing with a new spark plug, do not remove the cap for protecting the spark plug tip until it is installed to the engine.

HINT:

Perform "Inspection After Repair" after replacing a spark plug.

Click here

(a) Check the electrode.

(1) Using a megohmmeter, measure the insulation resistance.

Standard Insulation Resistance:

Tester Connection

Condition

Specified Condition

Spark plug (terminal part) - Body ground

Always

10 MΩ or higher

HINT:

  • If the result is not as specified, clean the spark plug with a spark plug cleaner and measure the resistance again.
  • If a megohmmeter is not available, perform the following simple inspection instead.

*a

Body Ground

(b) Alternative inspection method.

(1) Start the engine.

NOTICE:

Do not perform this step when any of the following DTCs are output: P030000, P030027, P030085, P030100, P030200, P030300, P030400, P030500, P030600 (Cylinder Misfire Detected).

(2) Quickly accelerate the engine to 4000 rpm 5 times.

NOTICE:

Do not perform this step when any of the following DTCs are output: P030000, P030027, P030085, P030100, P030200, P030300, P030400, P030500, P030600 (Cylinder Misfire Detected).

(3) Remove the spark plug.

Click here

(4) Visually check the spark plug.

HINT:

If the electrode is dry, the spark plug is functioning properly. If the electrode is damp, proceed to the next step.

(c) Check the spark plug for any damage to its threads and insulator.

If there is any damage, replace the spark plug.

Recommended Spark Plug:

Manufacturer

Spark Plug Type

DENSO

FK20HBR8

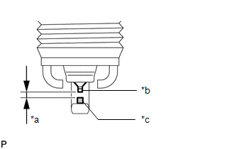
(d) Check the spark plug electrode gap.

Maximum Electrode Gap for Used Spark Plug:

1.1 mm (0.0433 in.)

NOTICE:

Never attempt to adjust the electrode gap of a used spark plug.

If the electrode gap is more than the maximum, replace the spark plug.

Standard Electrode Gap for New Spark Plug:

0.7 to 0.8 mm (0.0276 to 0.0315 in.)

*a

Spark Plug Electrode Gap

*b

Iridium Tip

*c

Platinum Tip

(e) Install the spark plug.

Click here

4. PERFORM INITIALIZATION

(a) Perform "Inspection After Repair" after replacing a spark plug or ignition coil assembly.

Click here

READ NEXT:

 Knock Sensor

 Components

COMPONENTS ILLUSTRATION *1 KNOCK CONTROL SENSOR (for Bank 1) *2 KNOCK CONTROL SENSOR (for Bank 2) N*m (kgf*cm, ft.*lbf): Specified torque * For use with a union nut wrench

 Removal

REMOVAL CAUTION / NOTICE / HINT The necessary procedures (adjustment, calibration, initialization or registration) that must be performed after parts are removed and installed, or replaced during knoc

SEE MORE:

 Engine Coolant Temperature Sensor 1 Circuit Short to Ground (P011511)

DESCRIPTION A thermistor, whose resistance value varies according to the engine coolant temperature, is built into the engine coolant temperature sensor. The structure of the sensor and its connection to the ECM are the same as those of the intake air temperature sensor. Refer to DTC P011011. Click

 Sliding Roof does not Move by Operating Sliding Roof Control Switch

DESCRIPTION The sliding roof ECU (sliding roof drive gear sub-assembly) receives slide and tilt signals and operates its built-in motor when the sliding roof switch (map light sub-assembly) is operated. WIRING DIAGRAM CAUTION / NOTICE / HINT NOTICE: Inspect the fuses for circuits related to this

© 2016-2026 Copyright www.lexguide.net