Lexus ES: Disassembly
DISASSEMBLY
PROCEDURE
1. REMOVE END COVER
| (a) Using a T30 "TORX" socket wrench, remove the 5 screws and end cover. NOTICE: -
Hold the pump so that the pump installation surface, fitting parts and oil pipe will not be damaged.
-
As the housing deforms when force is applied, do not secure the housing with a tool such as a vise.
-
Securely fit the T30 "TORX" socket wrench to the screws.
-
Do not drop the end cover.
-
Do not damage the end cover.
| |
| (b) Using a screwdriver with its tip wrapped with protective tape, remove the No. 1 O-ring. NOTICE: Do not damage the groove. | |
2. REMOVE VACUUM PUMP VANE
| (a) Remove the vacuum pump vane together with the 2 vacuum pump vane caps. NOTICE: -
When reusing the vacuum pump vane and vacuum pump vane caps, make sure to make a note of the installation position and orientation.
-
Do not drop the vacuum pump vane or vacuum pump vane caps.
| |
| (b) Remove the 2 vacuum pump vane caps from the vacuum pump vane. NOTICE: -
When reusing the vacuum pump vane and vacuum pump vane caps, make sure to make a note of the installation positions and orientation.
-
Do not drop the vacuum pump vane and vacuum pump vane caps.
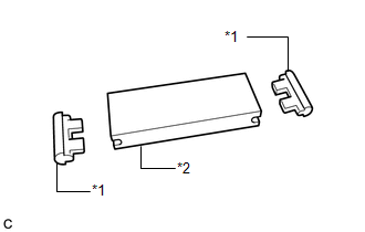
| | | *1 | Vacuum Pump Vane Cap | | *2 | Vacuum Pump Vane | | |
READ NEXT:
INSPECTION PROCEDURE 1. INSPECT VACUUM PUMP VANE (a) Check that the vacuum pump vane or vacuum pump vane caps are not damaged or excessively worn. HINT: If the vacuum pump vane or vacuum pump vane
INSTALLATION PROCEDURE 1. INSTALL VACUUM PUMP ASSEMBLY (a) When using a new vacuum pump assembly: (1) Apply engine oil to the No. 2 O-ring and No. 3 O-ring which are installed to a new vacuum pump ass
ON-VEHICLE INSPECTION PROCEDURE 1. REMOVE COWL TOP VENTILATOR LOUVER SUB-ASSEMBLY Click here 2. REMOVE FRONT CENTER UPPER SUSPENSION BRACE SUB-ASSEMBLY Click here 3. OPERATION CHECK (a) Slide the
SEE MORE:
DESCRIPTION This DTC is stored if the parking assist ECU judges as a result of its self check that a synchronization problem is occurring in the image signal sent from the driver side television camera assembly to the parking assist ECU. DTC No. Detection Item DTC Detection Condition Troubl
CAUTION / NOTICE / HINT NOTICE:
Depending on the parts that are replaced during vehicle inspection or maintenance, performing initialization, registration or calibration may be needed. Refer to Precaution for Audio and Visual System.
Click here
When replacing the radio receiver assembly, alw
© 2016-2026 Copyright www.lexguide.net
