Lexus ES manuals

Lexus ES: Inspection

INSPECTION

PROCEDURE

1. INSPECT VACUUM PUMP VANE

(a) Check that the vacuum pump vane or vacuum pump vane caps are not damaged or excessively worn.

HINT:

If the vacuum pump vane or vacuum pump vane caps are damaged or excessively worn, replace the damaged parts with new ones.

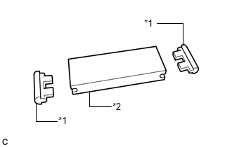
*1

Vacuum Pump Vane Cap

*2

Vacuum Pump Vane

(b) Using a micrometer, measure length (A) of the vacuum pump vane with the vacuum pump vane caps removed.

Minimum Length (A):

23.8 mm (0.937 in.)

NOTICE:

Measure the length 10 mm (0.394 in.) in from each end of the vacuum pump vane.

HINT:

If the length is not as specified, replace the vacuum pump vane and vacuum pump vane caps with new ones.

*a

10 mm (0.394 in.)

(c) Using a vernier caliper, measure length (B) of the vacuum pump vane with the vacuum pump vane caps installed.

Minimum Length (B):

80.5 mm (3.17 in.)

NOTICE:

Measure the length 5 mm (0.197 in.) in from each end of the vacuum pump vane caps.

HINT:

If the length is not as specified, replace the vacuum pump vane and vacuum pump vane caps with new ones.

*1

Vacuum Pump Vane

*2

Vacuum Pump Vane Cap

*a

5 mm (0.197 in.)

2. INSPECT VACUUM PUMP HOUSING

(a) Check that the areas shown in the illustration are not damaged or excessively worn.

HINT:

If the areas shown in the illustration are damaged or excessively worn, replace the vacuum pump assembly.

READ NEXT:

 Installation

INSTALLATION PROCEDURE 1. INSTALL VACUUM PUMP ASSEMBLY (a) When using a new vacuum pump assembly: (1) Apply engine oil to the No. 2 O-ring and No. 3 O-ring which are installed to a new vacuum pump ass

 On-vehicle Inspection

ON-VEHICLE INSPECTION PROCEDURE 1. REMOVE COWL TOP VENTILATOR LOUVER SUB-ASSEMBLY Click here 2. REMOVE FRONT CENTER UPPER SUSPENSION BRACE SUB-ASSEMBLY Click here 3. OPERATION CHECK (a) Slide the

 Reassembly

REASSEMBLY PROCEDURE 1. INSTALL VACUUM PUMP VANE (a) Apply engine oil to the vacuum pump vane and vacuum pump vane caps and install the vacuum pump vane caps to the vacuum pump vane. (b) Apply engine

SEE MORE:

 Low Pressure Fuel System Pressure - Too Low (P008A00)

DESCRIPTION In order to supply the optimal fuel pressure according to the driving conditions and usage environment, the variable fuel system sends a drive signal from the ECM to the fuel pump control ECU, steplessly performing variable control of the fuel pump (for low pressure side) and receiving f

 Front Right Microphone Circuit Component Internal Failure (B1AA696,B1AA71C)

DESCRIPTION These DTCs are stored when a malfunction occurs in the No. 2 active noise control microphone system. DTC No. Detection Item DTC Detection Condition Trouble Area B1AA696 Front Right Microphone Circuit Component Internal Failure Stereo component equalizer assembly detects

© 2016-2025 Copyright www.lexguide.net