Lexus ES manuals

Lexus ES: Removal

REMOVAL

CAUTION / NOTICE / HINT

The necessary procedures (adjustment, calibration, initialization or registration) that must be performed after parts are removed and installed, or replaced during tire pressure warning valve and transmitter removal/installation are shown below.

Necessary Procedures After Parts Removed/Installed/Replaced (for Gasoline Model)

Replacement Part or Procedure

Necessary Procedures

Effects/Inoperative when not Performed

Link

Tire pressure warning valve and transmitter

  • Register transmitter ID
  • Initialize tire pressure warning system
  • When DTC detection conditions of "transmitter ID not received" DTC are met, TPWS indicator blinks for 1 minute, and then illuminates
  • Tire pressure warning function

for Registration

for Initialization

Necessary Procedures After Parts Removed/Installed/Replaced (for HV Model)

Replacement Part or Procedure

Necessary Procedures

Effects/Inoperative when not Performed

Link

Tire pressure warning valve and transmitter

  • Register transmitter ID
  • Initialize tire pressure warning system
  • When DTC detection conditions of "transmitter ID not received" DTC are met, TPWS indicator blinks for 1 minute, and then illuminates
  • Tire pressure warning function

for Registration

for Initialization

PROCEDURE

1. REMOVE WHEEL ASSEMBLY

Click here

2. REMOVE TIRE PRESSURE WARNING VALVE AND TRANSMITTER

(a) Remove the tire valve cap.

NOTICE:

Keep the removed tire valve cap.

(b) Remove the valve core to release the air from the tire.

NOTICE:

Make sure that a sufficient amount of air has been released.

(c) Using an 11 mm deep socket wrench, remove the nut and washer.

(d) Drop the tire pressure warning valve and transmitter with grommet into the tire.

HINT:

The grommet may remain attached to the rim.

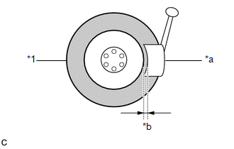
(e) Using a tire remover, remove the tire from the disc wheel.

NOTICE:

  • Be careful not to damage the tire pressure warning valve and transmitter due to interference between the valve and the tire bead.
  • Set the tire remover shoe as shown in the illustration.

*1

Tire

*a

Shoe

*b

10 to 20 mm (0.394 to 0.787 in.)

(f) Take out the tire pressure warning valve and transmitter with grommet from the tire.

(g) Remove the grommet from the tire pressure warning valve and transmitter.

(h) Using a T10 "TORX" socket wrench, remove the bolt and tire pressure monitor sensor from the tubeless tire valve.

READ NEXT:

 Installation

INSTALLATION CAUTION / NOTICE / HINT NOTICE: Always use a new bolt, grommet, tubeless tire valve and valve core when installing the tire pressure warning valve and transmitter. Check that the was

 Disposal

DISPOSAL CAUTION / NOTICE / HINT HINT: The tire pressure warning valve and transmitter is powered by a lithium battery. When disposing of the tire pressure warning valve and transmitter, remove the ba

 Vehicle Exterior

h1 {color:red;} h2 {color:blue;} h3 {color:green;}

SEE MORE:

 Removal

REMOVAL CAUTION / NOTICE / HINT The necessary procedures (adjustment, calibration, initialization, or registration) that must be performed after parts are removed and installed, or replaced during side turn signal light assembly removal/installation are shown below. Necessary Procedure After Parts R

 Lost Communication with Hybrid/EV Battery Sensor Module Missing Message (U029A87)

DESCRIPTION The battery voltage sensor detects the HV battery conditions (voltage, current and temperature) and the battery cooling fan frequency, and sends the detected signals to the hybrid vehicle control ECU via serial communication. (The hybrid vehicle control ECU does not send signals to the b

© 2016-2025 Copyright www.lexguide.net