Lexus ES manuals

Lexus ES: Installation

INSTALLATION

CAUTION / NOTICE / HINT

NOTICE:

  • Always use a new bolt, grommet, tubeless tire valve and valve core when installing the tire pressure warning valve and transmitter.
  • Check that the washer and nut are not damaged, and replace them if necessary.
  • Make sure not to damage the urethane covered backside of the tire pressure warning valve and transmitter (the surface opposite to the side with the ID code) with anything sharp.
  • Write down the ID number before installation.
  • Check that there is no oil, water or lubricant around the rim hole, tire pressure warning valve and transmitter, washer and nut. Failing to do so may result in improper installation.
  • Use only a specified tire valve cap. If an unspecified tire valve cap is used, it may seize to the tire pressure warning valve and transmitter.

PROCEDURE

1. INSTALL TIRE PRESSURE WARNING VALVE AND TRANSMITTER

(a) Using a T10 "TORX" socket wrench, install the tire pressure monitor sensor to the new tubeless tire valve with a new bolt.

Torque:

1.2 N·m {12 kgf·cm, 11 in·lbf}

(b) Install a new grommet to the tire pressure warning valve and transmitter.

NOTICE:

A new tire pressure warning valve and transmitter comes with a grommet installed. Make sure not to install an extra grommet.

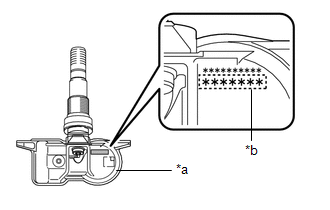
(c) Write down the 7-digit transmitter ID number shown in the illustration.

*a

Printed Surface

*b

7-digit Transmitter ID Number

(d) Insert the tire pressure warning valve and transmitter with grommet from the inside of the rim.

NOTICE:

  • Make sure that the tire pressure warning valve and transmitter is installed so that the printed surface can be seen. If the tire pressure warning valve and transmitter is installed upside down, it may be damaged or fail to transmit signals when driving at high speeds.
  • Check that there is no deformation or damage to the tire pressure warning valve and transmitter.
  • Check that there is no foreign matter on the grommet and around the rim hole.

*1

Tire Pressure Warning Valve and Transmitter

*2

Grommet

*3

Washer

*4

Nut

*a

Rim

(e) Install the washer to the tire pressure warning valve and transmitter from the outside of the rim, and using an 11 mm deep socket wrench, tighten the nut.

Torque:

4.0 N·m {41 kgf·cm, 35 in·lbf}

NOTICE:

  • No further tightening is required once the nut is tightened to the specified torque.
  • Check that there is no foreign matter on the grommet, washer and nut.

(f) Set the tire and disc wheel onto the mounting machine as shown in the illustration.

*a

Mount Tool of the Mounting Machine

*b

60°

*c

Rim

Rim Rotating Direction

Area for Tire Pressure Warning Valve and Transmitter

NOTICE:

  • Position the main body of the tire pressure warning valve and transmitter in the area shown in the illustration.
  • If the tire pressure warning valve and transmitter is positioned outside this area, it will interfere with the tire bead and may be damaged.

(g) Apply a sufficient coat of soapy water or equivalent to the tire bead and rim.

NOTICE:

Do not apply soapy water or equivalent directly to the tire pressure warning valve and transmitter.

(h) Using a mounting machine, install the tire to the disc wheel.

NOTICE:

  • Make sure that the tire bead and mount tool do not interfere with the tire pressure warning valve and transmitter.
  • Make sure that the tire pressure warning valve and transmitter is not clamped by the bead and rim.

(i) Install a new valve core.

(j) Inflate the tire to the specified tire inflation pressure.

Click here

(k) After the tire is inflated, the nut may be loose. Using an 11 mm deep socket wrench, retighten the nut to the specified torque.

Torque:

4.0 N·m {41 kgf·cm, 35 in·lbf}

NOTICE:

No further tightening is required once the nut is tightened to the specified torque.

(l) Check the surroundings of the tire pressure warning valve and transmitter for air leaks with soapy water or equivalent.

(1) If air is leaking from the valve core, press the valve core several times to remove foreign matter. Replace the valve core as necessary.

(2) If air is leaking from around the tire pressure warning valve and transmitter, check if the grommet, washer and nut are not deformed, damaged or contaminated with foreign matter. Replace the grommet, washer or nut as necessary.

(m) Install the tire valve cap.

2. INSTALL WHEEL ASSEMBLY

Click here

3. INSPECT TIRES

Click here

4. REGISTER TRANSMITTER ID

for HV Model: Click here

for Gasoline Model: Click here

5. INSPECT TIRE PRESSURE WARNING SYSTEM

for HV Model: Click here

for Gasoline Model: Click here

6. PERFORM INITIALIZATION

for HV Model: Click here

for Gasoline Model: Click here

READ NEXT:

 Disposal

DISPOSAL CAUTION / NOTICE / HINT HINT: The tire pressure warning valve and transmitter is powered by a lithium battery. When disposing of the tire pressure warning valve and transmitter, remove the ba

 Vehicle Exterior

h1 {color:red;} h2 {color:blue;} h3 {color:green;}

 Door / Hatch

SEE MORE:

 Parts Location

PARTS LOCATION ILLUSTRATION *1 ECM *2 NO. 1 ENGINE ROOM RELAY BLOCK AND NO. 1 JUNCTION BLOCK ASSEMBLY - ST RELAY - EFI-MAIN NO. 4 FUSE - J/B-B FUSE ILLUSTRATION *1 SHIFT LOCK CONTROL UNIT ASSEMBLY - TRANSMISSION CONTROL SWITCH *2 SHIFT PADDLE SWITCH LH (TRANSMISSION SHIFT SWIT

 Generator Inverter Stuck On (P0A7A9E,P1C5F19)

DTC SUMMARY MALFUNCTION DESCRIPTION This DTC indicates that a large current flowed in the inverter generator. The cause of this malfunction may be one of the following: Area Main Malfunction Description Hybrid vehicle transaxle assembly Open or short circuit in the generator coils Ge

© 2016-2026 Copyright www.lexguide.net