Lexus ES manuals

Lexus ES: Inspection

INSPECTION

PROCEDURE

1. INSPECT GENERATOR BRUSH HOLDER ASSEMBLY

(a) Using a vernier caliper, measure the length of the exposed brushes.

Standard Exposed Brush Length:

9.5 to 11.5 mm (0.374 to 0.453 in.)

Minimum Exposed Brush Length:

4.5 mm (0.177 in.)

If the brush length is less than the minimum, replace the generator brush holder assembly.

*a

Length

2. INSPECT GENERATOR ROTOR ASSEMBLY

(a) Check the generator rotor assembly for an open circuit.

(1) Measure the resistance according to the value(s) in the table below.

Standard Resistance:

Tester Connection

Condition

Specified Condition

Slip ring - Slip ring

20°C (68°F)

1.5 to 1.9 Ω

If the result is not as specified, replace the generator rotor assembly.

*a

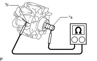
Slip Ring

(b) Check the generator rotor assembly for a short to ground.

(1) Measure the resistance according to the value(s) in the table below.

Standard Resistance:

Tester Connection

Condition

Specified Condition

Slip ring - Rotor

Always

1 MΩ or higher

If the result is not as specified, replace the generator rotor assembly.

*a

Slip Ring

*b

Rotor

(c) Check that the generator rotor bearing is not rough or worn and that it rotates smoothly.

If the generator rotor bearing is rough or worn, or does not rotate smoothly, replace the generator rotor assembly.

(d) Check the slip ring.

(1) Check that the slip rings are not rough or scored.

If the slip rings are rough or scored, replace the generator rotor assembly.

(2) Using a vernier caliper, measure the slip ring diameter.

Standard Diameter:

14.2 to 14.8 mm (0.559 to 0.583 in.)

Minimum Diameter:

14.0 mm (0.551 in.)

If the diameter is less than the minimum, replace the generator rotor assembly.

*a

Diameter

3. INSPECT GENERATOR ROTOR BEARING

(a) Check that the generator rotor bearing is not rough or worn and that it rotates smoothly.

If the generator rotor bearing is rough or worn, or does not rotate smoothly, replace the generator rotor bearing.

READ NEXT:

 Disassembly

DISASSEMBLY PROCEDURE 1. REMOVE GENERATOR PULLEY CAP (a) Remove the generator pulley cap from the generator pulley with clutch. NOTICE: Do not reuse the generator pulley cap. If the generato

 On-vehicle Inspection

ON-VEHICLE INSPECTION CAUTION / NOTICE / HINT NOTICE: Do not remove the generator pulley cap. If the generator pulley cap is removed, replace the generator pulley cap and generator pulley with cl

 Components

COMPONENTS ILLUSTRATION *1 GENERATOR ASSEMBLY *2 COOL AIR INTAKE DUCT SEAL *3 INLET AIR CLEANER ASSEMBLY *4 WIRE HARNESS CLAMP BRACKET Tightening torque for "Major areas inv

SEE MORE:

 DC/DC Converter Temperature Sensor "A" Circuit Short to Ground (P0C3811,P0C3815,P0C3D11,P0C3D15)

DESCRIPTION The motor generator control ECU (MG ECU) located in the inverter with converter assembly detects the temperature of the boost converter using the temperature sensor built into the boost converter. The motor generator control ECU (MG ECU) detects malfunctions in the boost converter temper

 Camshaft Position Sensor "B" Bank 1 Signal Stuck in Range (P03652A,P036531,P039031)

DESCRIPTION Refer to DTC P036511. Click here DTC No. Detection Item DTC Detection Condition Trouble Area MIL Memory Note P03652A Camshaft Position Sensor "B" Bank 1 Signal Stuck in Range No VVT sensor (for exhaust camshaft of bank 1) signal to ECM while engine cranking (1 tr

© 2016-2025 Copyright www.lexguide.net