Lexus ES manuals

Lexus ES: Installation

INSTALLATION

PROCEDURE

1. INSTALL FUEL INJECTOR SEAL

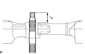
(a) Apply engine conditioner to the area shown in the illustration. Using a piece of cloth, clean carbon deposits from the direct fuel injector assembly and its grooves.

NOTICE:

  • Do not clean the tip of the direct fuel injector assembly.
  • Do not use a wire brush to clean the direct fuel injector assembly.
  • If a direct fuel injector assembly is dropped or the tip of the direct fuel injector assembly is struck, replace it with a new one.

*a

Area to be Cleaned

(b) Apply engine oil to the direct fuel injector assembly contact surface of SST (guide), then attach SST (guide) to the direct fuel injector assembly with the chamfer facing the tip of the direct fuel injector assembly as shown in the illustration.

SST: 09260-39021

09261-03020

*a

SST (Guide)

*b

Chamfer

(c) Install a new fuel injector seal to SST (holder).

SST: 09260-39021

09261-03011

NOTICE:

Be careful not to install the fuel injector seal to SST (holder) at an angle. Doing so will stretch the fuel injector seal.

*1

Fuel Injector Seal

*a

SST (Holder)

*b

Correct

*c

Incorrect

(d) Install SST (holder) with the fuel injector seal to the tip of the direct fuel injector assembly. Slide the fuel injector seal downward into the direct fuel injector assembly groove with your fingers as shown in the illustration.

SST: 09260-39021

09261-03011

09261-03020

HINT:

Check that the fuel injector seal is seated in the direct fuel injector assembly groove as shown in the illustration.

*a

SST (Holder)

*b

SST (Guide)

(e) Slowly slide SST (guide) toward the tip of the direct fuel injector assembly. When the direct fuel injector assembly contact surface of SST (guide) aligns with the fuel injector seal as shown in the illustration, hold the position for 5 seconds or more to fully seat the fuel injector seal into the direct fuel injector assembly groove.

SST: 09260-39021

09261-03020

NOTICE:

Make sure the fuel injector seal is not pinched between SST (guide) and the edge of the direct fuel injector assembly groove. Replace the fuel injector seal if it becomes damaged.

HINT:

  • Set SST (guide) so that its bottom surface is flush with the fuel injector seal.
  • If it is difficult to slide SST (guide) upward, slowly wiggle it from side to side while sliding it up the direct fuel injector assembly little by little.

*a

SST (Guide)

(f) After installing the fuel injector seals, check that they are not scratched, deformed or protruding from the direct fuel injector assembly groove.

NOTICE:

If a fuel injector seal is scratched, deformed or protruding from the groove, replace it with a new one.

HINT:

Use the same procedure to install the other fuel injector seals.

*a

Normal

*b

Protruding

*c

Deformed

*d

Correct

*e

Incorrect

2. INSTALL DIRECT FUEL INJECTOR ASSEMBLY

HINT:

Perform "Inspection After Repair" after replacing a direct fuel injector assembly.

Click here

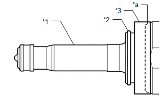
(a) Install a new injector vibration insulator and a new C-ring to each direct fuel injector assembly.

NOTICE:

  • Install the taper of the injector vibration insulator by aligning it with the taper of the direct fuel injector assembly.
  • Check that the C-ring is securely seated in the groove of the direct fuel injector assembly.

*1

Direct Fuel Injector Assembly

*2

C-ring

*3

Injector Vibration Insulator

*a

Taper

(b) Install a new O-ring and a new No. 1 fuel injector back-up ring to each direct fuel injector assembly as shown in the illustration.

*1

No. 1 Fuel Injector Back-up Ring

*2

O-ring

*a

No. 1 Fuel Injector Back-up Ring Opening

*b

Overlapped

*c

Stretched

*d

Correct

*e

Incorrect

-

-

NOTICE:

  • Check that there is no foreign matter or damage on the O-ring groove of the direct fuel injector assembly.
  • Make sure that the No. 1 fuel injector back-up ring is installed in the correct orientation.
  • Make sure that the No. 1 fuel injector back-up ring and O-ring are installed in the correct order.
  • Check that the opening of the No. 1 fuel injector back-up ring is not overlapped or stretched as shown in the illustration.
  • After installing the O-ring, check that it is not contaminated with foreign matter and is not damaged.

(c) With the notch of a new No. 3 fuel injector back-up ring facing downward, install the No. 3 fuel injector back-up ring to each direct fuel injector assembly as shown in the illustration.

NOTICE:

  • Make sure that the No. 3 fuel injector back-up ring is installed in the correct orientation.
  • After installing the No. 3 fuel injector back-up ring, make sure there is no damage or foreign matter.

*1

Direct Fuel Injector Assembly

*2

No. 3 Fuel Injector Back-up Ring

*a

Notch

(d) Install the nozzle holder clamp to each direct fuel injector assembly.

(e) Align the protrusion of the nozzle holder clamp with the positioning hole of the fuel delivery pipe with sensor assembly LH and fuel delivery pipe RH, and insert the direct fuel injector assembly.

*a

Protrusion

*b

Positioning Hole

No Gap

NOTICE:

  • Make sure that there is no foreign matter or damage inside the direct fuel injector assembly installation holes (fuel delivery pipe with sensor assembly LH and fuel delivery pipe RH).
  • Do not allow gasoline to get on the O-rings or inside the installation holes.
  • If it is difficult to insert the direct fuel injector assembly, apply new engine oil to the chamfer of the direct fuel injector assembly installation hole of the fuel delivery pipe with sensor assembly LH and fuel delivery pipe RH. Be careful not to allow the direct fuel injector assembly to fall out of the fuel delivery pipe with sensor assembly LH or fuel delivery pipe RH.
  • Do not tilt the direct fuel injector assembly when inserting it into the fuel delivery pipe with sensor assembly LH and fuel delivery pipe RH.
  • Check that there is no gap between the fuel delivery pipe with sensor assembly LH, fuel delivery pipe RH and the nozzle holder clamp.
  • *a

    QR Code

    *b

    Flow Classification Number

    Make sure the 3 direct fuel injector assemblies of each bank all have the same flow classification number and that the flow classification number is "1, 2, 3" or "6, 7, 8" (it is acceptable for each bank to have a different flow classification number).

3. INSTALL FUEL DELIVERY PIPE RH

(a) Connect the 3 direct fuel injector assembly connectors.

(b) Apply lubricant to the direct fuel injector assembly installation holes of the cylinder head sub-assembly.

(c) Temporarily install the fuel delivery pipe RH to the cylinder head sub-assembly so that the stud bolts protrude enough to install the nuts.

NOTICE:

  • If a direct fuel injector assembly is dropped or the tip of a direct fuel injector assembly is struck, replace it with a new one.
  • Check that there is no foreign matter or damage on the direct fuel injector assembly installation holes of the cylinder head sub-assembly.
  • When installing the fuel delivery pipe RH, push it in evenly without tilting it.

*a

Protruding enough to install nut

(d) Install the fuel delivery pipe RH by uniformly tightening the 2 bolts and 2 nuts in the order shown in the illustration.

Bolt

Nut

Torque:

26 N·m {265 kgf·cm, 19 ft·lbf}

(e) Engage the clamp to connect the No. 6 engine wire to the fuel delivery pipe RH.

(f) Install the bolt.

Torque:

10 N·m {102 kgf·cm, 7 ft·lbf}

4. INSTALL FUEL DELIVERY PIPE WITH SENSOR ASSEMBLY LH

(a) Connect the 3 direct fuel injector assembly connectors.

(b) Apply lubricant to the direct fuel injector assembly installation holes of the cylinder head LH.

(c) Temporarily install the fuel delivery pipe with sensor assembly LH to the cylinder head LH so that the stud bolts protrude enough to install the nuts.

NOTICE:

  • If a direct fuel injector assembly is dropped or the tip of a direct fuel injector assembly is struck, replace it with a new one.
  • Check that there is no foreign matter or damage on the direct fuel injector assembly installation holes of the cylinder head LH.
  • When installing the fuel delivery pipe with sensor assembly LH, push it in evenly without tilting it.

*a

Protruding enough to install nut

(d) Install the fuel delivery pipe with sensor assembly LH by uniformly tightening the 2 bolts and 2 nuts in the order shown in the illustration.

Bolt

Nut

Torque:

26 N·m {265 kgf·cm, 19 ft·lbf}

(e) Engage the clamp to connect the No. 7 engine wire to the fuel delivery pipe with sensor assembly LH.

(f) Install the bolt.

Torque:

10 N·m {102 kgf·cm, 7 ft·lbf}

(g) Connect the fuel pressure sensor connector.

5. INSTALL WIRE HARNESS CLAMP BRACKET

(a) Engage the 2 clamps to install the wire harness clamp bracket.

(b) Connect the No. 6 engine wire connector and No. 7 engine wire connector.

6. INSTALL NO. 2 FUEL PIPE SUB-ASSEMBLY

(a) Temporarily install the No. 2 fuel pipe sub-assembly to the fuel delivery pipe with sensor assembly LH and fuel delivery pipe RH and tighten the 2 union nuts by hand.

(b) Using a 17 mm union nut wrench, tighten the 2 union nuts of the No. 2 fuel pipe sub-assembly.

Torque:

Specified tightening torque :

35 N·m {357 kgf·cm, 26 ft·lbf}

NOTICE:

  • If the 2 union nuts cannot be fastened, loosen the nuts of the fuel delivery pipe with sensor assembly LH and fuel delivery pipe RH, and then fasten both union nuts.
  • Do not adjust the torque in the loosening direction.

HINT:

  • Calculate the torque wrench reading when changing the fulcrum length of the torque wrench.

    Click here

  • When using a 17 mm union nut wrench (fulcrum length of 30 mm (1.18 in.)) + torque wrench (fulcrum length of 180 mm (7.09 in.)): 30 N*m (306 kgf*cm, 22 ft.*lbf)
  • This torque value is effective when the union nut wrench is parallel to the torque wrench.
  • Install the union nut wrench parallel with the torque wrench.

*a

17 mm Union Nut Wrench

*b

Torque Wrench Fulcrum Length

7. INSTALL FUEL PUMP ASSEMBLY (for High Pressure)

Click here

8. PERFORM INITIALIZATION

(a) Perform "Inspection After Repair" after replacing a direct fuel injector assembly.

Click here

READ NEXT:

 Fuel Injector (for Port Injection)

 Components

COMPONENTS ILLUSTRATION *1 FUEL DELIVERY PIPE WITH SENSOR ASSEMBLY *2 PORT FUEL INJECTOR ASSEMBLY *3 FUEL TUBE SUB-ASSEMBLY *4 INJECTOR VIBRATION INSULATOR *5 NO. 1 DELIVERY

 Removal

REMOVAL CAUTION / NOTICE / HINT The necessary procedures (adjustment, calibration, initialization or registration) that must be performed after parts are removed and installed, or replaced during port

SEE MORE:

 Millimeter Wave Radar Sensor Communication Stop Mode

DESCRIPTION Detection Item Symptom Trouble Area Millimeter Wave Radar Sensor Communication Stop Mode Any of the following conditions are met: Communication stop for "Front Radar" is indicated on the "Communication Bus Check" screen of the Techstream. Click here Communication st

 Hybrid/EV Battery Energy Control Module Hybrid/EV Battery Monitor Performance (P0E2D00)

DESCRIPTION The battery ECU assembly detects the voltage of each HV battery cell. The battery ECU assembly monitors its internal HV battery cell voltage detection circuits to detect malfunctions. If the battery ECU assembly detects a malfunction it will store this DTC. HINT: If this DTC is output, i

© 2016-2025 Copyright www.lexguide.net