Lexus ES manuals

Lexus ES: Inspection

INSPECTION

PROCEDURE

1. INSPECT PORT FUEL INJECTOR ASSEMBLY

(a) Check the resistance.

(1) Measure the resistance according to the value(s) in the table below.

Standard Resistance:

Tester Connection

Condition

Specified Condition

1 - 2

20°C (68°F)

11.6 to 12.4 Ω

If the result is not as specified, replace the port fuel injector assembly.

*a

Component without harness connected

(Port Fuel Injector Assembly)

(b) Check the operation.

CAUTION:

Perform the inspection in a well-ventilated area.

Do not perform the inspection near an open flame.

(1) Open the cover of the EFI fuel pipe clamp and remove the EFI fuel pipe clamp from the fuel tube connector.

Open

Pull

(2) Disconnect the fuel tube sub-assembly.

Click here

(3) Connect SST (fuel tube connector) to SST (hose) with SST (hose band), and then connect them to the fuel pipe (vehicle side).

SST: 09268-31015

09268-41500

09268-41700

95336-08070

NOTICE:

Make sure the SST (fuel tube connector) O-rings are not damaged and are free of foreign matter as they are used to seal the connections between the fuel tube connector and fuel pipe.

*a

SST (Hose)

*b

SST (Hose Band)

*c

SST (Fuel Tube Connector)

*d

Fuel Pipe (Vehicle Side)

(4) Apply a light coat of gasoline to a new O-ring, and then install the O-ring to the port fuel injector assembly.

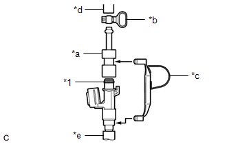
(5) Connect SST (adapter) and SST (hose) to the port fuel injector assembly, and hold the port fuel injector assembly and union with SST (clamp).

SST: 09268-31015

09268-41410

09268-41600

09268-41700

95336-08070

*1

O-ring

*a

SST (Adapter)

*b

SST (Hose Band)

*c

SST (Clamp)

*d

SST (Hose)

*e

Vinyl Tube

(6) Install a vinyl tube to the port fuel injector assembly.

CAUTION:

Install a suitable vinyl tube to the port fuel injector assembly to prevent fuel from spraying.

(7) Tie SST (clamp) and SST (adapter) together with SST (tie band) as shown in the illustration.

SST: 09268-31015

09268-41800

NOTICE:

  • As SST (tie band) does not completely prevent SST (clamp) from becoming loose, do not subject the parts to any impacts while using them.
  • Before using SST (tie band), make sure that there is no wear, damage or cracks. If there are any abnormalities, replace SST (tie band).

HINT:

When removing SST (tie band), disengage the lock.

*a

Lock

*b

SST (Tie Band)

*c

SST (Adapter)

*d

SST (Clamp)

(8) Check that SST (clamp) and SST (adapter) cannot be easily separated.

(9) Set the port fuel injector assembly into a graduated cylinder.

(10) Connect the Techstream to the DLC3.

(11) Turn the engine switch on (IG).

NOTICE:

Do not start the engine.

(12) Turn the Techstream on.

(13) Enter the following menus: Powertrain / Engine / Active Test / Activate the Circuit Relay.

Powertrain > Engine > Active Test

Tester Display

Activate the Circuit Relay

(14) Connect SST (EFI inspection wire K) to the port fuel injector assembly and battery for 15 seconds, and measure the injection volume with the graduated cylinder. Test each port fuel injector assembly 2 or 3 times.

SST: 09842-30110

Standard Injection Volume:

Battery Connection

Condition

Specified Condition

Positive (+) battery terminal - Negative (-) battery terminal

Per 15 seconds

67 to 81 cc (4.1 to 4.9 cu.in.)

Difference between Each Port Fuel Injector Assembly:

14 cc (0.9 cu.in.) or less

NOTICE:

  • Make sure that SST (EFI inspection wire K) is securely connected.
  • Always switch the voltage on and off at the battery side, not the port fuel injector assembly side.

If the result is not as specified, replace the port fuel injector assembly.

*a

SST (EFI Inspection Wire K)

(c) Check for leaks.

(1) Disconnect SST (EFI inspection wire K) from the battery and check for fuel leaks from the port fuel injector assembly.

Standard Fuel Drop:

1 drop or less per 20 minutes

If the result is not as specified, replace the port fuel injector assembly.

(2) Connect the fuel tube sub-assembly.

Click here

(3) Install the EFI fuel pipe clamp to the fuel tube connector and close the cover of the EFI fuel pipe clamp.

READ NEXT:

 Installation

INSTALLATION CAUTION / NOTICE / HINT NOTICE: This procedure includes the installation of small-head bolts. Refer to Small-Head Bolts of Basic Repair Hint to identify the small-head bolts. Click here

 Fuel Main Valve

ComponentsCOMPONENTS ILLUSTRATION *1 FUEL SUCTION TUBE WITH PUMP AND GAUGE ASSEMBLY *2 FUEL MAIN VALVE ASSEMBLY *3 FUEL PRESSURE REGULATOR HOLDER *4 O-RING ● Non-reusable

 Fuel Pressure Sensor

ComponentsCOMPONENTS ILLUSTRATION *1 NO. 2 FUEL PRESSURE SENSOR *2 NO. 2 FUEL PRESSURE SENSOR HOLDER *3 O-RING - - Tightening torque for "Major areas involving basic vehicl

SEE MORE:

 Hybrid/EV Battery Negative Contactor Circuit Short to Ground (P0ADD11)

DESCRIPTION Refer to the description for DTC P0AE411. Click here DTC No. Detection Item DTC Detection Condition Trouble Area MIL Warning Indicate P0ADD11 Hybrid/EV Battery Negative Contactor Circuit Short to Ground Short to ground in the SMRG circuit: Primary circuit of SMR (-

 Hybrid/EV Battery Energy Control Module A/D Processing Circuit Voltage Below Threshold (P060B16)

DESCRIPTION The battery ECU assembly monitors its internal operation and will store these DTCs when it detects an internal malfunction. DTC No. Detection Item DTC Detection Condition Trouble Area MIL Warning Indicate P060B16 Hybrid/EV Battery Energy Control Module A/D Processing C

© 2016-2025 Copyright www.lexguide.net