Lexus ES manuals

Lexus ES: Charging

CHARGING

CAUTION / NOTICE / HINT

The necessary procedures (adjustment, calibration, initialization or registration) that must be performed after parts are removed and installed, or replaced when charging the HV battery are shown below.

Necessary Procedures After Parts Removed/Installed/Replaced

Replaced Part or Performed Procedure

Necessary Procedure

Effect/Inoperative Function when Necessary Procedure not Performed

Link

*: When performing learning using the Techstream.

Click here

Auxiliary battery terminal is disconnected/reconnected

Perform steering sensor zero point calibration

Lane Control System

Pre-collision System

Parking Support Brake System*

Lighting System

Memorize steering angle neutral point

Parking assist monitor system

Panoramic view monitor system

Initialize power trunk lid system

Power Trunk Lid System

CAUTION:

  • Orange wire harnesses and connectors indicate high-voltage circuits. To prevent electric shock, always follow the procedure described in the repair manual.

    Click here

  • To prevent electric shock, wear insulated gloves when working on wire harnesses and components of the high voltage system.

NOTICE:

  • After the power switch is turned off, the radio receiver assembly records various types of memory and settings. As a result, after turning the power switch off, make sure to wait at least 85 seconds before disconnecting the cable from the negative (-) auxiliary battery terminal. (for Audio and Visual System)
  • After the power switch is turned off, the radio receiver assembly records various types of memory and settings. As a result, after turning the power switch off, make sure to wait at least 85 seconds before disconnecting the cable from the negative (-) auxiliary battery terminal. (for Navigation System)

PROCEDURE

1. INSPECT AUXILIARY BATTERY VOLTAGE

(a) Measure the auxiliary battery voltage.

Standard Voltage:

Approximately 11 V or more

HINT:

  • The horn should sound clearly.
  • If the voltage is 10 V or less, either charge the auxiliary battery (charging usually takes about 1 hour), or replace it with an auxiliary battery that is already charged.

2. PREPARATION FOR HV BATTERY CHARGING

CAUTION:

  • The hybrid system has high-voltage circuits. Accidents, such as electric shock, or electric leaks may result if the hybrid system is not operated in a correct manner. Make sure to follow the correct procedure.

    Click here

  • Be sure to wear insulated gloves.

HINT:

  • Removing the service plug grip interrupts the high voltage circuit.
  • High voltage wiring connectors are orange.

(a) Check the charge level of the HV battery.

(1) If the hybrid system fails to start and "Traction Battery Needs to be Protected Shift into P to Restart" or "Traction Battery Needs to be Protected Refrain From the Use of N Position" is displayed on the multi-information display, the HV battery may be discharged.

(2) Confirm if the engine starts. If the engine starts, leave it idling with the shift lever in P until the engine stops (self charge has completed).

If the engine cannot start, charge the HV battery.

HINT:

  • Before performing external charging, always use the Techstream to perform troubleshooting.
  • Charging time using the THS charger is 10 minutes per charge cycle. The charging time when using a THS charger is a short charging time (when the HV battery temperature is 25°C (77°F), 10 minutes may be sufficient, if the HV battery temperature is 0°C (32°F), then three 10 minute charge cycles may be required) for putting the engine in a condition where it can be started (the system can enter the READY-on state). (The THS charger will automatically stop 10 minutes after charging starts.)

(b) Remove the service plug grip.

Click here

(c) Check the terminal voltage.

(1) Disconnect the engine room main wire.

Click here

(2) Remove the connector cover assembly.

Click here

(3) Check the terminal voltage.

Click here

(4) Install the connector cover assembly.

Click here

(5) Connect the engine room main wire.

Click here

(d) Remove the rear seat cushion assembly.

Click here

(e) Remove the rear seat cushion lock hook.

Click here

(f) Remove the rear door scuff plate LH.

Click here

(g) Remove the rear under side cover LH.

Click here

(h) Remove the rear door scuff plate RH.

HINT:

Use the same procedure as for the LH side.

(i) Remove the rear under side cover RH.

Click here

(j) Remove the rear under cover.

Click here

(k) Remove the rear seat cushion leg sub-assembly.

Click here

(l) Remove the No. 1 HV battery cover panel RH.

Click here

(m) Disconnect the HV floor under wire.

(1) Disconnect the 2 HV battery junction block assembly connectors.

NOTICE:

Insulate each disconnected high-voltage connector with insulating tape. Wrap the connector from the wire harness side to the end of the connector.

*a

Shield Ground

(2) Disconnect the shield ground from the HV battery.

(n) Inspect the electrical insulation of the HV battery.

(1) Using a megohmmeter set to 500 V, measure the resistance according to the value(s) in the table below.

NOTICE:

Be sure to set the megohmmeter to 500 V when performing this test. Using a setting higher than 500 V can result in damage to the component being inspected.

Standard Resistance:

Tester Connection

Condition

Specified Condition

1 - Body ground

Power switch off

10 MΩ or higher

2 - Body ground

Power switch off

10 MΩ or higher

*a

Service Plug Grip Removed

(Service Plug Grip Connecting Terminals)

(2) Using a megohmmeter set to 500 V, measure the resistance according to the value(s) in the table below.

NOTICE:

Be sure to set the megohmmeter to 500 V when performing this test. Using a setting higher than 500 V can result in damage to the component being inspected.

Standard Resistance:

Tester Connection

Condition

Specified Condition

s2-1 (CBI) - Body ground

Power switch off

10 MΩ or higher

s3-1 (CEI) - Body ground

Power switch off

10 MΩ or higher

*a

Component without harness connected

(HV Battery Junction Block Assembly)

(o) Connect the THS charger in the order shown in the illustration.

*1

HV Battery

*2

HV Floor Under Wire

*3

Inverter with Converter Assembly

*4

No. 1 HV Battery Cover Panel RH

*a

EV Bonding Cable (Green Cable)

*b

Low Voltage Cable

*c

High Voltage Cable

*d

Power Input Plug

*e

Grounded AC 100 to 240 V Receptacle

*f

THS Charger

NOTICE:

Connect all of the THS charger cables in the order shown in the illustration to prevent electrical shock.

(p) Connect the 2 SST (high voltage cable) connectors to the HV battery junction block assembly.

SST: 09882-10090

(q) Temporarily install the No. 1 HV battery cover panel RH with the bolt and nut.

Torque:

7.5 N·m {76 kgf·cm, 66 in·lbf}

NOTICE:

Be careful not to pinch SST (high voltage cable).

(r) Connect the SST (high voltage cable) terminal to the position shown in the illustration with the nut.

Torque:

7.5 N·m {76 kgf·cm, 66 in·lbf}

(s) Connect the SST (EV bonding cable (green cable)) terminal to the position shown in the illustration with the nut.

SST: 09882-10070

Torque:

7.5 N·m {76 kgf·cm, 66 in·lbf}

(t) Connect the SST (EV bonding cable (green cable)) terminal to SST (THS charger).

SST: 09880-10021

09881-10041

*a

EV Bonding Cable (Green Cable)

*b

THS Charger

(u) Connect the SST (low voltage cable) terminal to the position shown in the illustration with the bolt.

Torque:

7.5 N·m {76 kgf·cm, 66 in·lbf}

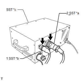
(v) Connect SST (low voltage cable) and SST (high voltage cable) to SST (THS charger) in the order shown in the illustration.

*a

Low Voltage Cable

*b

High Voltage Cable

*c

THS Charger

*d

Power Input Plug

(w) Install the service plug grip.

Click here

(x) Connect the cable to the negative (-) auxiliary battery terminal.

Click here

(y) Connect SST (power input plug) of SST (THS charger) to a grounded AC 100 to 240 V receptacle.

SST: 09881-10081

SST: 09881-10090

SST: 09881-10050

NOTICE:

Always use an AC 100 to 240 V receptacle with a properly functioning ground. The ground is designed to reduce the chance of electric shock if a malfunction occurs. Do not use the charger if any of the pins on its plug have been damaged or removed.

3. HV BATTERY CHARGING

(a) Connect the Techstream to the DLC3.

(b) Turn the power switch on (IG).

(c) Enter the following menus: Powertrain / Hybrid Control / Active Test / Hybrid Battery Charge.

Powertrain > Hybrid Control > Active Test

Tester Display

Hybrid Battery Charge

HINT:

  • While performing the "Battery Charge" Active Test, check the Data List items "System Main Relay Status - SMRB" and "System Main Relay Status - SMRG".
  • If the values of the Data List items are not as specified in the table below, turn the Techstream and the power switch off and then perform the HV battery charging procedure again.

"System Main Relay Status - SMRB" and "System Main Relay Status - SMRG" in Data List during "Battery Charge" Active Test:

Step

Active Test

"Battery Charge"

THS charger START

Switch

Data List

"System Main Relay Status - SMRB"

Data List

"System Main Relay Status - SMRG"

1

OFF

OFF

OFF

OFF

2

OFF → ON

OFF

OFF → ON

OFF → ON

3

ON

OFF → ON

ON

ON

(d) Make sure that the EMERGENCY STOP switch is in the reset condition (the switch is turned clockwise and released).

(e) Make sure that the BREAKER is in the ON position.

(f) Turn the THS charger MAIN switch on.

HINT:

The MAIN indicator will illuminate (green).

(g) Press the START switch.

HINT:

  • When the START switch is turned on, the INITIAL CHECK indicator illuminates and an initial check starts. When the initial check completes successfully, the INITIAL CHECK indicator turns off, the CHARGING indicator illuminates and charging will start at the same time.
  • While the INITIAL CHECK indicator is illuminated, the insulation, 400 V output, emergency stop switch, connector connections and ground connection are inspected.

(h) Repeat the charge cycle 3 times. When the last cycle has finished, turn the THS charger MAIN switch off.

HINT:

  • Charging time using the THS charger is 10 minutes per charge cycle. The charging time when using a THS charger is a short charging time (when the battery temperature is 25°C (77°F), 10 minutes may be sufficient, if the battery temperature is 0°C (32°F), then three 10 minute charge cycles may be required) for putting the engine in a condition where it can be started (the system can enter the READY-on state). (The THS charger will automatically stop 10 minutes after charging starts.)
  • There is very little chance of overcharging the HV battery during the second or third charging cycle. The SOC will not likely increase beyond the upper limit because it was low enough to prevent the engine from starting. Even if the SOC was to increase enough to exceed the limit, the hybrid vehicle control ECU will stop the Active Test to prevent overcharging.
  • Cranking the engine once causes the SOC to drop approximately 1%.
  • Charging the HV battery once (10 minutes) using the THS charger restores the SOC approximately 2%.

(i) Turn the power switch off.

(j) Remove the THS charger and connect the HV floor under wire (for HV Battery).

(1) Disconnect SST (power inlet plug) of SST (THS charger) from the grounded AC 100 to 240 V receptacle.

(2) Disconnect the cable from the negative (-) auxiliary battery terminal.

Click here

(3) Remove the service plug grip.

Click here

(4) Disconnect SST (high voltage cable) and SST (low voltage cable) from SST (THS charger) in the order shown in the illustration.

*a

Low Voltage Cable

*b

High Voltage Cable

*c

THS Charger

(5) Remove the bolt and disconnect the SST (low voltage cable) terminal.

(6) Disconnect the SST (EV bonding cable (green cable)) terminal from SST (THS charger).

*a

EV Bonding Cable (Green Cable)

*b

THS Charger

(7) Remove the nut and disconnect the SST (EV bonding cable (green cable)) terminal.

(8) Remove the nut and disconnect the SST (high voltage cable) terminal.

(9) Remove the bolt, nut and No. 1 HV battery cover panel RH.

(10) Disconnect the 2 SST (high voltage cable) connectors from the HV battery junction block assembly.

(11) Connect the shield ground to the HV battery.

(12) Connect the 2 HV battery junction block assembly connectors.

NOTICE:

Make sure that the connectors are connected securely.

(13) Install the No. 1 HV battery cover panel RH.

Click here

(14) Install the service plug grip.

Click here

(k) Connect the cable to the negative (-) auxiliary battery terminal.

Click here

(l) Turn the power switch on (READY) and check if the engine starts.

HINT:

If the engine does not start, perform the HV battery charging operation again.

(m) Install the rear seat cushion leg sub-assembly.

Click here

(n) Install the rear under cover.

Click here

(o) Install the rear under side cover LH.

Click here

(p) Install the rear door scuff plate LH.

Click here

(q) Install the rear under side cover RH.

Click here

(r) Install the rear door scuff plate RH.

HINT:

Use the same procedure as for the LH side.

(s) Install the rear seat cushion lock hook.

Click here

(t) Install the rear seat cushion assembly.

Click here

(u) Install the battery service hole cover.

Click here

4. CHECK HV BATTERY AFTER HV BATTERY CHARGE

(a) Check for DTCs.

Click here

(b) Perform the self-charging operation.

(1) Start the engine and leave it idling with the shift lever in P until the engine stops.

HINT:

When the engine stops idling, this indicates that self-charging is complete. Perform any initialization procedures required after the negative (-) terminal of the auxiliary battery is disconnected and reconnected.

READ NEXT:

 Hv Battery Stack (for Lithium-ion Battery)

 Components

COMPONENTS ILLUSTRATION *1 BATTERY ECU ASSEMBLY *2 UPPER HV BATTERY COVER SUB-ASSEMBLY *3 NO. 1 HV BATTERY HOSE - - N*m (kgf*cm, ft.*lbf): Specified torque - - ILLUST

 Basic Inspection

DESCRIPTION When replacing the No. 1 HV supply stack sub-assembly or No. 2 HV supply stack sub-assembly, it is necessary to check, adjust and equalize the SOC of the HV battery. Otherwise, the engine

SEE MORE:

 Transmission Fluid Temperature Sensor "A" Circuit Short to Battery or Open (P071015)

DESCRIPTION The ATF temperature sensor converts the automatic transaxle fluid (ATF) temperature into a resistance value for use by the ECM. The ECM applies voltage to the temperature sensor through terminal THO1 of the ECM. The sensor resistance changes with the ATF temperature. As the temperature r

 Inspection

INSPECTION PROCEDURE 1. INSPECT FUEL PRESSURE SENSOR (FUEL DELIVERY PIPE WITH SENSOR ASSEMBLY LH) NOTICE: Do not remove the fuel pressure sensor from the fuel delivery pipe with sensor assembly LH. If the fuel pressure sensor is removed, replace the fuel pressure sensor (fuel delivery pipe with

© 2016-2025 Copyright www.lexguide.net