Lexus ES manuals

Lexus ES: Thermostat

Components

COMPONENTS

ILLUSTRATION

*1

NO. 2 RADIATOR HOSE

*2

WATER INLET WITH THERMOSTAT SUB-ASSEMBLY

*3

GASKET

*4

NO. 7 WATER BY-PASS HOSE

N*m (kgf*cm, ft.*lbf): Specified torque

Non-reusable part

Inspection

INSPECTION

PROCEDURE

1. INSPECT WATER INLET WITH THERMOSTAT SUB-ASSEMBLY

CAUTION:

  • Do not put your hands into the water that has been heated for the inspection.
  • Touching the heated water could result in burns.

HINT:

The valve opening temperature is inscribed on the water inlet with thermostat sub-assembly.

(a) Immerse the water inlet with thermostat sub-assembly in water and then gradually heat the water.

NOTICE:

Do not allow any water to come into contact with the connector of the water inlet with thermostat sub-assembly.

(b) Check that the valve of the water inlet with thermostat sub-assembly opens at the specified temperature.

Standard Valve Opening Temperature:

80 to 84°C (176 to 183°F)

If the result is not as specified, replace the water inlet with thermostat sub-assembly.

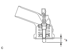
(c) Check the valve lift.

Standard Valve Lift:

8.0 mm (0.315 in.) or more at 95°C (203°F)

If the result is not as specified, replace the water inlet with thermostat sub-assembly.

*a

Valve Lift

(d) Check that the valve is fully closed when the water inlet with thermostat sub-assembly is at low temperatures (below 72°C (162°F)).

If it is not fully closed, replace the water inlet with thermostat sub-assembly.

(e) Measure the resistance according to the value(s) in the table below.

Standard Resistance:

Tester Connection

Condition

Specified Condition

1 - 2

Always

10.6 to 14.2 Ω

If the result is not as specified, replace the water inlet with thermostat sub-assembly.

Installation

INSTALLATION

CAUTION / NOTICE / HINT

NOTICE:

This procedure includes the installation of small-head bolts. Refer to Small-Head Bolts of Basic Repair Hint to identify the small-head bolts.

Click here

PROCEDURE

1. INSTALL WATER INLET WITH THERMOSTAT SUB-ASSEMBLY

(a) Install a new gasket to the water inlet with thermostat sub-assembly.

HINT:

Be sure to clean the contact surfaces.

(b) Using an 8 mm socket wrench, install the water inlet with thermostat sub-assembly with the 2 bolts.

Torque:

10 N·m {102 kgf·cm, 7 ft·lbf}

(c) Connect the No. 7 water by-pass hose to the water inlet with thermostat sub-assembly and slide the clip to secure it.

(d) Connect the water inlet with thermostat sub-assembly connector.

2. CONNECT NO. 2 RADIATOR HOSE

Click here

3. INSTALL GENERATOR ASSEMBLY

Click here

4. ADD ENGINE COOLANT

Click here

5. INSPECT FOR COOLANT LEAK

Click here

READ NEXT:

 Water Pump

ComponentsCOMPONENTS ILLUSTRATION *1 ENGINE WATER PUMP ASSEMBLY (WATER INLET HOUSING) *2 GASKET *3 STUD BOLT - - N*m (kgf*cm, ft.*lbf): Specified torque ● Non-reusabl

 A25a-fks (emission Control)

 Canister

SEE MORE:

 Internal Control Module Software Incompatibility Not Programmed (U030051)

DESCRIPTION If the forward recognition camera cannot verify the vehicle information sent from the hybrid vehicle control ECU, the forward recognition camera stores DTC U030051. DTC No. Detection Item DTC Detection Condition Trouble Area MIL DTC Output from U030051 Internal Control

 Problem Symptoms Table

PROBLEM SYMPTOMS TABLE HINT: Use the table below to help determine the cause of problem symptoms. If multiple suspected areas are listed, the potential causes of the symptoms are listed in order of probability in the "Suspected Area" column of the table. Check each symptom by checking the suspect

© 2016-2025 Copyright www.lexguide.net