Lexus ES manuals

Lexus ES: Removal

REMOVAL

CAUTION / NOTICE / HINT

The necessary procedures (adjustment, calibration, initialization or registration) that must be performed after parts are removed and installed, or replaced during back window glass sub-assembly removal/installation are shown below.

Necessary Procedure After Parts Removed/Installed/Replaced (for HV Model)

Replaced Part or Performed Procedure

Necessary Procedure

Effect/Inoperative Function when Necessary Procedure not Performed

Link

*: When performing learning using the Techstream.

Click here

Disconnect cable from negative (-) auxiliary battery terminal

Perform steering sensor zero point calibration

Lane Control System (for HV Model)

Pre-collision System (for HV Model)

Parking Support Brake System (for HV Model)*

Lighting System (for HV Model)

Memorize steering angle neutral point

Parking Assist Monitor System (for HV Model)

Panoramic View Monitor System (for HV Model)

Initialize power trunk lid system

Power Trunk Lid System (for HV Model)

CAUTION:

Some of these service operations affect the SRS airbag system. Read the precautionary notices concerning the SRS airbag system before servicing.

Click here

NOTICE:

  • After the power switch is turned off, the radio receiver assembly records various types of memory and settings. As a result, after turning the power switch off, make sure to wait at least 85 seconds before disconnecting the cable from the negative (-) auxiliary battery terminal. (for Audio and Visual System)
  • After the power switch is turned off, the radio receiver assembly records various types of memory and settings. As a result, after turning the power switch off, make sure to wait at least 85 seconds before disconnecting the cable from the negative (-) auxiliary battery terminal. (for Navigation System)
Necessary Procedure After Parts Removed/Installed/Replaced (for Gasoline Model)

Replaced Part or Performed Procedure

Necessary Procedure

Effect/Inoperative Function when Necessary Procedure not Performed

Link

*: When performing learning using the Techstream.

Click here

Disconnect cable from negative (-) battery terminal

Perform steering sensor zero point calibration

Lane Control System (for Gasoline Model)

Pre-collision System (for Gasoline Model)

Parking Support Brake System (for Gasoline Model)*

Lighting System (for Gasoline Model)

Memorize steering angle neutral point

Parking Assist Monitor System (for Gasoline Model)

Panoramic View Monitor System (for Gasoline Model)

Initialize power trunk lid system

Power Trunk Lid System (for Gasoline Model)

CAUTION:

Some of these service operations affect the SRS airbag system. Read the precautionary notices concerning the SRS airbag system before servicing.

Click here

NOTICE:

  • After the engine switch is turned off, the radio receiver assembly records various types of memory and settings. As a result, after turning the engine switch off, make sure to wait at least 85 seconds before disconnecting the cable from the negative (-) battery terminal. (for Audio and Visual System)
  • After the engine switch is turned off, the radio receiver assembly records various types of memory and settings. As a result, after turning the engine switch off, make sure to wait at least 85 seconds before disconnecting the cable from the negative (-) battery terminal. (for Navigation System)

PROCEDURE

1. REMOVE ROOF HEADLINING ASSEMBLY

Click here

2. DISCONNECT REAR SEAT OUTER BELT ASSEMBLY LH

Click here

3. DISCONNECT REAR SEAT OUTER BELT ASSEMBLY RH

HINT:

Use the same procedure as for the LH side.

4. REMOVE CENTER STOP LIGHT SET

Click here

5. REMOVE REAR SEAT SHOULDER BELT COVER

Click here

6. REMOVE PACKAGE TRAY TRIM PANEL ASSEMBLY (w/o Rear Sunshade)

Click here

7. REMOVE PACKAGE TRAY TRIM PANEL ASSEMBLY (w/ Rear Sunshade)

Click here

8. REMOVE NO. 2 PACKAGE TRAY TRIM PANEL ASSEMBLY (w/ Rear Sunshade)

Click here

9. REMOVE BACK WINDOW GLASS SUB-ASSEMBLY

(a) Disconnect each connector.

(b) Apply protective tape to the area around the installation position of the back window glass sub-assembly on the vehicle body to prevent it from being scratched.

Protective Tape

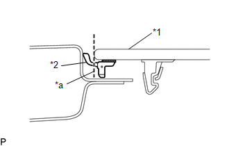
(c) Using a knife, cut off the back window outside moulding as shown in the illustration.

*1

Back Window Glass

*2

Back Window Outside Moulding

*a

Cut

(d) Place matchmarks on the back window glass sub-assembly and vehicle body at the locations indicated in the illustration.

HINT:

Matchmarks are not necessary if the back window glass sub-assembly is not going to be reused.

*a

Matchmark

(e) Pass a piano wire between the vehicle body and back window glass sub-assembly from the interior.

*1

Back Window Glass Stopper

*a

Piano Wire

(f) Tie both wire ends to wooden blocks or similar objects that can serve as handles.

(g) Cut off the adhesive by pulling the piano wire around the back window glass sub-assembly.

NOTICE:

  • When separating the back window glass sub-assembly, be careful not to damage the paint or interior and exterior ornaments.
  • When cutting off the adhesive, take care not to damage the connectors on the back window glass sub-assembly.

(h) Disengage the back window glass stoppers.

*A

for 1-piece Type

*B

for 2-piece Type

*1

No. 1 Back Window Glass Stopper

*2

No. 2 Back Window Glass Stopper

NOTICE:

  • The No. 1 back window glass stoppers and No. 2 back window glass stoppers are installed to the back window glass sub-assembly as shown in the illustration. Be careful not to damage the back window glass sub-assembly when cutting the adhesive.
  • To prevent the back window glass sub-assembly from falling when performing this operation, be sure to hold the back window glass sub-assembly using suction cups.

HINT:

Depending on the vehicle, either 1-piece type or 2-piece type stoppers may be present.

(i) Using suction cups, remove the back window glass sub-assembly.

NOTICE:

  • Be careful not to drop the back window glass sub-assembly.
  • Leave as much adhesive on the vehicle body as possible when removing the back window glass sub-assembly.

10. REMOVE BACK WINDOW GLASS ADHESIVE DAM

(a) When reusing the back window glass:

(1) Using a scraper, remove the back window glass adhesive dam.

NOTICE:

  • Be careful not to damage the back window glass.
  • Be sure to replace the back window glass adhesive dams with new ones.

*A

Back Side

11. REMOVE NO. 1 BACK WINDOW GLASS STOPPER (for 1-piece Type)

(a) When reusing the back window glass:

(1) Using a scraper, remove the 2 No. 1 back window glass stoppers.

NOTICE:

  • Be careful not to damage the back window glass.
  • Be sure to replace the 1-piece type No. 1 back window glass stoppers with new 2-piece type No. 1 and No. 2 back window glass stoppers.

*A

Back Side

12. REMOVE NO. 2 BACK WINDOW GLASS STOPPER (for 2-piece Type)

(a) When reusing the back window glass:

(1) Using a scraper, remove the 2 No. 2 back window glass stoppers.

NOTICE:

  • Be careful not to damage the back window glass.
  • Be sure to replace the No. 2 back window glass stoppers with new ones.

*A

Back Side

13. REMOVE NO. 1 BACK WINDOW GLASS STOPPER (for 2-piece Type)

(a) Remove the 2 No. 1 back window glass stoppers.

NOTICE:

Be sure to replace the No. 1 back window glass stoppers with new ones.

14. CLEAN BACK WINDOW GLASS

(a) When reusing the back window glass:

(1) Using a scraper, remove any remaining adhesive dam and adhesive residue from the back window glass.

NOTICE:

Be careful not to damage the back window glass.

(2) Clean the outer circumference of the back window glass with a non-residue solvent.

NOTICE:

  • Do not touch the back window glass surface after cleaning it.
  • Even if using a new back window glass, clean it with a non-residue solvent.

15. CLEAN VEHICLE BODY

(a) Clean and shape the contact surface of the vehicle body.

(1) Using a knife, cut away excess adhesive on the contact surface of the vehicle body as shown in the illustration.

*a

Vehicle Body

Adhesive

Standard Dimension:

Area

Dimension

a

1.0 mm (0.0394 in.) or more

NOTICE:

Be careful not to damage the vehicle body.

HINT:

Leave approximately 1.0 mm (0.0394 in.) of adhesive on the vehicle body.

(2) Clean the contact surface of the vehicle body with a piece of cloth saturated with non-residue solvent.

HINT:

Even if all of the adhesive has been removed, clean the vehicle body.

READ NEXT:

 Installation

INSTALLATION PROCEDURE 1. INSTALL NO. 1 BACK WINDOW GLASS STOPPER (for 2-piece Type) (a) Install 2 new No. 1 back window glass stoppers to the vehicle body as shown in the illustration. HINT: Only

 Front Passenger Side Power Window Switch

ComponentsCOMPONENTS ILLUSTRATION *1 POWER WINDOW REGULATOR SWITCH ASSEMBLY *2 POWER WINDOW REGULATOR SWITCH ASSEMBLY WITH FRONT DOOR UPPER ARMREST BASE PANEL RemovalREMOVAL PROCEDURE 1

 Power Window Control System (for Gasoline Model)

SEE MORE:

 Hybrid Battery Stack 2 Cell Voltage Detection Voltage Out of Range (P1A001C,P301A1C)

DESCRIPTION The HV battery is composed of 70 cells (3.7 V each) in series. The battery ECU assembly monitors the voltage of each HV battery cell to detect malfunctions of the HV battery. DTC No. Detection Item DTC Detection Condition Trouble Area MIL Warning Indicate P1A001C Hybri

 Indicator (Red) Circuit Short to Ground (B157011,B157013)

DESCRIPTION This DTC is stored when the DCM (telematics transceiver) detects an open or short in the manual (SOS) switch red indicator circuit of the manual (SOS) switch. The manual (SOS) switch red indicator illuminates for 2 seconds and goes off when the engine switch is turned on (IG). If a malfu

© 2016-2025 Copyright www.lexguide.net