Lexus ES manuals

Lexus ES: Reassembly

REASSEMBLY

PROCEDURE

1. INSTALL GENERATOR ROTOR BEARING

(a) Using SST and a press, install a new generator rotor bearing.

SST: 09950-60011

09951-00470

SST: 09950-70010

09951-07100

(b) Fit the tabs of the retainer plate into the cutouts of the generator drive end frame to install the retainer plate.

*a

Tab

*b

Cutout

(c) Install the 4 screws.

Torque:

2.3 N·m {23 kgf·cm, 20 in·lbf}

2. INSTALL GENERATOR ROTOR ASSEMBLY

(a) Place the generator drive end frame on the generator pulley with clutch.

(b) Install the generator rotor assembly to the generator drive end frame.

*1

Generator Rotor Assembly

*2

Generator Drive End Frame

3. INSTALL GENERATOR COIL ASSEMBLY

(a) Place a new washer on the generator rotor assembly.

(b) Using a 21 mm deep socket wrench and press, slowly press in the generator coil assembly.

*a

21 mm Deep Socket Wrench

(c) Install the 4 bolts.

Torque:

5.9 N·m {60 kgf·cm, 52 in·lbf}

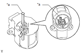
4. INSTALL GENERATOR BRUSH HOLDER ASSEMBLY

(a) While pushing the 2 brushes into the generator brush holder assembly, insert a 1.0 mm (0.0394 in.) pin into the generator brush holder assembly hole.

*a

Pin (1.0 mm)

(b) Install the generator brush holder assembly to the generator coil assembly with the 2 screws.

*a

Pin (1.0 mm)

Pull out

Torque:

1.8 N·m {18 kgf·cm, 16 in·lbf}

(c) Pull out the pin from the generator brush holder assembly hole.

5. INSTALL GENERATOR TERMINAL INSULATOR

(a) Install the generator terminal insulator to the generator coil assembly.

NOTICE:

Be sure to install the generator terminal insulator in the correct orientation.

6. INSTALL GENERATOR REAR END COVER

(a) Install the generator rear end cover to the generator coil assembly with the 3 nuts.

Torque:

4.6 N·m {47 kgf·cm, 41 in·lbf}

7. INSTALL GENERATOR PULLEY WITH CLUTCH

(a) Secure the generator drive end frame in a vise between aluminum plates.

(b) Temporarily install a new generator pulley with clutch to the rotor shaft.

(c) Install SST (A) to SST (B) as shown in the illustration.

SST: 09820-63021

(d) Fit the rotor shaft end into SST (A).

*a

Rotor Shaft

(e) Fit SST (B) to the generator pulley with clutch.

*1

Generator Pulley with Clutch

(f) Tighten the generator pulley with clutch by turning SST (B) as shown in the illustration.

Torque:

Specified tightening torque :

80 N·m {816 kgf·cm, 59 ft·lbf}

NOTICE:

  • Check that the generator drive end frame is secured in the vise tightly.
  • Hold SST (A) tightly during the operation.

HINT:

  • Calculate the torque wrench reading when changing the fulcrum length of the torque wrench.

    Click here

  • When using SST (fulcrum length of 100 mm (3.94 in.)) + torque wrench (fulcrum length of 400 mm (1.312 ft.)): 64 N*m (653 kgf*cm, 47 ft.*lbf)

*a

Torque Wrench Fulcrum Length

*b

Turn

*c

Hold

(g) Remove SST (A) and (B) from the generator pulley with clutch.

(h) Check that the generator pulley with clutch rotates smoothly.

(i) Remove the generator drive end frame from the vise.

8. INSTALL GENERATOR PULLEY CAP

(a) Install a new generator pulley cap to the generator pulley with clutch.

READ NEXT:

 Inspection

INSPECTION PROCEDURE 1. INSPECT GENERATOR BRUSH HOLDER ASSEMBLY (a) Using a vernier caliper, measure the length of the exposed brushes. Standard Exposed Brush Length: 9.5 to 11.5 mm (0.374 to 0.45

 Disassembly

DISASSEMBLY PROCEDURE 1. REMOVE GENERATOR PULLEY CAP (a) Remove the generator pulley cap from the generator pulley with clutch. NOTICE: Do not reuse the generator pulley cap. If the generato

 On-vehicle Inspection

ON-VEHICLE INSPECTION CAUTION / NOTICE / HINT NOTICE: Do not remove the generator pulley cap. If the generator pulley cap is removed, replace the generator pulley cap and generator pulley with cl

SEE MORE:

 Wheel Speed Sensor Malfunction (C164D)

DESCRIPTION This DTC is stored when the parking assist ECU receives a wheel speed sensor (front speed sensor RH or front speed sensor LH, rear speed sensor RH or rear speed sensor LH) abnormality signal from the electronically controlled brake system via CAN communication. This DTC is stored wh

 On-vehicle Inspection

ON-VEHICLE INSPECTION PROCEDURE 1. INSPECT BRAKE FLUID LEVEL IN RESERVOIR (a) Check the fluid level. Brake Fluid: SAE J1703 or FMVSS No. 116 DOT3 SAE J1704 or FMVSS No. 116 DOT4 NOTICE: If using a dropper to adjust the fluid amount, make sure that the dropper has not been used with mineral oils,

© 2016-2025 Copyright www.lexguide.net