Lexus ES manuals

Lexus ES: Installation

INSTALLATION

PROCEDURE

1. INSTALL STOP LIGHT SWITCH ASSEMBLY

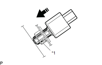
(a) Insert the stop light switch assembly until the threaded sleeve hits the pedal as shown in the illustration.

*1

Stop Light Switch Mounting Adjuster

Insert in this Direction

NOTICE:

When inserting the stop light switch assembly, support the pedal from behind so that the pedal is not pushed in.

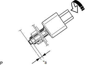
(b) Turn the stop light switch assembly 1/4 turn clockwise as shown in the illustration to install it.

*a

Protrusion of the Plunger

Turn in this Direction

Torque:

1.5 N·m {15 kgf·cm, 13 in·lbf}

or less

(c) Connect the connector.

(d) Check the protrusion of the plunger.

Protrusion of the Plunger

Area

Measurement

a

0.5 to 2.6 mm (0.0197 to 0.102 in.)

(e) If the protrusion is not as specified, recheck the stop light switch assembly installation and perform brake pedal adjustment if necessary.

for Gasoline Model:

Click here

for HV Model:

Click here

NOTICE:

Do not depress or support the brake pedal.

2. INSTALL NO. 1 INSTRUMENT PANEL UNDER COVER SUB-ASSEMBLY

Click here

READ NEXT:

 Switch Housing

 Components

COMPONENTS ILLUSTRATION *A for Power Tilt and Power Telescopic Steering Column - - *1 STEERING WHEEL SWITCH HOUSING *2 TILT AND TELESCOPIC SWITCH *3 TURN SIGNAL SWITCH *4

 Removal

REMOVAL CAUTION / NOTICE / HINT The necessary procedures (adjustment, calibration, initialization, or registration) that must be performed after parts are removed, installed, or replaced during the st

SEE MORE:

 Torque Converter Clutch Pressure Control Solenoid Control Actuator Stuck Off (P27567F)

DESCRIPTION The ECM controls the solenoid (SLU) valve using a predetermined current, and performs lock-up and flex lock-up control. The ECM compares the engagement condition of the lock-up clutch with the lock-up schedule in the ECM memory to detect mechanical malfunctions of the solenoid (SLU) valv

 Motor Shutdown Stuck Off (P1C6A9F)

DTC SUMMARY MALFUNCTION DESCRIPTION The hybrid vehicle control ECU detects malfunctions which prevent the motor (MG2) inverter shutdown circuit shutting down the hybrid vehicle control system. Detection is performed during the shutdown sequence when the power switch is turned off. If motor (MG2) inv

© 2016-2026 Copyright www.lexguide.net