Lexus ES manuals

Lexus ES: Installation

INSTALLATION

CAUTION / NOTICE / HINT

HINT:

  • Use the same procedure for the RH side and LH side.
  • The following procedure is for the LH side.

PROCEDURE

1. INSTALL REAR SUSPENSION SUPPORT ASSEMBLY

(a) Secure the rear suspension support assembly in a vise using aluminum plates.

NOTICE:

Do not overtighten the vise.

(b) Install the rear suspension support assembly to the rear shock absorber assembly.

(c) Apply a few drops of adhesive to the threads of a new rear support to rear shock absorber nut.

Adhesive:

Toyota Genuine Adhesive 1324, Three Bond 1324 or equivalent

NOTICE:

Only apply adhesive to the nut if it is not supplied as a precoated part.

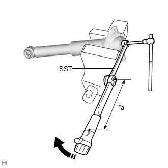
(d) Using SST and a 6 mm hexagon socket wrench, hold the rear shock absorber rod and tighten the rear support to rear shock absorber nut.

SST: 09729-00170

Torque:

Specified tightening torque :

25 N·m {255 kgf·cm, 18 ft·lbf}

NOTICE:

Securely insert the 6 mm hexagon socket wrench into the rear shock absorber rod to prevent damage to the rear shock absorber assembly when tightening the rear support to rear shock absorber nut.

HINT:

  • Calculate the torque wrench reading when changing the fulcrum length of the torque wrench.

    Click here

  • When using SST (fulcrum length of 200 mm (7.87 in.)) + torque wrench (fulcrum length of 162 mm (6.38 in.)):

    11 N*m (112 kgf*cm, 8 ft.*lbf)

*a

Torque Wrench Fulcrum Length

2. INSTALL REAR SHOCK ABSORBER CAP

(a) Install the rear shock absorber cap to the rear shock absorber assembly.

3. TEMPORARILY INSTALL REAR SHOCK ABSORBER ASSEMBLY

(a) Temporarily install the rear shock absorber assembly to the rear axle carrier sub-assembly with the nut and plate washer.

NOTICE:

Hold the rear axle carrier pin while rotating the nut.

*1

Rear Axle Carrier Pin

4. STABILIZE SUSPENSION

(a) Using a jack and wooden block, apply load to the suspension so that the rear No. 2 suspension arm assembly is positioned as shown in the illustration.

Standard Length (A):

for 2WD

13 mm (0.512 in.)

for AWD

2 mm (0.0787 in.)

CAUTION:

Do not jack up the rear No. 2 suspension arm assembly too high as the vehicle may fall.

NOTICE:

  • When jacking up the rear No. 2 suspension arm assembly, be sure to jack it up slowly.
  • Make sure to perform this operation with the vehicle kept as low as possible.

*a

Wooden Block

*b

Jack

Wooden Block Placement Location

5. INSTALL REAR UPPER CONTROL ARM ASSEMBLY

(a) Install the rear upper control arm assembly to the rear axle carrier sub-assembly with the bolt and nut.

Torque:

73 N·m {744 kgf·cm, 54 ft·lbf}

NOTICE:

  • Insert the bolt with the threaded end facing the rear of the vehicle.
  • Because the nut has its own stopper, do not turn the nut. Tighten the bolt with the nut secured.

6. CONNECT REAR SHOCK ABSORBER ASSEMBLY

(a) Connect the rear shock absorber assembly to the vehicle with the 2 bolts.

Torque:

55 N·m {561 kgf·cm, 41 ft·lbf}

NOTICE:

Temporarily tighten the bolt (A) and then fully tighten the 2 bolts in the order of (B) and (A).

7. INSTALL REAR SHOCK ABSORBER ASSEMBLY

(a) Using a ball joint lock nut wrench fully tighten the rear shock absorber assembly with the nut.

Torque:

Specified tightening torque :

125 N·m {1275 kgf·cm, 92 ft·lbf}

NOTICE:

Hold the rear axle carrier pin while rotating the nut.

HINT:

  • Calculate the torque wrench reading when changing the fulcrum length of the torque wrench.

    Click here

  • When using a ball joint lock nut wrench (fulcrum length of 149.75 mm (5.90 in.)) + torque wrench (fulcrum length of 400 mm (1.31 ft.)):

    91 N*m (928 kgf*cm, 67 ft.*lbf)

*1

Rear Axle Carrier Pin

*a

Torque Wrench Fulcrum Length

*b

Ball Joint Lock Nut Wrench

*c

Turn

*d

Hold

8. INSTALL REAR STABILIZER LINK ASSEMBLY

for 2WD: Click here

for AWD: Click here

9. INSTALL NO. 2 PARKING BRAKE WIRE ASSEMBLY (w/ AVS)

(a) Engage the guide and install the wire harness bracket.

*a

Guide

*b

Clamp

(b) Install the nut.

Torque:

8.5 N·m {87 kgf·cm, 75 in·lbf}

(c) Engage the clamp and install the No. 2 parking brake wire assembly to the wire harness bracket.

(d) Connect the connector.

10. INSTALL NO. 1 FLOOR UNDER COVER (for Gasoline Model 2WD)

(a) for RH Side:

Click here

11. INSTALL NO. 2 FLOOR UNDER COVER (for Gasoline Model 2WD)

(a) for LH Side:

Click here

12. INSTALL REAR HEIGHT CONTROL SENSOR SUB-ASSEMBLY LH (w/ Height Control Sensor)

(a) for LH Side:

Click here

13. INSTALL REAR WHEEL

Click here

14. INSPECT AND ADJUST REAR WHEEL ALIGNMENT

Click here

15. PERFORM INITIALIZATION

for HV Model:
*1: for LED type turn signal light
  • Parking Support Alert System
  • Parking Support Brake System

Parking Assist Monitor System

for Initialization

for Calibration

Panoramic View Monitor System

for Initialization

for Calibration

Lighting System*1

for Gasoline Model:
*1: for LED type turn signal light
  • Parking Support Alert System
  • Parking Support Brake System

Parking Assist Monitor System

for Initialization

for Calibration

Panoramic View Monitor System

for Initialization

for Calibration

Lighting System*1

READ NEXT:

 Disposal

DISPOSAL PROCEDURE 1. DISPOSE OF REAR SHOCK ABSORBER ASSEMBLY CAUTION: Always use a cloth to prevent shards of metal from flying about due to the release of pressurized gas. Always wear safety gl

 Rear Stabilizer Bar (for 2wd)

 Components

COMPONENTS ILLUSTRATION *A for Gasoline Model - - *1 NO. 1 FLOOR UNDER COVER *2 NO. 2 FLOOR UNDER COVER N*m (kgf*cm, ft.*lbf): Specified torque - - ILLUSTRATION *

SEE MORE:

 Communication Error from ECM to VSC Invalid Serial Data Received (P163181)

DESCRIPTION The skid control ECU (brake actuator assembly) sends signals such as brake request signals to the ECM. When the ECM detects logic error signals sent from the skid control ECU (brake actuator assembly) for a certain period of time, DTC P163181 is stored. DTC No. Detection Item DTC

 Removal

REMOVAL CAUTION / NOTICE / HINT The necessary procedures (adjustment, calibration, initialization, or registration) that must be performed after parts are removed and installed, or replaced during front door belt moulding assembly removal/installation are shown below. Necessary Procedure After Parts

© 2016-2026 Copyright www.lexguide.net