Lexus ES: Installation
INSTALLATION
PROCEDURE
1. INSTALL FUEL TANK PRESSURE SENSOR (VAPOR PRESSURE SENSOR)
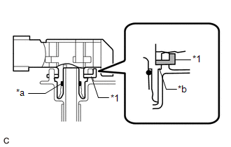
| (a) Push the fuel tank pressure sensor (vapor pressure sensor) onto the fuel tank assembly, then install the tube joint clip. NOTICE: -
Check that there are no scratches or foreign matter around the connecting parts of the fuel tank pressure sensor (vapor pressure sensor) and fuel suction plate sub-assembly before performing this work.
-
Check that the fuel suction plate sub-assembly is securely inserted to the end of the fuel tank pressure sensor (vapor pressure sensor).
-
Check that the tube joint clip is on the collar of the fuel tank pressure sensor (vapor pressure sensor).
-
After installing the tube joint clip, check that the fuel tank pressure sensor (vapor pressure sensor) cannot be pulled out.
| | | *1 | Tube Joint Clip | | *a | O-ring | | *b | Collar | | |
2. INSTALL REAR FLOOR SERVICE HOLE COVER
Click here
3. INSTALL REAR SEAT ASSEMBLY
Click here
READ NEXT:
COMPONENTS ILLUSTRATION *1 FUEL VAPOR CONTAINMENT VALVE (FUEL TANK SOLENOID MAIN VALVE ASSEMBLY) *2 FUEL TANK VENT HOSE SUB-ASSEMBLY *3 FUEL TANK VENT HOSE - - N*m (kgf*cm,
REMOVAL PROCEDURE 1. REMOVE FUEL VAPOR CONTAINMENT VALVE (FUEL TANK SOLENOID MAIN VALVE ASSEMBLY) (a) Disconnect the fuel vapor containment valve (fuel tank solenoid main valve assembly) connector.
SEE MORE:
DESCRIPTION The ECM constantly generates a 5 V power source voltage from the auxiliary battery voltage supplied to the +B, +B2 (BATT) terminals to operate the microprocessor. The ECM also provides this power to the sensors through the VC output circuit. When the VC circuit has a short circuit, the
CUSTOMIZE PARAMETERS CUSTOMIZE LUGGAGE COMPARTMENT DOOR OPENER SYSTEM NOTICE:
When the customer requests a change in a function, first make sure that the function can be customized.
Be sure to make a note of the current settings before customizing.
When troubleshooting a function, first make
© 2016-2026 Copyright www.lexguide.net
