Lexus ES: Inspection
INSPECTION
PROCEDURE
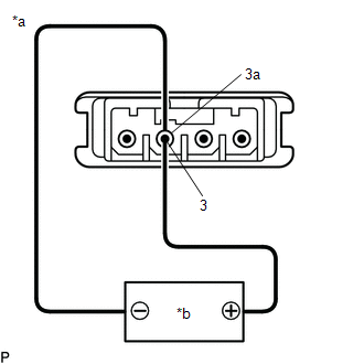
1. INSPECT NAVIGATION ANTENNA ASSEMBLY (w/o Manual (SOS) Switch)
(a) Check that the navigation antenna assembly cable is properly installed and does not have any sharp bends, pinching or loose connections.
(b) Current consumption check:
| (1) Measure the current consumption according to the value(s) in the table below. Standard Current: | Tester Connection | Condition | Specified Condition | | 3 (core) - 3a (shield) | 4.2 to 5 V applied between terminals 3 and 3a | 10 to 30 mA | NOTICE: Do not apply 6 V or more between terminals 3 and 3a. HINT: If a stable power supply is not available, connect 4 nickel-metal hydride batteries (1.2 V each) or equivalent in series. | | | *a | Component without harness connected (Navigation Antenna Assembly) | | *b | Voltage Applied between Terminals | | |
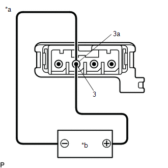
2. INSPECT NAVIGATION ANTENNA ASSEMBLY (w/ Manual (SOS) Switch)
(a) Check that the navigation antenna assembly cable is properly installed and does not have any sharp bends, pinching or loose connections.
(b) Current consumption check: (GPS)
| (1) Measure the current consumption according to the value(s) in the table below. Standard Current: | Tester Connection | Condition | Specified Condition | | 3 (core) - 3a (shield) | 4.2 to 5 V applied between terminals 3 and 3a | 10 to 30 mA | NOTICE: Do not apply 6 V or more between terminals 3 and 3a. HINT: If a stable power supply is not available, connect 4 nickel-metal hydride batteries (1.2 V each) or equivalent in series. | | | *a | Component without harness connected (Navigation Antenna Assembly) | | *b | Voltage Applied between Terminals | | |
(c) Resistance check: (Telephone Sub)
| (1) Measure the resistance according to the value(s) in the table below. Standard Resistance: | Tester Connection | Condition | Specified Condition | | 4 (core) - 4a (shield) | Always | 9 to 11 kΩ | | | | *a | Component without harness connected (Navigation Antenna Assembly) | | |
READ NEXT:
INSTALLATION PROCEDURE 1. INSTALL NAVIGATION ANTENNA BRACKET 2. INSTALL NAVIGATION ANTENNA ASSEMBLY (a) Engage the 6 guides and 2 claws to install the navigation antenna assembly as shown in the illus
REMOVAL CAUTION / NOTICE / HINT The necessary procedures (adjustment, calibration, initialization, or registration) that must be performed after parts are removed and installed, or replaced during nav
SEE MORE:
REMOVAL CAUTION / NOTICE / HINT The necessary procedures (adjustment, calibration, initialization or registration) that must be performed after parts are removed and installed, or replaced during auxiliary battery removal/installation are shown below. Necessary Procedures After Parts Removed/Install
DESCRIPTION Power is supplied to the remote touch (remote operation controller assembly) illumination when the light control switch is in the tail or head position. WIRING DIAGRAM CAUTION / NOTICE / HINT NOTICE: Inspect the fuse for circuits related to this system before performing the following pr
© 2016-2026 Copyright www.lexguide.net
