Lexus ES manuals

Lexus ES: Headlight Swivel Motor LH (B2412,B2413,B2417,B2418)

Lexus ES (XZ10) Service Manual / Vehicle Interior / Lighting (ext) / Lighting System (for Gasoline Model) / Headlight Swivel Motor LH (B2412,B2413,B2417,B2418)

DESCRIPTION

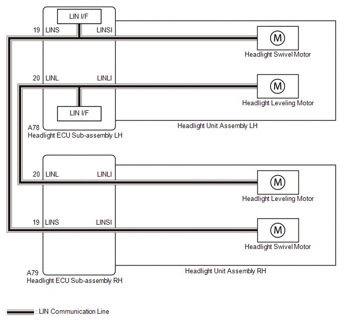
The headlight ECU sub-assembly LH sends automatic headlight beam level control signals to each headlight swivel motor and headlight leveling motor via LIN communication.

Each headlight ECU sub-assembly and headlight swivel motor and headlight leveling motor communicate via LIN communication.

The headlight swivel motor and headlight leveling motor operates according to power supplied and automatic headlight beam level control signals from its respective headlight ECU sub-assembly and sends its operating state to the headlight ECU sub-assembly.

The headlight ECU sub-assembly LH stores a DTC if it detects that a headlight swivel motor and headlight leveling motor is malfunctioning.

DTC No.

Detection Item

DTC Detection Condition

Trouble Area

DTC Output from

B2412

Headlight Swivel Motor LH

  • The engine switch is on (IG).
  • Headlight swivel motor malfunction detected
  • -

Headlight unit assembly LH

Headlight ECU sub-assembly LH

B2413

Headlight Swivel Motor RH

  • The engine switch is on (IG).
  • Headlight swivel motor malfunction detected
  • -

Headlight unit assembly RH

Headlight ECU sub-assembly LH

B2417

Headlight Beam Level Control Motor LH

  • The engine switch is on (IG).
  • Headlight leveling motor malfunction detected
  • -

Headlight unit assembly LH

Headlight ECU sub-assembly LH

B2418

Headlight Beam Level Control Motor RH

  • The engine switch is on (IG).
  • Headlight leveling motor malfunction detected
  • -

Headlight unit assembly RH

Headlight ECU sub-assembly LH

WIRING DIAGRAM

PROCEDURE

1.

CLEAR DTC

(a) Connect the Techstream to the DLC3.

(b) Turn the engine switch on (IG).

(c) Turn the Techstream on.

(d) Enter the following menus: Body Electrical / AFS / Trouble Codes.

(e) Clear the DTCs.

Body Electrical > AFS > Clear DTCs
NEXT

2.

CHECK FOR DTC

(a) Connect the Techstream to the DLC3.

(b) Turn the engine switch on (IG).

(c) Turn the Techstream on.

(d) Enter the following menus: Body Electrical / AFS / Trouble Codes.

(e) Check for DTCs.

Body Electrical > AFS > Trouble Codes

OK:

DTC B2412, B2413, B2417 and B2418 are not output.

Result

Proceed to

OK

A

NG (DTC B2412 or B2417 is output)

B

NG (DTC B2413 or B2418 is output)

C

A

USE SIMULATION METHOD TO CHECK

B

REPLACE HEADLIGHT UNIT ASSEMBLY LH

C

REPLACE HEADLIGHT UNIT ASSEMBLY RH

READ NEXT:

 Steering Position Sensor (B2414)

DESCRIPTION The headlight ECU sub-assembly LH receives steering angle signals from the steering sensor via CAN communication and performs light control. for LED Type Turn Signal Light DTC No. Det

 Vehicle Speed Sensor (B2415)

DESCRIPTION The headlight ECU sub-assembly LH receives speed signals from the skid control ECU (brake actuator assembly) via CAN communication and performs light control. for LED Type Turn Signal Ligh

 Rear Height Control Sensor (B241A)

DESCRIPTION The headlight ECU sub-assembly LH determines the vehicle height and performs automatic headlight beam level control based on signals from the rear height control sensor sub-assembly LH via

SEE MORE:

 Left Rear Wheel Speed Sensor Circuit Short to Ground or Open (C050C14)

DESCRIPTION Refer to DTC C050C12 Click here DTC No. Detection Item DTC Detection Condition Trouble Area C050C14 Left Rear Wheel Speed Sensor Circuit Short to Ground or Open A short or open circuit is detected in the speed sensor signal circuit for 0.12 seconds or more. Rear s

 Brake Warning Light does not Come ON

DESCRIPTION The skid control ECU (brake actuator assembly) controls the brake warning light / red (malfunction) in the combination meter assembly via CAN communication. CAUTION / NOTICE / HINT NOTICE: After replacing the skid control ECU (brake actuator assembly), perform acceleration sensor zero po

© 2016-2026 Copyright www.lexguide.net