Lexus ES manuals

Lexus ES: Disassembly

DISASSEMBLY

PROCEDURE

1. REMOVE END COVER

(a) To prevent the coupling of the vacuum pump assembly from contacting the workbench, support the vacuum pump assembly with wooden blocks or an equivalent object.

*a

Wooden Block

(b) Using a T30 "TORX" socket wrench, remove the 5 screws and end cover.

NOTICE:

  • Hold the pump so that the pump installation surface and fitting parts will not be damaged.
  • As the housing deforms when force is applied, do not secure the housing with a tool such as a vise.
  • Securely fit the T30 "TORX" socket wrench to the screws.
  • Do not drop the end cover.
  • Do not damage the end cover.
  • As there will be a small amount of oil remaining in the vacuum pump housing, be careful not to spill the oil when removing the end cover.
  • Do not rotate the coupling as oil remaining in the vacuum pump housing may be discharged.

    *a

    Do not rotate the coupling.

  • As the vacuum pump vane cap may become damaged, do not rotate the coupling counterclockwise.

(c) Using a screwdriver with its tip wrapped with protective tape, remove the vacuum pump cover O-ring.

NOTICE:

Do not damage the groove.

*a

Protective Tape

(d) Check that there is no foreign matter in the engine oil remaining in the vacuum pump housing.

If there is foreign matter, replace the vacuum pump assembly.

Engine Oil

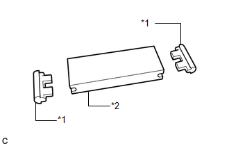
2. REMOVE VACUUM PUMP VANE AND VACUUM PUMP VANE CAP

(a) Remove the vacuum pump vane together with the 2 vacuum pump vane caps.

(b) Remove the 2 vacuum pump vane caps from the vacuum pump vane.

*1

Vacuum Pump Vane Cap

*2

Vacuum Pump Vane

(c) Check that there is no damage such as cracks or fractures in the vacuum pump vane and vacuum pump vane cap.

If there is damage, replace the vacuum pump assembly.

3. REMOVE VACUUM PUMP ROTOR

(a) Remove the vacuum pump rotor from the vacuum pump housing.

Remove in this Direction

(b) Check that there is no damage such as cracks or fractures in the vacuum pump rotor in the areas shown in the illustration.

If there is damage, replace the vacuum pump assembly.

4. INSPECT VACUUM PUMP HOUSING

(a) Check that there is no foreign matter in the vacuum pump housing.

If there is foreign matter, replace the vacuum pump assembly.

Contact Surface of Vacuum Pump Vane Cap

(b) Visually inspect the contact surface of the vacuum pump vane cap of the vacuum pump housing.

If there is damage, replace the vacuum pump assembly.

READ NEXT:

 Installation

INSTALLATION CAUTION / NOTICE / HINT NOTICE: This procedure includes the installation of small-head bolts. Refer to Small-Head Bolts of Basic Repair Hint to identify the small-head bolts. Click here

 On-vehicle Inspection

ON-VEHICLE INSPECTION PROCEDURE 1. OPERATION CHECK (a) Disconnect the No. 1 vacuum hose connector from the vacuum pump assembly. Click here (b) Connect the hose of the vacuum gauge to the vacuum

 Reassembly

REASSEMBLY PROCEDURE 1. CLEAN VACUUM PUMP HOUSING (a) Clean the inside surface of the vacuum pump housing. 2. INSTALL VACUUM PUMP ROTOR (a) Clean the vacuum pump rotor. (b) Apply engine oil to the are

SEE MORE:

 Motor Electronics Coolant Temperature Sensor Circuit Voltage Out of Range (P0A001C)

DTC SUMMARY MALFUNCTION DESCRIPTION These DTCs indicate that the temperature sensor value is abnormal. The cause of this malfunction may be one of the following: Area Main Malfunction Description Inverter low-voltage circuit The connectors are not connected properly Hybrid cooling sys

 Transmission Fluid Temperature Sensor "C" Voltage Out of Range (P274A1C,P274A1F)

DTC SUMMARY MALFUNCTION DESCRIPTION These DTCs are stored when the transmission fluid temperature sensor output is abnormal. The cause of this malfunction may be one of the following: Transmission fluid temperature sensor malfunction Internal transmission fluid temperature sensor malfunction Op

© 2016-2026 Copyright www.lexguide.net