Lexus ES: Window Glass Antenna Wire
On-vehicle Inspection
ON-VEHICLE INSPECTION
PROCEDURE
1. INSPECT WINDOW GLASS ANTENNA WIRE
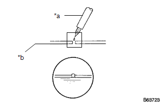
| (a) Check the continuity of the antenna. HINT: Check for continuity at the center of each antenna wire as shown in the illustration. NOTICE: -
When cleaning the glass, wipe it in the direction of the wire with a soft dry cloth. Take care not to damage the wire. Do not use detergents or glass cleaners with abrasive ingredients.
-
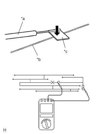
When measuring resistance, wrap a piece of tin foil around the tip of the negative probe and press the foil against the wire with your finger, as shown in the illustration.
OK: There is continuity in the antenna. If the result is not as specified, repair the window glass antenna wire. | | | *a | Tester Probe | | *b | Antenna Wire | | *c | Tin Foil | | |
Repair
REPAIR
PROCEDURE
1. REPAIR WINDOW GLASS ANTENNA WIRE
| *a | Repair Point |
| *b | Masking Tape |
| *c | Broken Wire |
(a) Clean the broken wire tips with a grease, wax and silicone remover.
(b) Place masking tape along both sides of the wire to be repaired.
(c) Thoroughly mix the repair agent (Dupont paste No. 4817 or equivalent).
| (d) Using a fine tip brush, apply a small amount of the repair agent to the wire. | | | *a | Fine Tip Brush | | *b | Repair Point | | |
(e) After a few minutes, remove the masking tape.
READ NEXT:
COMPONENTS ILLUSTRATION *1 BACK-UP BATTERY *2 TRANSCEIVER COVER
SEE MORE:
REMOVAL CAUTION / NOTICE / HINT The necessary procedures (adjustment, calibration, initialization or registration) that must be performed after parts are removed and installed, or replaced during fuel pressure sensor removal/installation are shown below. Necessary Procedures After Parts Removed/Inst
DESCRIPTION An electric heater is equipped to the temperature sensing portion of the thermostat. During normal driving, current does not flow to the heater and the thermostat functions as an ordinary thermostat. When the temperature of the engine increases by a large amount such as during high-load
© 2016-2026 Copyright www.lexguide.net
