Lexus ES manuals

Lexus ES: Transmitter ID not Received (Main) (C2126)

DESCRIPTION

If ID registration via the automatic ID registration function is canceled or the tire pressure warning ECU and receiver does not receive data from the tire pressure warning valve and transmitters after the tire pressure warning valve and transmitter ID registration is completed using the Techstream, the tire pressure warning ECU and receiver stores DTC C2126.

After ID registration is complete using the Techstream, the tire pressure warning light illuminates after blinking for 1 minute. When the tire pressure warning ECU and receiver receives the data from all tire pressure warning valve and transmitters with registered IDs, the tire pressure is judged to be normal and the tire pressure warning light turns off.

DTC No.

Detection Item

DTC Detection Condition

Trouble Area

Note

C2126

Transmitter ID not Received (Main)

  • After transmitter ID registration is completed, ECU does not receive data in 1 trip from transmitters whose IDs are stored in ECU.
  • ID registration is canceled via the automatic ID registration function
  • Transmitter ID registration failure
  • Tire pressure warning valve and transmitter
  • Tire pressure warning ECU and receiver

-

NOTICE:

If DTC C2126 is stored, C2128 may also be stored. If DTC C2128 is stored, perform troubleshooting for DTC C2128 before performing troubleshooting for DTC C2126.

HINT:

The purpose of this DTC is to help prevent delivering a vehicle that has incorrectly registered transmitter IDs. After all IDs are registered, DTC C2126 is detected and the tire pressure warning light blinks for 1 minute and then illuminates. If the tire pressure warning light does not go off after a little while, the transmitter IDs may be incorrectly registered.

CAUTION / NOTICE / HINT

NOTICE:

  • When replacing the tire pressure warning ECU and receiver or tire pressure warning valve and transmitter, read the transmitter IDs and number of the transmitters (4 or 5) stored in the old ECU using the Techstream and write them down before removal.
  • It is necessary to perform initialization after registration of the transmitter IDs into the tire pressure warning ECU and receiver if the ECU and/or one of the valve and transmitters has been replaced.

PROCEDURE

1.

IDENTIFY TRANSMITTER NOT RECEIVED

(a) Set the tire pressure to the specified value.

Click here

(b) Turn the power switch off.

(c) Connect the Techstream to the DLC3.

(d) Turn the power switch on (IG).

(e) Turn the Techstream on.

(f) Enter the following menus: Chassis / Tire Pressure Monitor / Data List.

(g) Display the "ID Tire Inflation Pressure" value for each wheel using the Techstream.

Chassis > Tire Pressure Monitor > Data List

Tester Display

Measurement Item

Range

Normal Condition

Diagnostic Note

ID 1 Tire Inflation Pressure

ID1 tire inflation pressure

min.: Absolute pressure (abs) / 0 kPa (0 kgf/cm2, 0 psi), Relative pressure (Gauge) / 0 kPa (0 kgf/cm2, 0 psi)

max.: Absolute pressure (abs) / 480 kPa (4.9 kgf/cm2, 70 psi), Relative pressure (Gauge) / 380 kPa (3.9 kgf/cm2, 55 psi)

Actual tire inflation pressure

If N/A is displayed, data has not been received.*1

ID 2 Tire Inflation Pressure

ID2 tire inflation pressure

min.: Absolute pressure (abs) / 0 kPa (0 kgf/cm2, 0 psi), Relative pressure (Gauge) / 0 kPa (0 kgf/cm2, 0 psi)

max.: Absolute pressure (abs) / 480 kPa (4.9 kgf/cm2, 70 psi), Relative pressure (Gauge) / 380 kPa (3.9 kgf/cm2, 55 psi)

Actual tire inflation pressure

If N/A is displayed, data has not been received.*1

ID 3 Tire Inflation Pressure

ID3 tire inflation pressure

min.: Absolute pressure (abs) / 0 kPa (0 kgf/cm2, 0 psi), Relative pressure (Gauge)/ 0 kPa (0 kgf/cm2, 0 psi)

max.: Absolute pressure (abs) / 480 kPa (4.9 kgf/cm2, 70 psi), Relative pressure (Gauge) / 380 kPa (3.9 kgf/cm2, 55 psi)

Actual tire inflation pressure

If N/A is displayed, data has not been received.*1

ID 4 Tire Inflation Pressure

ID4 tire inflation pressure

min.: Absolute pressure (abs) / 0 kPa (0 kgf/cm2, 0 psi), Relative pressure (Gauge) / 0 kPa (0 kgf/cm2, 0 psi)

max.: Absolute pressure (abs) / 480 kPa (4.9 kgf/cm2, 70 psi), Relative pressure (Gauge) / 380 kPa (3.9 kgf/cm2, 55 psi)

Actual tire inflation pressure

If N/A is displayed, data has not been received.*1

HINT:

  • *1: It may take a few minutes until the values are displayed.
  • The wheel position cannot be determined from ID1 through ID4 on the Data List.
Chassis > Tire Pressure Monitor > Data List

Tester Display

ID 1 Tire Inflation Pressure

ID 2 Tire Inflation Pressure

ID 3 Tire Inflation Pressure

ID 4 Tire Inflation Pressure

(h) Rapidly reduce the tire pressure for each wheel at least 40 kPa (0.4 kg/cm2, 5.8 psi) within 30 seconds. If the "ID Tire Inflation Pressure" value displayed on the Techstream does not change, the tire pressure warning valve and transmitter corresponding to the unchanged "ID Tire Inflation Pressure" value was the cause of the output DTC.

HINT:

  • Identify the malfunctioning tire pressure warning valve and transmitter by repeatedly decreasing the tire pressure for each tire.
  • Record which "ID Tire Inflation Pressure" value corresponds to each tire.

(i) Check the Data List.

NOTICE:

  • It may take a few minutes until the values are displayed.
  • When an "ID Tire Inflation Pressure" value has not changed, reset the tire pressure to the appropriate specified value and rotate the tire 90 to 270 degrees. Then rapidly release the tire pressure and recheck the value.
  • Record the transmitter IDs and positions of transmitters that are normal.

(j) After confirming that the "ID Tire Inflation Pressure" value for one tire has changed, repeat this procedure one by one. Identify the transmitter not received.

Result

Proceed to

Change in all tire inflation pressure data

A

No change in all tire inflation pressure data

B

No change in any tire inflation pressure data

C

A

END

C

GO TO STEP 3

B

2.

CHECK TRANSMITTER ID

(a) Turn the power switch off.

(b) Connect the Techstream to the DLC3.

(c) Turn the power switch on (IG).

(d) Turn the Techstream on.

(e) Enter the following menus: Chassis / Tire Pressure Monitor / Data List.

(f) Read the Data List according to the display on the Techstream.

Chassis > Tire Pressure Monitor > Data List

Tester Display

Measurement Item

Range

Normal Condition

Diagnostic Note

Registered ID 1 Code

Registered ID1 code

min.: 0

max.: FFFFFFF*1

ID No. registered for transmitter ID1 displayed

-

Registered ID 2 Code

Registered ID2 code

min.: 0

max.: FFFFFFF*1

ID No. registered for transmitter ID2 displayed

-

Registered ID 3 Code

Registered ID3 code

min.: 0

max.: FFFFFFF*1

ID No. registered for transmitter ID3 displayed

-

Registered ID 4 Code

Registered ID4 code

min.: 0

max.: FFFFFFF*1

ID No. registered for transmitter ID4 displayed

-

HINT:

  • *1: Displayed only when the ID No. is not registered.
  • The wheel position cannot be determined from ID1 through ID4 on the Data List.
Chassis > Tire Pressure Monitor > Data List

Tester Display

Registered ID 1 Code

Registered ID 2 Code

Registered ID 3 Code

Registered ID 4 Code

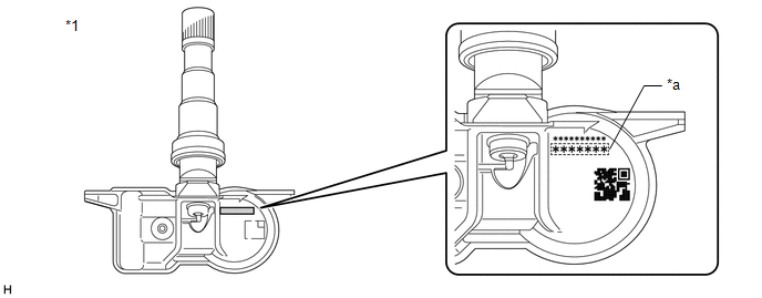
(g) Disassemble all of the tires and check the tire pressure warning valve and transmitter IDs.

*1

Tire Pressure Warning Valve and Transmitter

-

-

*a

Transmitter ID (7-digit Number)

-

-

(h) Confirm that the ID number on the transmitter and recorded transmitter ID match.

Result

Proceed to

Match

A

Do not match

B

A

REPLACE TIRE PRESSURE WARNING ECU AND RECEIVER

B

GO TO STEP 4

3.

CHECK TRANSMITTER ID

(a) Turn the power switch off.

(b) Connect the Techstream to the DLC3.

(c) Turn the power switch on (IG).

(d) Turn the Techstream on.

(e) Enter the following menus: Chassis / Tire Pressure Monitor / Data List.

(f) Read the Data List according to the display on the Techstream.

Chassis > Tire Pressure Monitor > Data List

Tester Display

Measurement Item

Range

Normal Condition

Diagnostic Note

Registered ID 1 Code

Registered ID1 code

min.: 0

max.: FFFFFFF*1

ID No. registered for transmitter ID1 displayed

-

Registered ID 2 Code

Registered ID2 code

min.: 0

max.: FFFFFFF*1

ID No. registered for transmitter ID2 displayed

-

Registered ID 3 Code

Registered ID3 code

min.: 0

max.: FFFFFFF*1

ID No. registered for transmitter ID3 displayed

-

Registered ID 4 Code

Registered ID4 code

min.: 0

max.: FFFFFFF*1

ID No. registered for transmitter ID4 displayed

-

HINT:

  • *1: Displayed only when the ID No. is not registered.
  • The wheel position cannot be determined from ID1 through ID4 on the Data List.
Chassis > Tire Pressure Monitor > Data List

Tester Display

Registered ID 1 Code

Registered ID 2 Code

Registered ID 3 Code

Registered ID 4 Code

(g) Disassemble all of the tires and check the tire pressure warning valve and transmitter IDs.

*1

Tire Pressure Warning Valve and Transmitter

-

-

*a

Transmitter ID (7-digit Number)

-

-

(h) Confirm that the ID number on the transmitter and recorded transmitter ID match.

Result

Proceed to

Match

A

Do not match

B

A

REPLACE TIRE PRESSURE WARNING VALVE AND TRANSMITTER

B

4.

REGISTRATION OF TRANSMITTER ID

(a) Perform registration.

Click here

NEXT

5.

PERFORM INITIALIZATION

(a) Perform initialization.

Click here

NEXT

END

READ NEXT:

 Auto ID Under Registration (C2128)

DESCRIPTION When ID registration is being performed via the automatic ID registration function, the tire pressure warning ECU and receiver stores C2128 and the tire pressure warning light flashes for

 Transmitter ID1 Error (C2141-C2144)

DESCRIPTION The tire pressure warning valve and transmitters that are installed in the tire and wheel assemblies measure the tire pressure of each wheel. The measured values are transmitted to the tir

 Transmitter ID not Registered (Main) (C2171)

DESCRIPTION The IDs of each tire pressure warning valve and transmitter are registered to the tire pressure warning ECU and receiver. When the ECU detects that a transmitter ID code is not registered

SEE MORE:

 Steering Angle Sensor Module Signal Stuck In Range (C05262A)

DESCRIPTION The skid control ECU (brake actuator assembly) determines the steering angle value based on data obtained from the steering sensor, yaw rate and acceleration sensor (airbag ECU assembly). DTC No. Detection Item DTC Detection Condition Trouble Area C05262A Steering Angle Se

 Back Camera Disconnected (C1622)

DESCRIPTION This DTC is stored if the radio receiver assembly judges that the signals or signal lines between the rear television camera assembly and the multi-display assembly are not normal as a result of its self check. DTC No. Detection Item DTC Detection Condition Trouble Area C162

© 2016-2025 Copyright www.lexguide.net