Lexus ES manuals

Lexus ES: Transmitter ID 1 not Received (Main) (C2121-C2124,C2181-C2184)

Lexus ES (XZ10) Service Manual / Suspension / Tire Pressure Monitoring / Tire Pressure Warning System(for Gasoline Model) / Transmitter ID 1 not Received (Main) (C2121-C2124,C2181-C2184)

DESCRIPTION

The tire pressure warning valve and transmitters that are installed in the tire and wheel assemblies measure the tire pressure of each wheel. The measured values are transmitted to the tire pressure warning ECU and receiver in the vehicle as radio waves. The ECU compares the measured tire pressure values with the tire pressure threshold. When the measured tire pressure value is less than this threshold, the warning light in the combination meter assembly illuminates.

The tire pressure warning valve and transmitters constantly send radio waves to the tire pressure warning ECU and receiver.

Under the conditions below, the tire pressure warning ECU and receiver is unable to receive the signals from the tire pressure warning valve and transmitters, and a DTC is stored.

  • Facilities or devices that use similar radio frequencies are located in the vicinity of the vehicle.
  • Devices using similar radio frequencies are used in the vehicle.
  • The ID of a tire pressure warning valve and transmitter is mistyped during registration.
  • A tire, wheel and/or transmitter from a different vehicle is installed.

HINT:

When no transmitter ID is received from a tire pressure warning valve and transmitter for 20 minutes or more while the vehicle speed is more than 40 km/h (25 mph), or no transmitter ID is received from all of the tire pressure warning valve and transmitters for 20 minutes or more, DTCs from C2121 to C2124 are stored.

DTCs C2121 to C2124 can only be cleared by using the Techstream. DTCs C2181 to C2184 can be cleared when the tire pressure warning valve and transmitter sends a forced transmission signal or test mode ends. DTCs C2181 to C2184 are output only in test mode.

DTC No.

Detection Item

DTC Detection Condition

Trouble Area

Note

C2121

Transmitter ID 1 not Received (Main)

Either of the following conditions (a) or (b) is met:

(a) When all conditions below are met:

  • Tire pressure warning valve and transmitter is not in stop mode.
  • Any transmitter ID is not received from tire pressure warning valve and transmitters.
  • Vehicle speed is more than 40 km/h (25 mph) or no vehicle speed signal is received for 20 minutes or more.

(b) When both conditions below are met:

  • Tire pressure warning valve and transmitter is not in stop mode.
  • No transmitter ID is received from tire pressure warning valve and transmitters for 20 minutes or more.
  • Tire pressure warning valve and transmitter
  • Tire pressure warning ECU and receiver

-

C2122

Transmitter ID 2 not Received (Main)

Either of the following conditions (a) or (b) is met:

(a) When all conditions below are met:

  • Tire pressure warning valve and transmitter is not in stop mode.
  • Any transmitter ID is not received from tire pressure warning valve and transmitters.
  • Vehicle speed is more than 40 km/h (25 mph) or no vehicle speed signal is received for 20 minutes or more.

(b) When both conditions below are met:

  • Tire pressure warning valve and transmitter is not in stop mode.
  • No transmitter ID is received from tire pressure warning valve and transmitters for 20 minutes or more.
  • Tire pressure warning valve and transmitter
  • Tire pressure warning ECU and receiver

-

C2123

Transmitter ID 3 not Received (Main)

Either of the following conditions (a) or (b) is met:

(a) When all conditions below are met:

  • Tire pressure warning valve and transmitter is not in stop mode.
  • Any transmitter ID is not received from tire pressure warning valve and transmitters.
  • Vehicle speed is more than 40 km/h (25 mph) or no vehicle speed signal is received for 20 minutes or more.

(b) When both conditions below are met:

  • Tire pressure warning valve and transmitter is not in stop mode.
  • No transmitter ID is received from tire pressure warning valve and transmitters for 20 minutes or more.
  • Tire pressure warning valve and transmitter
  • Tire pressure warning ECU and receiver

-

C2124

Transmitter ID 4 not Received (Main)

Either of the following conditions (a) or (b) is met:

(a) When all conditions below are met:

  • Tire pressure warning valve and transmitter is not in stop mode.
  • Any transmitter ID is not received from tire pressure warning valve and transmitters.
  • Vehicle speed is more than 40 km/h (25 mph) or no vehicle speed signal is received for 20 minutes or more.

(b) When both conditions below are met:

  • Tire pressure warning valve and transmitter is not in stop mode.
  • No transmitter ID is received from tire pressure warning valve and transmitters for 20 minutes or more.
  • Tire pressure warning valve and transmitter
  • Tire pressure warning ECU and receiver

-

C2181

Transmitter ID 1 not Received (for Test Diagnosis)

Test mode procedure is performed.

  • Tire pressure warning valve and transmitter
  • Tire pressure warning ECU and receiver

-

C2182

Transmitter ID 2 not Received (for Test Diagnosis)

Test mode procedure is performed.

  • Tire pressure warning valve and transmitter
  • Tire pressure warning ECU and receiver

-

C2183

Transmitter ID 3 not Received (for Test Diagnosis)

Test mode procedure is performed.

  • Tire pressure warning valve and transmitter
  • Tire pressure warning ECU and receiver

-

C2184

Transmitter ID 4 not Received (for Test Diagnosis)

Test mode procedure is performed.

  • Tire pressure warning valve and transmitter
  • Tire pressure warning ECU and receiver

-

NOTICE:

  • When DTCs C2121 to C2124 are stored, DTC C2179 may be stored simultaneously. In such cases, troubleshoot DTCs C2121 to C2124 first, then troubleshoot DTC C2179.
  • If the Techstream is used to display the Data List for 10 minutes or more, the tire pressure warning ECU stores DTCs C2121, C2122, C2123 and C2124. If these DTCs are stored, clear the DTCs using the Techstream.
  • If any DTC from C2121 to C2124 is output, clear the DTCs or drive the vehicle at 40 km/h (25 mph) for 1 minute or more after repairing the malfunctions.

HINT:

It is necessary to perform the following procedure to identify the tire pressure warning valve and transmitter that is malfunctioning because it cannot be identified by the output DTC.

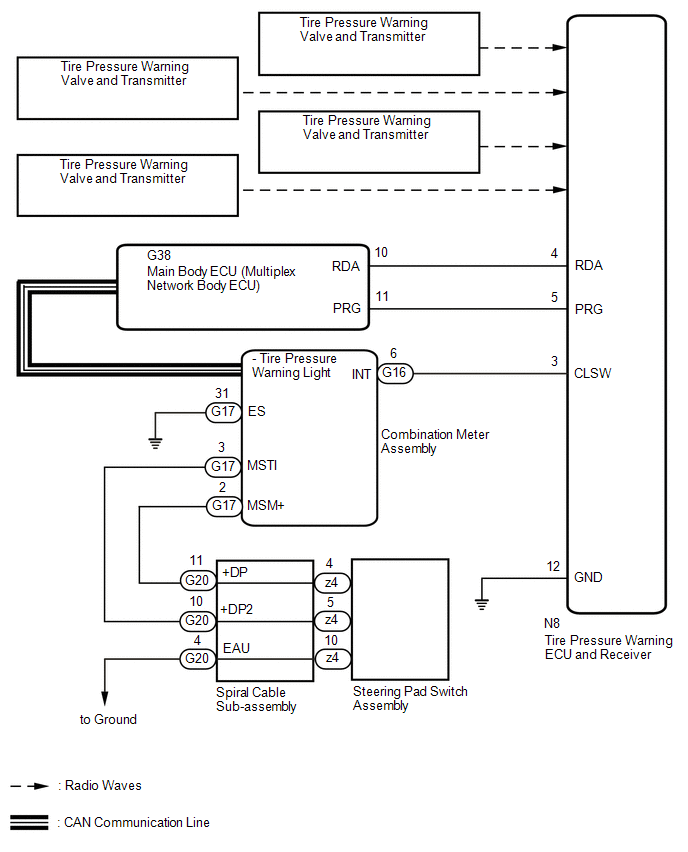
WIRING DIAGRAM

CAUTION / NOTICE / HINT

NOTICE:

  • When replacing the tire pressure warning ECU and receiver or tire pressure warning valve and transmitter, read the transmitter IDs and number of the transmitters (4 or 5) stored in the old ECU using the Techstream and write them down before removal.
  • It is necessary to perform initialization after registration of the transmitter IDs into the tire pressure warning ECU and receiver if the ECU and/or one of the valve and transmitters has been replaced.

PROCEDURE

1.

CHECK FREQUENCY RECEIVING CONDITION

(a) Check that the following conditions are not met:

(1) Facilities or devices that use similar radio frequencies are located in the vicinity of the vehicle.

HINT:

If the vehicle is located in an area such as the one described above, the tire pressure warning light may illuminate after blinking for 1 minute due to interfering radio frequencies.

(2) Devices using similar radio frequencies are used in the vehicle.

HINT:

Radio transmissions may be interrupted due to the surroundings or devices installed by the user.

Result

Proceed to

There is no device or facility that uses electrical waves of approximately the same frequency in the vicinity of the vehicle or inside the vehicle.

A

There is a device or facility that uses electrical waves of approximately the same frequency in the vicinity of the vehicle or inside the vehicle.

B

B

GO TO STEP 10

A

2.

CONFIRM OUTPUT DTC

(a) Check the stored DTC.

Result

Proceed to

Any DTCs from C2121 to C2124 are output (C2181 to C2184 when in Test Mode)

A

All DTCs from C2121 to C2124 are output (C2181 to C2184 when in Test Mode)

B

B

GO TO STEP 5

A

3.

IDENTIFY TRANSMITTER CORRESPONDING TO DTC (TIRE POSITION)

(a) Turn the engine switch off.

(b) Connect the Techstream to the DLC3.

(c) Turn the engine switch on (IG).

(d) Turn the Techstream on.

(e) Enter the following menus: Chassis / Tire Pressure Monitor / Data List.

(f) Display the "ID Tire Position" value for each wheel using the Techstream.

(g) Refer to the following chart and check the wheel position of the DTC and transmitter match.

Chassis > Tire Pressure Monitor > Data List

Tester Display

Measurement Item

Range

Normal Condition

Diagnostic Note

ID 1 Tire Position

ID1 Tire Position

No Information or FL or FR or RL or RR or Spare or Judging

ID1 tire position is displayed

If no tire position information is stored, "No Information" will be displayed.

ID 2 Tire Position

ID2 Tire Position

No Information or FL or FR or RL or RR or Spare or Judging

ID2 tire position is displayed

If no tire position information is stored, "No Information" will be displayed.

ID 3 Tire Position

ID3 Tire Position

No Information or FL or FR or RL or RR or Spare or Judging

ID3 tire position is displayed

If no tire position information is stored, "No Information" will be displayed.

ID 4 Tire Position

ID4 Tire Position

No Information or FL or FR or RL or RR or Spare or Judging

ID4 tire position is displayed

If no tire position information is stored, "No Information" will be displayed.

HINT:

Refer to the following chart for the Data List items that correspond to the DTCs.

DTC No.

Detection Item

Data List

C2121

Transmitter ID 1 not Received (Main)

ID1 Tire Position

C2181

Transmitter ID 1 not Received (for Test Diagnosis)

C2122

Transmitter ID 2 not Received (Main)

ID2 Tire Position

C2182

Transmitter ID 2 not Received (for Test Diagnosis)

C2123

Transmitter ID 3 not Received (Main)

ID3 Tire Position

C2183

Transmitter ID 3 not Received (for Test Diagnosis)

C2124

Transmitter ID 4 not Received (Main)

ID4 Tire Position

C2184

Transmitter ID 4 not Received (for Test Diagnosis)

Chassis > Tire Pressure Monitor > Data List

Tester Display

ID 1 Tire Position

ID 2 Tire Position

ID 3 Tire Position

ID 4 Tire Position

NEXT

4.

CHECK TRANSMITTER ID

(a) Turn the engine switch off.

(b) Connect the Techstream to the DLC3.

(c) Turn the engine switch on (IG).

(d) Turn the Techstream on.

(e) Enter the following menus: Chassis / Tire Pressure Monitor / Data List.

(f) Refer to the following chart and record the tire pressure warning valve and transmitter ID of the output DTC.

Chassis > Tire Pressure Monitor > Data List

Tester Display

Measurement Item

Range

Normal Condition

Diagnostic Note

Registered ID 1 Code

Registered ID1 code

min.: 0

max.: FFFFFFF*1

ID No. registered for transmitter ID1 displayed

-

Registered ID 2 Code

Registered ID2 code

min.: 0

max.: FFFFFFF*1

ID No. registered for transmitter ID2 displayed

-

Registered ID 3 Code

Registered ID3 code

min.: 0

max.: FFFFFFF*1

ID No. registered for transmitter ID3 displayed

-

Registered ID 4 Code

Registered ID4 code

min.: 0

max.: FFFFFFF*1

ID No. registered for transmitter ID4 displayed

-

HINT:

  • *1: Displayed only when the ID No. is not registered.
  • Refer to the following chart for the Data List items that correspond to the DTCs.

    DTC No.

    Detection Item

    Data List

    C2121

    Transmitter ID 1 not Received (Main)

    Registered ID 1 code

    C2181

    Transmitter ID 1 not Received (for Test Diagnosis)

    C2122

    Transmitter ID 2 not Received (Main)

    Registered ID 2 code

    C2182

    Transmitter ID 2 not Received (for Test Diagnosis)

    C2123

    Transmitter ID 3 not Received (Main)

    Registered ID 3 code

    C2183

    Transmitter ID 3 not Received (for Test Diagnosis)

    C2124

    Transmitter ID 4 not Received (Main)

    Registered ID 4 code

    C2184

    Transmitter ID 4 not Received (for Test Diagnosis)

Chassis > Tire Pressure Monitor > Data List

Tester Display

Registered ID 1 Code

Registered ID 2 Code

Registered ID 3 Code

Registered ID 4 Code

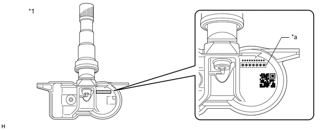
(g) Disassemble the tire indicated in the output DTC and check the tire pressure warning valve and transmitter ID.

*1

Tire Pressure Warning Valve and Transmitter

-

-

*a

Transmitter ID (7-digit Number)

-

-

(h) Confirm that the ID number on the transmitter and recorded transmitter ID match.

Result

Proceed to

Match

A

Do not match

B

A

REPLACE TIRE PRESSURE WARNING VALVE AND TRANSMITTER

B

GO TO STEP 7

5.

TEST MODE INSPECTION (C2181 to C2184)

(a) Perform a test mode inspection and perform Transmitter Data Reception Check (C2181 to C2184).

Click here

OK

END

NG

6.

CHECK TIRE PRESSURE WARNING VALVE AND TRANSMITTER

(a) Turn the engine switch off.

(b) Connect the Techstream to the DLC3.

(c) Turn the engine switch on (IG).

(d) Turn the Techstream on.

(e) Enter the following menus: Chassis / Tire Pressure Monitor / Data List.

(f) Refer to the following chart and record all of the tire pressure warning valve and transmitter IDs.

Chassis > Tire Pressure Monitor > Data List

Tester Display

Measurement Item

Range

Normal Condition

Diagnostic Note

Registered ID 1 Code

Registered ID1 code

min.: 0

max.: FFFFFFF*1

ID No. registered for transmitter ID1 displayed

-

Registered ID 2 Code

Registered ID2 code

min.: 0

max.: FFFFFFF*1

ID No. registered for transmitter ID2 displayed

-

Registered ID 3 Code

Registered ID3 code

min.: 0

max.: FFFFFFF*1

ID No. registered for transmitter ID3 displayed

-

Registered ID 4 Code

Registered ID4 code

min.: 0

max.: FFFFFFF*1

ID No. registered for transmitter ID4 displayed

-

HINT:

  • *1: Displayed only when the ID No. is not registered.
  • The wheel position cannot be determined from ID1 through ID4 on the Data List.
Chassis > Tire Pressure Monitor > Data List

Tester Display

Registered ID 1 Code

Registered ID 2 Code

Registered ID 3 Code

Registered ID 4 Code

(g) Disassemble all of the tires and check the tire pressure warning valve and transmitter IDs.

*1

Tire Pressure Warning Valve and Transmitter

-

-

*a

Transmitter ID (7-digit Number)

-

-

(h) Confirm that the ID number on the transmitter and recorded transmitter ID match.

Result

Proceed to

Match

A

Do not match

B

A

REPLACE TIRE PRESSURE WARNING ECU AND RECEIVER

B

7.

REGISTRATION OF TRANSMITTER ID

(a) Perform registration.

Click here

NEXT

8.

PERFORM INITIALIZATION

(a) Perform initialization.

Click here

NEXT

9.

CLEAR DTC

(a) Clear the DTCs.

Chassis > Tire Pressure Monitor > Clear DTCs
NEXT

END

10.

CLEAR DTC

(a) Clear the DTCs.

Chassis > Tire Pressure Monitor > Clear DTCs
NEXT

END

READ NEXT:

 Transmitter ID not Received (Main) (C2126)

DESCRIPTION If ID registration via the automatic ID registration function is canceled or the tire pressure warning ECU and receiver does not receive data from the tire pressure warning valve and trans

 Auto ID Under Registration (C2128)

DESCRIPTION When ID registration is being performed via the automatic ID registration function, the tire pressure warning ECU and receiver stores C2128 and the tire pressure warning light flashes for

 Transmitter ID1 Error (C2141-C2144)

DESCRIPTION The tire pressure warning valve and transmitters that are installed in the tire and wheel assemblies measure the tire pressure of each wheel. The measured values are transmitted to the tir

SEE MORE:

 Inspection

INSPECTION PROCEDURE 1. INSPECT OUTER MIRROR RH (a) Check the outer mirror heater operation. (1) Measure the resistance according to the value(s) in the table below. Standard Resistance: Tester Connection Condition Specified Condition 1 - 2 25°C (77°F) 3.8 to 5.8 Ω If the re

 Software Incompatibility with Brake System Control Module Invalid/Incompatible Software Component (U031857)

DESCRIPTION If the vehicle information stored in the forward recognition camera does not match the vehicle information sent from the skid control ECU (brake actuator assembly), the forward recognition camera stores DTC U031857. DTC No. Detection Item DTC Detection Condition Trouble Area M

© 2016-2026 Copyright www.lexguide.net