Lexus ES manuals

Lexus ES: Switch Lights of Remote Touch Always Illuminate or cannot be Controlled Using Rheostat

Lexus ES (XZ10) Service Manual / Audio & Visual & Telematics / Audio / Video / Audio And Visual System (for Hv Model) / Switch Lights of Remote Touch Always Illuminate or cannot be Controlled Using Rheostat

DESCRIPTION

Power is supplied to the remote touch (remote operation controller assembly) illumination when the light control switch is in the tail or head position.

HINT:

  • When the remote touch (remote operation controller assembly) is in self check mode, the switch illumination on the remote touch may remain on.
  • If any illumination controlled by the rheostat switch has a malfunction such as an short to ground circuit, the switch illumination of the remote touch (remote operation controller assembly) is affected and cannot be controlled by the rheostat switch.

WIRING DIAGRAM

CAUTION / NOTICE / HINT

NOTICE:

Inspect the fuses for circuits related to this system before performing the following procedure.

PROCEDURE

1.

CHECK ILLUMINATION CONTROLLED BY RHEOSTAT SWITCH

(a) Perform the following procedure and check that the illumination controlled by the rheostat switch illuminates properly.

(1) If the vehicle is in a bright area, move it to a dark area.

HINT:

When the vehicle is in a bright area, the switch illumination may not turn on due to the auto dimmer function.

(2) If the light control switch is in the AUTO position, turn the switch to the tail or head position.

HINT:

If the light control switch is in the AUTO position, the switch illumination will not turn on unless the surrounding area is dark.

Result

Proceed to

Any of the illumination controlled by the rheostat switch does not illuminate properly.

A

All of the illumination controlled by the rheostat switch illuminates properly.

B

HINT:

The shift lever illumination and panel switch illumination are controlled by the rheostat switch. If either of these has a malfunction such as an open circuit, the switch illumination of the remote touch (remote operation controller assembly) is affected and cannot be controlled by the rheostat switch.

B

GO TO STEP 3

A

2.

REPAIR OR REPLACE ILLUMINATION CONTROLLED BY RHEOSTAT SWITCH

(a) Repair or replace the part with the malfunctioning illumination that is controlled by the rheostat switch.

NEXT

GO TO STEP 3

3.

CHECK SYMPTOMS

(a) Perform the following procedure, operate the rheostat switch again, and check if illumination brightness adjustment is possible (including adjustment of other devices such as the radio receiver assembly).

(1) Check if the remote touch (remote operation controller assembly) is in self check mode. If it is, cancel self check mode.

Click here

HINT:

When the remote touch (remote operation controller assembly) is in self check mode, the switch illumination on the remote touch (remote operation controller assembly) may remain on.

(2) If the vehicle is in a bright area, move it to a dark area.

HINT:

When the vehicle is in a bright area, the switch illumination may not turn on due to the auto dimmer function.

(3) If the light control switch is in the AUTO position, turn the switch to the tail or head position.

HINT:

If the light control switch is in the AUTO position, the switch illumination will not turn on unless the surrounding area is dark.

*a

Switch Illumination

Result

Proceed to

Switch illumination cannot be adjusted (illumination for other devices can be adjusted).

A

Switch illumination cannot be adjusted (illumination for other devices also cannot be adjusted).

B

Switch illumination can be adjusted.

C

B

GO TO METER / GAUGE SYSTEM

C

END

A

4.

REMOTE TOUCH (REMOTE OPERATION CONTROLLER ASSEMBLY) SELF CHECK (SWITCH ILLUMINATION CHECK)

(a) Enter self-diagnostic mode.

Click here

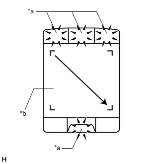
(b) Operate the remote touch screen diagonally from the upper left to the lower right and check that the brightness of the switch illumination changes.

NOTICE:

Since the remote touch screen may recognize a pinch in/out or flick operation if operated with 2 fingers, always use 1 finger to operate the remote touch screen in self-diagnostic mode.

*a

Switch Illumination

*b

Remote Touch Screen

OK:

Brightness changes according to remote touch screen operation.

NG

REPLACE REMOTE TOUCH (REMOTE OPERATION CONTROLLER ASSEMBLY)

OK

5.

CHECK HARNESS AND CONNECTOR (ILLUMINATION SIGNAL CIRCUIT)

(a) Disconnect the G56 remote touch (remote operation controller assembly) connector.

(b) Measure the voltage according to the value(s) in the table below.

Standard Voltage:

Tester Connection

Condition

Specified Condition

G56-2 (ILL+) - Body ground

Power switch off

Light control switch in tail or head position

11 to 14 V

NG

REPAIR OR REPLACE HARNESS OR CONNECTOR

OK

6.

CHECK HARNESS AND CONNECTOR (REMOTE TOUCH (REMOTE OPERATION CONTROLLER ASSEMBLY) - COMBINATION METER ASSEMBLY)

(a) Disconnect the G56 remote touch (remote operation controller assembly) connector.

(b) Disconnect the G17 combination meter assembly connector.

(c) Measure the resistance according to the value(s) in the table below.

Standard Resistance:

Tester Connection

Condition

Specified Condition

G56-5 (ILL-) - G17-39 (ILL-)

Always

Below 1 Ω

G56-5 (ILL-) or G17-39 (ILL-) - Body ground

Always

10 kΩ or higher

OK

REPLACE REMOTE TOUCH (REMOTE OPERATION CONTROLLER ASSEMBLY)

NG

REPAIR OR REPLACE HARNESS OR CONNECTOR

READ NEXT:

 Switch Lights of Remote Touch do not Illuminate

DESCRIPTION Power is supplied to the remote touch (remote operation controller assembly) illumination when the light control switch is in the tail or head position. WIRING DIAGRAM CAUTION / NOTICE /

 Switch Operation of Remote Touch not Accepted

CAUTION / NOTICE / HINT NOTICE: Depending on the parts that are replaced during vehicle inspection or maintenance, performing initialization, registration or calibration may be needed. Refer to Pre

 System Description

SYSTEM DESCRIPTION DISC PLAYER OUTLINE (a) A disc player uses a laser pickup to read digital signals recorded on a disc. By converting the digital signals to analog, it can play music and audio. CAUTI

SEE MORE:

 Rear Center Microphone Circuit Component Internal Failure (B1AAA96,B1AAB1C)

DESCRIPTION These DTCs are stored when a malfunction occurs in the No. 3 active noise control microphone system. DTC No. Detection Item DTC Detection Condition Trouble Area B1AAA96 Rear Center Microphone Circuit Component Internal Failure Stereo component equalizer assembly detects

 Right Front Wheel Speed Sensor Circuit Voltage Out of Range (C05061C)

DESCRIPTION Refer to DTC C050612 Click here DTC No. Detection Item DTC Detection Condition Trouble Area C05061C Right Front Wheel Speed Sensor Circuit Voltage Out of Range When the vehicle is being driven in a straight line at a speed of 20 km/h (12 mph) or more and VSC/TRAC ha

© 2016-2026 Copyright www.lexguide.net