Lexus ES manuals

Lexus ES: Switch Lights of Remote Touch do not Illuminate

DESCRIPTION

Power is supplied to the remote touch (remote operation controller assembly) illumination when the light control switch is in the tail or head position.

WIRING DIAGRAM

CAUTION / NOTICE / HINT

NOTICE:

Inspect the fuse for circuits related to this system before performing the following procedure.

PROCEDURE

1.

CHECK SYMPTOMS

(a) Perform the following procedure and check the switch illumination again.

(1) If the vehicle is in a bright area, move it to a dark area.

HINT:

When the vehicle is in a bright area, the switch illumination may not turn on due to the automatic dimmer function.

(2) Set the rheostat to maximum brightness.

HINT:

If the brightness of the rheostat is set to low, switch illumination may not be recognized even when the switch illumination turns on.

(3) If the light control switch is in the AUTO position, turn the switch to the tail or head position.

HINT:

If the light control switch is in the AUTO position, the switch illumination will not turn on unless the surrounding area is dark.

OK:

Switch illumination turns on.

*a

Switch Illumination

OK

END

NG

2.

REMOTE TOUCH (REMOTE OPERATION CONTROLLER ASSEMBLY) SELF CHECK (SWITCH ILLUMINATION CHECK)

(a) Enter self-diagnostic mode.

Click here

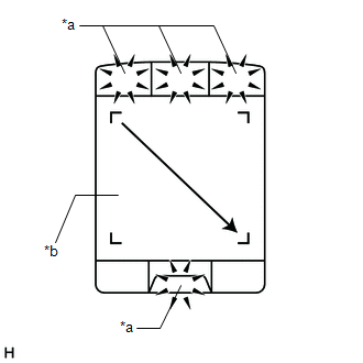
(b) Operate the remote touch screen diagonally from the upper left to the lower right and check that the brightness of the switch illumination changes.

NOTICE:

Since the remote touch screen may recognize a pinch in/out or flick operation if operated with 2 fingers, always use 1 finger to operate the remote touch screen in self-diagnostic mode.

OK:

Brightness changes according to remote touch screen operation.

*a

Switch Illumination

*b

Remote Touch Screen

NG

REPLACE REMOTE TOUCH (REMOTE OPERATION CONTROLLER ASSEMBLY)

OK

3.

CHECK HARNESS AND CONNECTOR (ILLUMINATION SIGNAL CIRCUIT)

(a) Disconnect the G56 remote touch (remote operation controller assembly) connector.

(b) Measure the voltage according to the value(s) in the table below.

Standard Voltage:

Tester Connection

Condition

Specified Condition

G56-2 (ILL+) - Body ground

Power switch off

Light control switch in tail or head position

11 to 14 V

NG

REPAIR OR REPLACE HARNESS OR CONNECTOR

OK

4.

CHECK HARNESS AND CONNECTOR (REMOTE TOUCH (REMOTE OPERATION CONTROLLER ASSEMBLY) - COMBINATION METER ASSEMBLY)

(a) Disconnect the G56 remote touch (remote operation controller assembly) connector.

(b) Disconnect the G17 combination meter assembly connector.

(c) Measure the resistance according to the value(s) in the table below.

Standard Resistance:

Tester Connection

Condition

Specified Condition

G56-5 (ILL-) - G17-39 (ILL-)

Always

Below 1 Ω

G56-5 (ILL-) or G17-39 (ILL-) - Body ground

Always

10 kΩ or higher

NG

REPAIR OR REPLACE HARNESS OR CONNECTOR

OK

5.

REPLACE REMOTE TOUCH (REMOTE OPERATION CONTROLLER ASSEMBLY)

(a) Replace the remote touch (remote operation controller assembly) with a new or known good one.

Click here

(b) Check if the switch illumination turns on.

OK:

The switch illumination turns on when the light control switch is in the tail or head position.

OK

END

NG

GO TO METER / GAUGE SYSTEM

READ NEXT:

 Switch Operation of Remote Touch not Accepted

CAUTION / NOTICE / HINT NOTICE: Depending on the parts that are replaced during vehicle inspection or maintenance, performing initialization, registration or calibration may be needed. Refer to Pre

 System Description

SYSTEM DESCRIPTION DISC PLAYER OUTLINE (a) A disc player uses a laser pickup to read digital signals recorded on a disc. By converting the digital signals to analog, it can play music and audio. CAUTI

 System Diagram

SYSTEM DIAGRAM w/ Parking Assist Monitor System w/ Panoramic View Monitor System w/ Manual (SOS) Switch w/o Manual (SOS) Switch for 10 Speakers for 17 Speakers

SEE MORE:

 ABS Operates Before Necessary When Braking

DESCRIPTION Troubleshooting for when ABS operates too soon due to a noisy signal from the speed sensor, a difference in output, etc. CAUTION / NOTICE / HINT NOTICE: After replacing or removing and installing a speed sensor, perform Dealer Mode (Signal Check) inspection to confirm that the speed s

 Drive Motor "A" Control Module Internal Electronic Failure (P0A1B49)

DESCRIPTION The MG ECU, which is built into the inverter with converter assembly, monitors its internal operation and will store DTCs if the system is malfunctioning. DTC No. Detection Item DTC Detection Condition Trouble Area MIL Warning Indicate P0A1B49 Drive Motor "A" Control M

© 2016-2026 Copyright www.lexguide.net