Lexus ES manuals

Lexus ES: Replacement

REPLACEMENT

CAUTION / NOTICE / HINT

The necessary procedures (adjustment, calibration, initialization, or registration) that must be performed after parts are removed and installed, or replaced during diaphragm oil seal removal/installation are shown below.

Necessary Procedures After Parts Removed/Installed/Replaced

Replaced Part or Performed Procedure

Necessary Procedure

Effect/Inoperative Function when Necessary Procedure not Performed

Link

*1: for LED Type Turn Signal Light

Rear wheel alignment adjustment

  • Perform "Reset Memory"
  • Perform acceleration sensor zero point calibration and store system information memorization
  • VSC disabled or malfunctioning
  • DTCs are output
  • Slip indicator light illuminated
  • ABS warning light illuminated

Suspension, tires, etc.

(The vehicle height changes because of suspension or tire replacement)

  • Measure ultrasonic sensor detection angle
  • Ultrasonic sensor detection angle registration
  • Parking Support Alert System
  • Parking Support Brake System

Rear television camera assembly optical axis adjustment (Back camera position setting)

Parking Assist Monitor System

for Initialization

for Calibration

  • Parking assist ECU initialization
  • Adjust steering angle
  • Rear television camera assembly optical axis (Back camera position setting)

Panoramic View Monitor System

for Initialization

for Calibration

Perform headlight ECU sub-assembly LH initialization*1

Lighting System

Rear height control sensor sub-assembly LH

Perform headlight ECU sub-assembly LH initialization*1

Lighting System

Exhaust system parts

Inspection after repair

  • Poor idle, etc.
  • Engine start function, etc.

CAUTION:

To prevent burns, do not touch the engine, exhaust pipe or other high temperature components while the engine is hot.

PROCEDURE

1. REMOVE REAR DIFFERENTIAL CARRIER ASSEMBLY

Click here

2. REMOVE REAR NO. 1 DIFFERENTIAL SUPPORT

Click here

3. REMOVE REAR NO. 2 DIFFERENTIAL SUPPORT

Click here

4. REMOVE TRANSMISSION COUPLING ASSEMBLY

Click here

5. REMOVE TRANSMISSION COUPLING CONICAL SPRING WASHER

Click here

6. REMOVE TRANSMISSION COUPLING SHIM

Click here

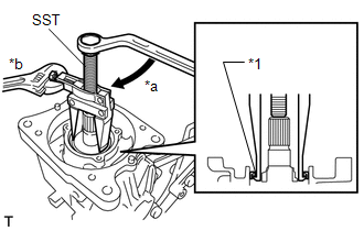
7. REMOVE DIAPHRAGM OIL SEAL

(a) Using SST, remove the diaphragm oil seal from the rear differential carrier sub-assembly.

SST: 09308-10010

*1

Diaphragm Oil Seal

*a

Turn

*b

Hold

8. INSTALL DIAPHRAGM OIL SEAL

(a) Coat the lip of a new diaphragm oil seal with MP grease.

(b) Using SST and a hammer, tap the diaphragm oil seal into the rear differential carrier sub-assembly until it reaches the standard value.

SST: 09710-30021

09710-03121

SST: 09950-60011

09951-00570

SST: 09950-70010

09951-07100

Standard distance:

6.5 to 7.5 mm (0.256 to 0.295 in.) (from the edge of the differential carrier sub-assembly)

NOTICE:

  • Tap the oil seal uniformly so that the oil seal is straight.
  • Do not tap the oil seal in too far.

*1

Diaphragm Oil Seal

*a

Distance

9. INSTALL TRANSMISSION COUPLING SHIM

Click here

10. INSTALL TRANSMISSION COUPLING CONICAL SPRING WASHER

Click here

11. INSTALL TRANSMISSION COUPLING ASSEMBLY

Click here

12. INSTALL REAR NO. 1 DIFFERENTIAL SUPPORT

Click here

13. INSTALL REAR NO. 2 DIFFERENTIAL SUPPORT

Click here

14. INSTALL REAR DIFFERENTIAL CARRIER ASSEMBLY

Click here

READ NEXT:

 Rear Differential Side Gear Shaft Oil Seal

 Components

COMPONENTS ILLUSTRATION *1 REAR DRIVE SHAFT OIL SEAL LH - - ● Non-reusable part MP grease

 Replacement

REPLACEMENT CAUTION / NOTICE / HINT The necessary procedures (adjustment, calibration, initialization, or registration) that must be performed after parts are removed and installed, or replaced during

SEE MORE:

 Diagnosis System

DIAGNOSIS SYSTEM DESCRIPTION (a) The motor generator control ECU (MG ECU) (inverter with converter assembly) has a self-diagnosis system. If the motor generator control ECU (MG ECU), motor generator system or a component is not working properly, the ECU records the conditions that relate to the faul

 DC/DC Converter Current Sensor Circuit Current Out of Range (P31531D)

DTC SUMMARY MALFUNCTION DESCRIPTION This DTC is stored if the value of the reactor current sensor fluctuates excessively. The cause of this malfunction may be one of the following: Area Main Malfunction Description Hybrid vehicle transaxle assembly Open or short circuit in the motor or

© 2016-2026 Copyright www.lexguide.net