Lexus ES manuals

Lexus ES: Removal

REMOVAL

CAUTION / NOTICE / HINT

The necessary procedures (adjustment, calibration, initialization, or registration) that must be performed after parts are removed and installed, or replaced during front shock absorber assembly removal/installation are shown below.

Necessary Procedures After Parts Removed/Installed/Replaced (for HV Model:)

Replaced Part or Performed Procedure

Necessary Procedure

Effect/Inoperative Function when Necessary Procedure not Performed

Link

*1: for LED type turn signal light

Front wheel alignment adjustment

  1. Clear zero point calibration data.
  2. Perform yaw rate and acceleration sensor zero point calibration.
  • DTCs are stored
  • ABS warning light illuminates
  • Brake warning light / yellow (minor malfunction) illuminates
  • Slip indicator light illuminates
  • VSC disabled or malfunctions

Suspension, tires, etc.

(The vehicle height changes because of suspension or tire replacement.)

  • Measure ultrasonic sensor detection angle
  • Ultrasonic sensor detection angle registration
  • Parking Support Alert System
  • Parking Support Brake System

Rear television camera assembly optical axis adjustment (Back camera position setting)

Parking Assist Monitor System

for Initialization:

for Calibration:

  • Parking assist ECU initialization
  • Adjust steering angle
  • Rear television camera assembly optical axis (Back camera position setting)

Panoramic View Monitor System

for Initialization:

for Calibration:

Perform headlight ECU sub-assembly LH initialization*1

Lighting System

CAUTION / NOTICE / HINT

Necessary Procedures After Parts Removed/Installed/Replaced (for Gasoline Model:)

Replaced Part or Performed Procedure

Necessary Procedure

Effect/Inoperative Function when Necessary Procedure not Performed

Link

*1: for LED Type Turn Signal Light

Front wheel alignment adjustment

  1. Perform "Reset Memory".
  2. Perform acceleration sensor zero point calibration and store system information memorization.
  • VSC is disabled or malfunctions
  • DTCs are output
  • Slip indicator light illuminates
  • ABS warning light illuminates

Suspension, tires, etc.

(The vehicle height changes because of suspension or tire replacement.)

  • Measure ultrasonic sensor detection angle
  • Ultrasonic sensor detection angle registration
  • Parking Support Alert System
  • Parking Support Brake System

Rear television camera assembly optical axis adjustment (Back camera position setting)

Parking Assist Monitor System

for Initialization:

for Calibration:

  • Parking assist ECU initialization
  • Adjust steering angle
  • Rear television camera assembly optical axis (Back camera position setting)

Panoramic View Monitor System

for Initialization:

for Calibration:

Perform headlight ECU sub-assembly LH initialization*1

Lighting System

HINT:

  • Use the same procedure for the RH side and LH side.
  • The following procedure is for the LH side.
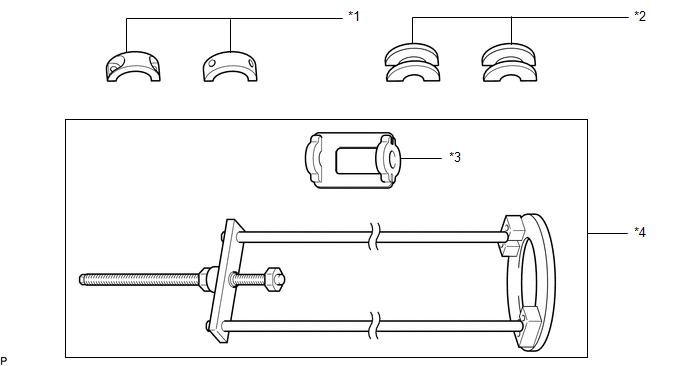
  • SST used when removing/installing the coil spring are shown as follows. (w/o AVS)

    *1

    SST(09727-58100)

    *2

    SST(09727-58130)

    *3

    SST(09727-58030)

    *4

    SST(09727-58010)

PROCEDURE

1. REMOVE FRONT WHEEL

Click here

2. REMOVE COWL TOP VENTILATOR LOUVER SUB-ASSEMBLY

Click here

3. SEPARATE FRONT STABILIZER LINK ASSEMBLY

(a) Remove the nut and separate the front stabilizer link assembly from the front shock absorber assembly.

NOTICE:

Do not damage the boot of the ball joint.

HINT:

If the ball joint turns together with the nut, use a 6 mm hexagon socket wrench to hold the stud bolt.

4. SEPARATE FRONT SPEED SENSOR (w/o AVS)

(a) Remove the bolt, disengage the clamp and separate the front speed sensor and front flexible hose from the front shock absorber assembly.

NOTICE:

Be sure to separate the front speed sensor and front flexible hose from the front shock absorber assembly completely.

5. SEPARATE FRONT SPEED SENSOR (w/ AVS)

(a) Disconnect the front speed sensor wire connector from the sensor bracket.

(b) Disconnect the AVS connector from the absorber control actuator.

(c) Remove the 2 bolts and separate the front speed sensor wire and front flexible hose from the front shock absorber assembly.

NOTICE:

Be sure to separate the front speed sensor wire and front flexible hose from the front shock absorber assembly completely.

6. LOOSEN FRONT SUPPORT TO FRONT SHOCK ABSORBER NUT

(a) Remove the front shock absorber lock nut cap from the front support to front shock absorber nut.

(b) Loosen the front support to front shock absorber nut.

CAUTION:

  • Only loosen the front support to front shock absorber nut if the front shock absorber with coil spring needs to be disassembled.
  • Only loosen the front support to front shock absorber nut, do not remove it.
  • If the front support to front shock absorber nut is removed with the front coil spring under tension, components of the front shock absorber with coil spring may fly off.

7. REMOVE FRONT SHOCK ABSORBER WITH COIL SPRING

(a) Support the front lower No. 1 suspension arm sub-assembly using a jack and wooden block.

*a

Wooden Block

*b

Jack

Front of the Vehicle

Wooden Block Placement Location

NOTICE:

Keep the front lower No. 1 suspension arm sub-assembly supported until installation of the front shock absorber with coil spring is complete.

(b) Remove the 2 bolts and 2 nuts, and separate the front shock absorber with coil spring (lower side) from the steering knuckle.

NOTICE:

  • When removing the nuts, keep the bolts from rotating.
  • Use wire or an equivalent tool to hang the separated steering knuckle.

(c) Remove the 3 nuts and front shock absorber with coil spring.

8. REMOVE FRONT SUPPORT TO FRONT SHOCK ABSORBER NUT

(a) w/o AVS:

(1) Disengage the end of the front No. 1 shock absorber dust cover from the claws of the front shock absorber assembly.

*1

Front No. 1 Shock Absorber Dust Cover

*a

Claw

(2) Fold back the front No. 1 shock absorber dust cover.

NOTICE:

Check that the front No. 1 shock absorber dust cover is not excessively deformed or crushed.

(3) Using a piece of cloth, etc., clean the shock rod and remove any foreign matter and oil.

NOTICE:

Thoroughly clean the shock rod to prevent damage to the shock rod due to contact of foreign matter.

*a

Cloth, etc.

*b

Shock Rod

(4) Attach SST (09727-58100) to SST (09727-58130).

SST: 09727-58100

SST: 09727-58130

NOTICE:

Check that there are no cracks or damage in SST (09727-58130) that could prevent it from securing the shock rod of the front shock absorber assembly.

If there are, replace SST (09727-58130) with a new one.

*1

SST(09727-58100)

*2

SST(09727-58130)

(5) Clean the surface of SST (09727-58130) to which the front shock absorber assembly is installed and remove any foreign matter and oil.

NOTICE:

Thoroughly clean the installation surface to prevent damage to the shock rod due to contact of foreign matter.

*a

Installation Surface

(6) Using a long ball hexagon 5, install SST (09727-58100) and SST (09727-58130) to the shock rod.

NOTICE:

When installing SST (09727-58100) and SST (09727-58130), do not fold back the front No. 1 shock absorber dust cover in an improper direction and deform it.

HINT:

  • Install SST (09727-58100) and SST (09727-58130) to the base of the shock rod and check that SST (09727-58100) and SST (09727-58130) are securing the shock rod.
  • The front shock absorber assembly has a built-in rebound spring and is constructed to constantly contract the shock rod.

    For this reason, it is difficult to sufficiently contract the coil spring to a level that frees the front suspension support sub-assembly using only the coil spring compressor (09727-30022), making it necessary for SST (09727-58100), SST (09727-58130) and a long ball hexagon 5 to be used to ensure a shock rod free length in which work can be performed with a small amount of compression.

(b) Secure SST in a vise.

SST: 09727-00051

SST: 09727-30022

09727-00010

09727-00031

(c) Attach the hooks of each SST arm across the diameter of the coil spring.

CAUTION:

  • Make sure that the hooks are securely attached to the coil spring.
  • If a hook disengages from the coil spring, the coil spring may fly out, resulting in injury.
  • Make sure that the hooks of the upper and lower SST arms are attached to the coil spring so that the distance between the hooks is as large as possible.
  • If a hook disengages from the coil spring, the coil spring may fly out, resulting in injury.
  • Make sure that the arms of SST are parallel and the number of coils between the arms is the same on each side.
  • If a hook disengages from the coil spring, the coil spring may fly out, resulting in injury.

(d) Install the stopper pins to the hooks of SST.

CAUTION:

  • Make sure that the stopper pins are installed securely.
  • If a hook disengages from the coil spring, the coil spring may fly out, resulting in injury.

(e) Install SST and 2 vehicle nuts to the upper support as shown in the illustration.

SST: 09727-30022

09727-00090

09727-00100

*a

Vehicle Nut

(f) Using SST, compress the coil spring.

CAUTION:

  • If the coil spring starts to bow out while using SST, stop immediately and reattach SST correctly.
  • If a hook disengages from the coil spring, the coil spring may fly out, resulting in injury.
  • Do not compress the coil spring to the point where the coils touch each other.
  • If a hook disengages from the coil spring, the coil spring may fly out, resulting in injury.
  • Do not use an impact wrench.
  • If an impact wrench is used, the threads of SST may be damaged, or sudden compression of the coil spring may cause a hook to disengage and the coil spring to fly out, resulting in injury.
  • If a stopper pin touches the coil spring while using SST, remove the stopper pin and continue with the procedure.
  • If a stopper pin is removed, install a coil spring stopper belt as shown in the illustration.
  • If a hook disengages from the coil spring, the coil spring may fly out, resulting in injury.

SST: 09727-00110

(g) Check that the coil spring has become detached, and then remove the front support to front shock absorber nut.

CAUTION:

  • Do not remove the front support to front shock absorber nut while the coil spring is under tension.
  • If the front support to front shock absorber nut is removed with the coil spring under tension, components of the front shock absorber with coil spring may fly off, resulting in injury.

9. REMOVE FRONT SUSPENSION SUPPORT SUB-ASSEMBLY

(a) Remove the front suspension support sub-assembly from the front shock absorber assembly.

10. REMOVE STRUT MOUNTING BEARING WITH DUST COVER

(a) w/ AVS:

(1) Disengage the end of the front No. 1 shock absorber dust cover from the claws of the front shock absorber assembly.

*1

Front No. 1 Shock Absorber Dust Cover

*a

Claw

(b) Remove the strut mounting bearing with dust cover from the front shock absorber assembly.

11. REMOVE FRONT UPPER COIL SPRING INSULATOR

(a) Remove the front upper coil spring insulator from the strut mounting bearing.

12. REMOVE STRUT MOUNTING BEARING

(a) Disengage the top end of the front No. 1 shock absorber dust cover to remove the strut mounting bearing from the shock absorber dust cover.

13. REMOVE FRONT COIL SPRING

(a) Remove the front coil spring and SST.

NOTICE:

Do not use an impact wrench. It will damage SST.

14. REMOVE FRONT SPRING BUMPER

(a) Remove the front spring bumper from the front shock absorber assembly.

15. REMOVE FRONT LOWER COIL SPRING INSULATOR

(a) Remove the front lower coil spring insulator from the front shock absorber assembly.

16. REMOVE FRONT SHOCK ABSORBER ASSEMBLY (w/ AVS)

17. REMOVE FRONT SHOCK ABSORBER ASSEMBLY (w/o AVS)

(a) Using SST (09727-58010), remove SST (09727-58100) and SST (09727-58130) from the front shock absorber assembly.

SST: 09727-58010

09727-58030

*1

Front Shock Absorber Assembly

*2

Shock Absorber Outer Shell

*a

Turn

*b

Hold

*c

Fixing Nut

*d

Bolt

NOTICE:

Apply molybdenum grease to the bolt (area with diagonal lines) of SST (09727-58010).

Application Area

(1) Install SST (09727-58030) to the end of the shock rod of the front shock absorber assembly.[#1]

(2) Install SST (09727-58010) to the front shock absorber assembly.[#2]

NOTICE:

Take due care when installing SST (09727-58010) to ensure the shock rod is not damaged.

(3) Secure the SST (09727-58010) bolt and SST (09727-58030) with the fixing nut.[#3]

(4) After securing the SST (09727-58010) bolt, rotate the nut clockwise.[#4]

NOTICE:

Extend the shock rod until SST (09727-58100) and SST (09727-58130) separate from the shock absorber outer shell.

(5) Using a long ball hexagon 5, remove SST (09727-58100) and SST (09727-58130).[#5]

NOTICE:

If SST (09727-58100) and SST (09727-58130) are removed without using SST (09727-58010), the action of the rebound spring will cause the shock rod to contract suddenly. Therefore, remove SST (09727-58100) and SST (09727-58130) after securing the shock rod with SST (09727-58010).

(6) Using a piece of cloth, etc., clean the shock rod of the front shock absorber assembly and remove any foreign matter and oil.

NOTICE:

If the shock rod is expanded/contracted while foreign matter or oil are still present, it may damage the front shock absorber assembly or cause oil leaks.

(7) After securing the SST (09727-58010) bolt, rotate the nut counterclockwise.

(8) Check that the shock rod and SST (09727-58030) have become free before releasing the fixing nut and removing SST (09727-58010) from the end of the shock rod.

NOTICE:

Take due care when removing SST (09727-58010) to ensure the shock rod is not damaged.

(9) Remove SST (09727-58030) from the end of the shock rod.

(10) Using a piece of cloth, etc., clean the end of the shock rod threads and remove any foreign matter and oil.

READ NEXT:

 Inspection

INSPECTION PROCEDURE 1. INSPECT FRONT SHOCK ABSORBER ASSEMBLY (a) Compress and extend the front shock absorber assembly rod 4 times or more. Standard: When compressed and extended at a constant speed

 Installation

INSTALLATION CAUTION / NOTICE / HINT HINT: Use the same procedure for the RH side and LH side. The following procedure is for the LH side. PROCEDURE 1. INSTALL SST (w/o AVS) (a) Align the slot

 Disposal

DISPOSAL PROCEDURE 1. DISPOSE OF FRONT SHOCK ABSORBER ASSEMBLY CAUTION: Always use a cloth to prevent shards of metal flying about due to the release of pressurized gas. Always wear safety glasse

SEE MORE:

 Engine Coolant Temperature Sensor 1 Circuit Short to Ground (P011511)

DESCRIPTION A thermistor, whose resistance value varies according to the engine coolant temperature, is built into the engine coolant temperature sensor. The structure of the sensor and its connection to the ECM are the same as those of the intake air temperature sensor. Refer to DTC P011011. Click

 Inspection

INSPECTION PROCEDURE 1. INSPECT FRONT OIL PUMP ASSEMBLY (a) Install the oil pump drive shaft sub-assembly to the front oil pump assembly. NOTICE: To avoid damaging the bush of the front oil pump assembly, install the oil pump drive shaft sub-assembly perpendicularly relative to the front oil pump

© 2016-2026 Copyright www.lexguide.net