Lexus ES manuals

Lexus ES: Reassembly

REASSEMBLY

PROCEDURE

1. BEARING POSITION

Check bearing position and installation direction.

Thrust Needle Roller Bearing and Bearing Race Diameter:

Mark

Front Side Thrust Bearing Race Diameter Inside / Outside

mm (in.)

Thrust Bearing Diameter Inside / Outside

mm (in.)

Rear Side Thrust Bearing Race Diameter Inside / Outside

mm (in.)

A

32.6 (1.28) / 54.2 (2.13)

31.7 (1.25) / 52.3 (2.06)

31.7 (1.25) / 52.3 (2.06)

B

59.8 (2.35) / 77.0 (3.03)

58.3 (2.30) / 75.0 (2.95)

-

C

-

39.2 (1.54) / 52.6 (2.07)

38.1 (1.50) / 50.2 (1.98)

D

-

33.3 (1.31) / 46.3 (1.82)

34.2 (1.35) / 47.3 (1.86)

E

34.4 (1.35) / 48.7 (1.92)

33.2 (1.31) / 47.7 (1.88)

33.2 (1.31) / 47.7 (1.88)

F

25.58 (1.01) / 43.7 (1.72)

24.2 (0.953) / 43.7 (1.72)

24.2 (0.953) / 43.7 (1.72)

G

-

50.5 (1.99) / 74.5 (2.93)

52.8 (2.08) / 76.4 (3.01)

2. INSTALL AUTOMATIC TRANSMISSION CASE STRAIGHT PIN

NOTICE:

It is not necessary to remove the automatic transmission case straight pins unless they are being replaced.

HINT:

  • TMC (TOYOTA) Made, AW (AISIN AW) Made and TMMWV (TOYOTA) Made components can be identified by the differing locations where the serial number is stamped.

    *a

    TMC Made

    *b

    AW, TMMWV Made

  • for AW, TMMWV Made:
    • Refer to introduction and check the serial number. Confirm the factory at which the automatic transaxle assembly was manufactured according to the following table.

      Serial Number

      Factory

      ##6########

      for AW (AISIN AW) Made

      ##A########

      for TMMWV Made

(a) Using a plastic hammer, tap in 2 new automatic transmission case straight pins to the specified protrusion height.

Protrusion Height:

for TMC, TMMWV Made

7.0 to 8.0 mm (0.276 to 0.315 in.)

for AISIN AW Made

10.7 to 11.3 mm (0.421 to 0.445 in.)

*A

for TMC, TMMWV Made

*B

for AISIN AW Made

3. INSTALL COUNTER DRIVEN GEAR FRONT TAPERED ROLLER BEARING (INNER RACE)

(a) Using SST and a press, install a new counter driven gear front tapered roller bearing (inner race) to the pinion and counter driven gear sub-assembly.

SST: 09950-60011

09951-00550

SST: 09950-70010

09951-07150

NOTICE:

Be sure to install the counter driven gear front tapered roller bearing (inner race) so that there is no clearance between the counter driven gear front tapered roller bearing (inner race) and the pinion and counter driven gear sub-assembly. If there is any clearance, the turning torque of the pinion and counter driven gear sub-assembly cannot be measured correctly.

4. INSTALL COUNTER DRIVEN GEAR FRONT TAPERED ROLLER BEARING (OUTER RACE)

(a) Using SST and a hammer, install a new counter driven gear front tapered roller bearing (outer race) and pinion and counter driven gear shim to the transaxle housing.

SST: 09950-60021

09951-00780

SST: 09950-70010

09951-07150

NOTICE:

Be sure to install the counter driven gear front tapered roller bearing (outer race) so that there is no clearance between the counter driven gear front tapered roller bearing (outer race), pinion and counter driven gear shim and the transaxle housing. If there is any clearance, the turning torque of the pinion and counter driven gear sub-assembly cannot be measured correctly.

5. INSTALL COUNTER DRIVEN GEAR REAR TAPERED ROLLER BEARING (INNER RACE)

(a) Using SST and a press, install a new counter driven gear rear tapered roller bearing (inner race) to the pinion and counter driven gear sub-assembly.

SST: 09506-30012

SST: 09950-60011

09951-00420

09951-00550

SST: 09950-70010

09951-07150

NOTICE:

Be sure to install the counter driven gear rear tapered roller bearing (inner race) so that there is no clearance between the counter driven gear rear tapered roller bearing (inner race) and the pinion and counter driven gear sub-assembly. If there is any clearance, the turning torque of the pinion and counter driven gear sub-assembly cannot be measured correctly.

6. INSTALL COUNTER DRIVEN GEAR REAR TAPERED ROLLER BEARING (OUTER RACE)

(a) Using SST and a hammer, install a new counter driven gear rear tapered roller bearing (outer race) to the automatic transaxle case sub-assembly.

SST: 09950-60021

09951-00680

SST: 09950-70010

09951-07150

NOTICE:

Be sure to install the counter driven gear rear tapered roller bearing (outer race) so that there is no clearance between the counter driven gear rear tapered roller bearing (outer race) and the automatic transaxle case sub-assembly. If there is any clearance, the turning torque of the pinion and counter driven gear sub-assembly cannot be measured correctly.

7. ADJUST FRONT DIFFERENTIAL CASE TAPERED ROLLER BEARING PRELOAD

HINT:

  • TMC (TOYOTA) Made, AW (AISIN AW) Made and TMMWV (TOYOTA) Made components can be identified by the differing locations where the serial number is stamped.

    *a

    TMC Made

    *b

    AW, TMMWV Made

  • for AW, TMMWV Made:
    • Refer to introduction and check the serial number. Confirm the factory at which the automatic transaxle assembly was manufactured according to the following table.

      Serial Number

      Factory

      ##6########

      for AW (AISIN AW) Made

      ##A########

      for TMMWV Made

(a) Remove any remaining seal packing from the contact surfaces of the transaxle housing and automatic transaxle case sub-assembly.

(b) Coat the front differential case front tapered roller bearing (inner race) and the front differential case rear tapered roller bearing (inner race) with a sufficient amount of Toyota Genuine ATF WS.

(c) Install the differential case assembly to the automatic transaxle case sub-assembly.

(d) Install the transaxle housing to the automatic transaxle case sub-assembly with the 21 bolts (A and B).

Torque:

29.4 N·m {300 kgf·cm, 22 ft·lbf}

Bolt Length:

Bolt (A)

Bolt (B)

40 mm (1.57 in.)

35 mm (1.38 in.)

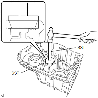
(e) Using SST, rotate the differential case assembly 20 times or more to stabilize the bearing.

SST: 09564-33010

(f) Using SST and a torque wrench, measure the turning torque of the front differential case tapered roller bearing while rotating SST at 10 rpm.

SST: 09564-33010

Standard Turning Torque:

for TMC, AISIN AW Made

0.69 to 1.02 N*m (8 to 10 kgf*cm, 7 to 9 in.*lbf)

for TMMWV Made

0.99 to 1.28 N*m (11 to 13 kgf*cm, 9 to 11 in.*lbf)

If the turning torque is not within the specified range, refer to the table below to select a shim so that the turning torque is within the specified range.

Differential Drive Pinion Shim Thickness:

Part Number

Thickness

mm (in.)

Mark

90564-75002

1.10 (0.0433)

50

90564-75003

1.13 (0.0445)

51

90564-75004

1.16 (0.0457)

52

90564-75005

1.19 (0.0469)

53

90564-75006

1.22 (0.0480)

54

90564-75007

1.25 (0.0492)

55

90564-75008

1.28 (0.0504)

56

90564-75009

1.31 (0.0516)

57

90564-75010

1.34 (0.0528)

58

90564-75011

1.37 (0.0539)

59

90564-75012

1.40 (0.0551)

60

90564-75013

1.43 (0.0563)

61

90564-75014

1.46 (0.0575)

62

90564-75015

1.49 (0.0587)

63

90564-75016

1.52 (0.0598)

64

90564-75017

1.55 (0.0610)

65

90564-75018

1.58 (0.0622)

66

90564-75019

1.61 (0.0634)

67

90564-75023

1.64 (0.0646)

68

90564-75024

1.67 (0.0657)

69

90564-75025

1.70 (0.0669)

70

90564-75026

1.73 (0.0681)

71

90564-75027

1.76 (0.0693)

72

90564-75028

1.79 (0.0705)

73

90564-75029

1.82 (0.0717)

74

90564-75030

1.85 (0.0728)

75

90564-75031

1.88 (0.0740)

76

90564-75032

1.91 (0.0752)

77

90564-75033

1.94 (0.0764)

78

90564-75034

1.97 (0.0776)

79

90564-75035

2.00 (0.0787)

80

(g) Remove the 21 bolts and transaxle housing from the automatic transaxle case sub-assembly.

8. ADJUST PINION AND COUNTER DRIVEN GEAR TAPERED ROLLER BEARING PRELOAD

HINT:

  • TMC (TOYOTA) Made, AW (AISIN AW) Made and TMMWV (TOYOTA) Made components can be identified by the differing locations where the serial number is stamped.

    *a

    TMC Made

    *b

    AW, TMMWV Made

  • for AW, TMMWV Made:
    • Refer to introduction and check the serial number. Confirm the factory at which the automatic transaxle assembly was manufactured according to the following table.

      Serial Number

      Factory

      ##6########

      for AW (AISIN AW) Made

      ##A########

      for TMMWV Made

(a) Coat the counter driven gear front tapered roller bearing (inner race) and the counter driven gear rear tapered roller bearing (inner race) with a sufficient amount of Toyota Genuine ATF WS.

(b) Install the pinion and counter driven gear sub-assembly to the automatic transaxle case sub-assembly.

(c) Install the transaxle housing to the automatic transaxle case sub-assembly with the 21 bolts (A and B).

Torque:

29.4 N·m {300 kgf·cm, 22 ft·lbf}

Bolt Length:

Bolt (A)

Bolt (B)

40 mm (1.57 in.)

35 mm (1.38 in.)

(d) Using SST, rotate the differential case assembly 20 times or more to stabilize the bearing.

SST: 09564-33010

(e) Using SST and a torque wrench, measure the turning torque of the pinion and counter driven gear tapered roller bearing while rotating SST at 10 rpm.

SST: 09564-33010

Standard Turning Torque:

for TMC, AISIN AW Made

Front differential case tapered roller bearing preload + 0.99 to 2.26 N*m (11 to 23 kgf*cm, 9 to 20 in.*lbf)

for TMMWV Made

Front differential case tapered roller bearing preload + 1.75 to 2.61 N*m (18 to 26 kgf*cm, 16 to 23 in.*lbf)

If the turning torque is not within the specified range, refer to the table below to select a shim so that the turning torque is within the specified range.

Pinion and Counter Driven Gear Shim Thickness:

Part Number

Thickness

mm (in.)

Mark

90564-67047

1.19 (0.0469)

AA

90564-67048

1.22 (0.0480)

AB

90564-67049

1.25 (0.0492)

AC

90564-67050

1.28 (0.0504)

AD

90564-67051

1.31 (0.0516)

AE

90564-67052

1.34 (0.0528)

AF

90564-67053

1.37 (0.0539)

AG

90564-67054

1.40 (0.0551)

AH

90564-67055

1.43 (0.0563)

AJ

90564-67056

1.46 (0.0575)

AK

90564-67057

1.49 (0.0587)

AL

90564-67058

1.52 (0.0598)

AM

90564-67059

1.55 (0.0610)

AN

90564-67060

1.58 (0.0622)

AP

90564-67061

1.61 (0.0634)

AR

90564-67062

1.64 (0.0646)

AS

90564-67063

1.67 (0.0657)

AT

90564-67064

1.70 (0.0669)

AU

90564-67065

1.73 (0.0681)

AV

90564-67066

1.76 (0.0693)

AW

90564-67067

1.79 (0.0705)

AX

90564-67068

1.82 (0.0717)

AY

90564-67069

1.85 (0.0728)

AZ

90564-67071

1.88 (0.0740)

BA

90564-67072

1.91 (0.0752)

BB

90564-67073

1.94 (0.0764)

BC

90564-67074

1.97 (0.0776)

BD

90564-67075

2.00 (0.0787)

BE

90564-67076

2.03 (0.0799)

BF

90564-67077

2.06 (0.0811)

BG

90564-67078

2.09 (0.0823)

BH

90564-67079

2.12 (0.0835)

BJ

90564-67080

2.15 (0.0846)

BK

90564-67081

2.18 (0.0858)

BL

90564-67082

2.21 (0.0870)

BM

(f) Remove the 21 bolts and transaxle housing from the automatic transaxle case sub-assembly.

(g) Remove the pinion and counter driven gear sub-assembly from the automatic transaxle case sub-assembly.

(h) Remove the differential case assembly from the automatic transaxle case sub-assembly.

9. INSTALL NO. 2 TRANSAXLE CASE PLUG

(a) Clean the 6 No. 2 transaxle case plugs and 6 installation holes.

(b) Apply adhesive to 2 or 3 threads on the end of the No. 2 transaxle case plug.

Adhesive:

Toyota Genuine Adhesive 1324, Three Bond 1324 or equivalent

NOTICE:

Make sure to install the No. 2 transaxle case plug immediately after applying adhesive to prevent foreign matter from attaching to them.

(c) Using a 6 mm socket hexagon wrench, install the 3 No. 2 transaxle case plugs and 3 new gaskets to the automatic transaxle case sub-assembly.

Torque:

17 N·m {173 kgf·cm, 13 ft·lbf}

(d) Using a 6 mm socket hexagon wrench, install the 3 No. 2 transaxle case plugs and 3 new gaskets to the transaxle housing.

Torque:

17 N·m {173 kgf·cm, 13 ft·lbf}

10. INSTALL NO. 1 TRANSAXLE CASE PLUG

(a) Coat 8 new O-rings with Toyota Genuine ATF WS and install them to the 8 No. 1 transaxle case plugs.

(b) Install the 4 No. 1 transaxle case plugs to the automatic transaxle case sub-assembly.

Torque:

7.4 N·m {75 kgf·cm, 65 in·lbf}

(c) Install the 4 No. 1 transaxle case plugs to the transaxle housing.

Torque:

7.4 N·m {75 kgf·cm, 65 in·lbf}

11. INSTALL NEEDLE ROLLER BEARING

(a) Using SST and a press, install a new needle roller bearing to the transaxle housing.

SST: 09950-60011

09951-00560

SST: 09950-70010

09951-07200

NOTICE:

Be careful not to damage the transaxle housing.

12. INSTALL FRONT DRIVE SHAFT OIL SEAL LH

(a) Using SST and a hammer, install a new front drive shaft oil seal LH to the automatic transaxle case sub-assembly.

SST: 09649-17010

SST: 09950-70010

09951-07200

Standard Depth:

-0.5 to 0.5 mm (-0.0197 to 0.0197 in.)

13. INSTALL FRONT DRIVE SHAFT OIL SEAL RH

(a) Using SST and a hammer, install a new front drive shaft oil seal RH to the transaxle housing.

SST: 09316-10010

SST: 09950-70010

09951-07200

Standard Depth:

-0.5 to 0.5 mm (-0.0197 to 0.0197 in.)

14. INSTALL TRANSAXLE CASE OIL SEAL

(a) Clean and degrease the oil seal press-in surface.

(b) Using SST and a hammer, install a new transaxle case oil seal to the transaxle housing.

SST: 09950-60011

09951-00640

SST: 09950-70010

09951-07200

Standard Depth:

-0.5 to 0.5 mm (-0.0197 to 0.0197 in.)

(c) Apply MP grease to the lip of the transaxle case oil seal.

15. INSTALL MANUAL VALVE LEVER SHAFT OIL SEAL

(a) Using SST and a hammer, install a new manual valve lever shaft oil seal to the automatic transaxle case sub-assembly.

SST: 09950-60011

09951-00210

SST: 09950-70010

09951-07200

Standard Depth:

-0.3 to 0.4 mm (-0.0118 to 0.0157 in.)

(b) Apply MP grease to the lip of the manual valve lever shaft oil seal.

16. INSTALL NEEDLE ROLLER BEARING

(a) Using SST and a press, install a new needle roller bearing to the automatic transaxle case sub-assembly.

SST: 09950-60011

09951-00210

SST: 09950-70010

09951-07150

Standard Depth:

2.1 to 2.5 mm (0.0827 to 0.0984 in.)

NOTICE:

Install the needle roller bearing with its supplier name mark facing the front of the automatic transaxle assembly.

17. INSTALL 1ST AND REVERSE BRAKE PISTON

(a) Apply a light coat of Toyota Genuine ATF WS to 2 new O-rings and install them to the 1st and reverse brake piston.

NOTICE:

  • Make sure to correctly distinguish between the inner side and outer side O-rings.
  • Be careful not to damage or twist the O-rings.

(b) Set the 1st and reverse brake return spring sub-assembly on the 1st and reverse brake piston.

*1

1st And Reverse Brake Return Spring Sub-assembly

*2

1st And Reverse Brake Piston

(c) Install the 1st and reverse brake piston with 1st and reverse brake return spring sub-assembly to the automatic transaxle case sub-assembly.

NOTICE:

Make sure that the O-rings are not damaged or do not jump out of position during installation.

18. INSTALL 1ST AND REVERSE BRAKE RETURN SPRING SUB-ASSEMBLY

(a) Set the snap ring on the automatic transaxle case sub-assembly as shown in the illustration.

NOTICE:

The opening of the snap ring should be within the area shown in the illustration (spline portion).

*a

Snap ring opening within this area.

(b) Place SST on the 1st and reverse brake return spring sub-assembly and compress it with a press.

SST: 09380-60011

09381-06020

09381-06050

09381-06060

09381-06100

09381-06110

SST: 09950-70010

09951-07200

NOTICE:

Stop the press when the 1st and reverse brake return spring sub-assembly is flush with the snap ring groove.

(c) Using a screwdriver with its tip wrapped with protective tape, install the snap ring into the snap ring groove of the automatic transaxle case sub-assembly.

NOTICE:

  • Be careful not to damage the automatic transaxle case sub-assembly.
  • Make sure that the snap ring is installed in the groove of the automatic transaxle case sub-assembly correctly.

19. INSTALL NO. 2 1ST AND REVERSE BRAKE PISTON

(a) Install the No. 2 1st and reverse brake piston to the automatic transaxle case sub-assembly.

20. INSTALL 2ND BRAKE BRAKE DISC

(a) Install the 5 2nd brake brake plates, 5 2nd brake brake discs and 2nd brake brake flange to the automatic transaxle case sub-assembly.

NOTICE:

Assemble the 2nd brake brake flange with its tapered surface facing toward the 2nd brake brake disc.

*1

2nd Brake Brake Flange

*2

2nd Brake Brake Disc

*3

2nd Brake Brake Plate

*a

Snap Ring Side

*b

2nd Brake Brake Disc Side

(b) Using a screwdriver with its tip wrapped with protective tape, install the snap ring to the automatic transaxle case sub-assembly.

NOTICE:

The opening of the snap ring should be within the area shown in the illustration (spline portion).

*a

Snap ring opening within this area.

21. INSPECT CLEARANCE OF B-2 BRAKE

Click here

22. INSTALL DIRECT CLUTCH DRUM OIL SEAL RING

(a) Apply a small amount of MP grease to the entire circumference of the direct clutch drum oil seal ring installation groove portion.

HINT:

By applying MP grease, the wobble within the direct clutch drum oil seal ring installation groove will be eliminated, preventing damage to the direct clutch drum oil seal ring at the time of front planetary gear assembly installation.

(b) Coat 2 new direct clutch drum oil seal rings with Toyota Genuine ATF WS and install them to the automatic transaxle case sub-assembly.

NOTICE:

While making the spread of the opening of the direct clutch drum oil seal ring as small as possible, install it to the automatic transaxle case sub-assembly. If the ring opening is spread, briefly hold it closed with your fingers to return it to its original condition.

23. INSTALL C-2 CLUTCH PISTON

(a) Apply a light coat of Toyota Genuine ATF WS to 2 new O-rings and install it to the intermediate shaft sub-assembly.

NOTICE:

Be careful not to damage or twist the O-ring.

(b) Apply a light coat of Toyota Genuine ATF WS to the lip seal of the C-2 clutch piston.

(c) Install the C-2 clutch piston to the intermediate shaft sub-assembly.

NOTICE:

  • Make sure the lip is not cut or folded.
  • Be careful not to damage the lip seal of the C-2 clutch piston.

24. INSTALL CLUTCH RETURN SPRING SUB-ASSEMBLY

(a) Install the clutch return spring sub-assembly to the intermediate shaft sub-assembly.

25. INSTALL C-2 CLUTCH BALANCER

(a) Apply a light coat of Toyota Genuine ATF WS to the lip seal of the C-2 clutch balancer.

(b) Install the C-2 clutch balancer to the intermediate shaft sub-assembly.

NOTICE:

Be careful not to damage the lip seal of the C-2 clutch balancer.

NOTICE:

  • Make sure the lip is not cut or folded.
  • Be careful not to damage the lip seal of the C-2 clutch balancer.

(c) Place SST on the C-2 clutch balancer and compress the clutch return spring sub-assembly with a press.

SST: 09387-00020

NOTICE:

Stop the press when the clutch return spring sub-assembly is flush with the snap ring groove.

(d) Using SST, install the snap ring to the intermediate shaft sub-assembly.

SST: 09350-30020

09350-07070

NOTICE:

Make sure that the snap ring is installed in the groove of the intermediate shaft sub-assembly correctly.

26. INSTALL NO. 2 CLUTCH DISC

(a) Install the 4 No. 2 clutch plates, 4 No. 2 clutch discs and direct clutch flange to the intermediate shaft sub-assembly.

NOTICE:

  • Be careful during assembly because there are 2 types of No. 2 clutch plate with different thicknesses.
  • Assemble the direct clutch flange with its tapered surface facing toward the No. 2 clutch disc.

*1

Direct Clutch Flange

*2

No. 2 Clutch Disc

*3

No. 2 Clutch Plate

*a

Snap Ring Side

*b

No. 2 Clutch Disc Side

(b) Using a screwdriver with its tip wrapped in protective tape, install the snap ring to the intermediate shaft sub-assembly.

NOTICE:

  • Be careful not to damage the intermediate shaft sub-assembly.
  • Make sure that the snap ring is installed in the groove of the intermediate shaft sub-assembly correctly.

27. INSTALL NO. 1 THRUST BEARING RACE

(a) Coat the No. 1 thrust bearing race with Toyota Genuine ATF WS and install it to the automatic transaxle case sub-assembly.

No. 1 Thrust Bearing Race Diameter:

Inside

Outside

52.8 mm (2.08 in.)

76.4 mm (3.01 in.)

NOTICE:

Securely insert the claw of the No. 1 thrust bearing race into the hole of the automatic transaxle case sub-assembly.

28. INSTALL THRUST NEEDLE ROLLER BEARING

(a) Coat the thrust needle roller bearing with Toyota Genuine ATF WS and install it to the C-2 clutch assembly.

Thrust Needle Roller Bearing Diameter:

Inside

Outside

50.5 mm (1.99 in.)

74.5 mm (2.93 in.)

NOTICE:

Make sure to assemble the thrust needle roller bearing in the correct direction.

HINT:

When installing the C-2 clutch assembly, if the thrust needle roller bearing falls off, coat the C-2 clutch assembly installation surface with MP grease and install the parts.

29. INSTALL C-2 CLUTCH ASSEMBLY

(a) Install the C-2 clutch assembly to the automatic transaxle case sub-assembly.

30. INSPECT CLEARANCE OF C-2 CLUTCH

Click here

31. INSTALL NO. 4 PLANETARY CARRIER THRUST WASHER

(a) Install the No. 4 planetary carrier thrust washer to the rear planetary gear assembly.

HINT:

  • Securely insert each protrusion of the No. 4 planetary carrier thrust washer into each indentation of the rear planetary gear assembly.
  • When installing the rear planetary gear assembly, if the No. 4 planetary carrier thrust washer falls off, coat the rear planetary gear assembly installation surface with MP grease and install the parts.

32. INSTALL REAR PLANETARY GEAR ASSEMBLY

(a) Install the rear planetary gear assembly to the C-2 clutch assembly.

33. INSTALL NO. 2 THRUST BEARING RACE

(a) Coat the No. 2 thrust bearing race with Toyota Genuine ATF WS and install it to the C-2 clutch assembly.

No. 2 Thrust Bearing Race Diameter:

Inside

Outside

24.2 mm (0.953 in.)

43.7 mm (1.72 in.)

34. INSTALL THRUST NEEDLE ROLLER BEARING

(a) Coat the thrust needle roller bearing with Toyota Genuine ATF WS and install it to the C-2 clutch assembly.

Thrust Needle Roller Bearing Diameter:

Inside

Outside

24.2 mm (0.953 in.)

43.7 mm (1.72 in.)

35. INSTALL NO. 3 THRUST BEARING RACE

(a) Coat the No. 3 thrust bearing race with Toyota Genuine ATF WS and install it to the rear planetary sun gear sub-assembly.

No. 3 Thrust Bearing Race Diameter:

Inside

Outside

25.58 mm (1.01 in.)

43.7 mm (1.72 in.)

HINT:

When installing the rear planetary sun gear sub-assembly, if the No. 3 thrust bearing race falls off, coat the rear planetary sun gear sub-assembly installation surface with MP grease and install the parts.

36. INSTALL REAR PLANETARY SUN GEAR SUB-ASSEMBLY

(a) Install the rear planetary sun gear sub-assembly to the C-2 clutch assembly.

37. INSTALL THRUST BEARING RACE

(a) Coat the thrust bearing race with Toyota Genuine ATF WS and install it to the rear planetary sun gear sub-assembly.

Thrust Bearing Race Diameter:

Inside

Outside

33.2 mm (1.31 in.)

47.7 mm (1.88 in.)

38. INSTALL THRUST NEEDLE ROLLER BEARING

(a) Coat the thrust needle roller bearing with Toyota Genuine ATF WS and install it to the rear planetary sun gear sub-assembly.

Thrust Needle Roller Bearing Diameter:

Inside

Outside

33.2 mm (1.31 in.)

47.7 mm (1.88 in.)

39. INSTALL NO. 4 THRUST BEARING RACE

(a) Coat the No. 4 thrust bearing race with Toyota Genuine ATF WS and install it to the rear planetary sun gear sub-assembly.

No. 4 Thrust Bearing Race Diameter:

Inside

Outside

34.4 mm (1.35 in.)

48.7 mm (1.92 in.)

40. INSTALL PLANETARY SUN GEAR SUB-ASSEMBLY

(a) Install the planetary sun gear sub-assembly to the rear planetary gear assembly.

41. INSTALL NO. 3 PLANETARY CARRIER THRUST WASHER

(a) Coat the No. 3 planetary carrier thrust washer with Toyota Genuine ATF WS and install it to the rear planetary gear assembly.

NOTICE:

Securely insert the claw of the No. 3 planetary carrier thrust washer into the hole of the rear planetary gear assembly.

42. INSTALL NO. 1 BRAKE DISC

(a) Install the 4 No. 1 brake plates, 4 No. 1 brake discs and No. 1 brake flange to the counter drive gear sub-assembly.

NOTICE:

  • Be careful during assembly because there are 2 types of No. 1 brake plate with different thicknesses.
  • Assemble the No. 1 brake flange with its tapered surface facing toward the No. 1 brake disc.

*1

No. 1 Brake Flange

*2

No. 1 Brake Disc

*3

No. 1 Brake Plate

*a

Snap Ring Side

*b

No. 1 Brake Disc Side

(b) Using a screwdriver with its tip wrapped in protective tape, install the snap ring to the counter drive gear sub-assembly.

NOTICE:

  • Be careful not to damage the counter drive gear sub-assembly.
  • Make sure that the snap ring is installed in the groove of the counter drive gear sub-assembly correctly.
  • The opening of the snap ring should be within the area shown in the illustration (spline portion).

*a

Snap ring opening within this area.

43. INSTALL COUNTER DRIVE GEAR SUB-ASSEMBLY

(a) Clean and degrease the counter drive gear sub-assembly installation bolts and the 8 bolt holes.

NOTICE:

If the bolts are tightened without cleaning and degreasing the bolts and bolt holes, the tightening torque will be too high and the counter drive gear sub-assembly or automatic transaxle case sub-assembly may be damaged.

(b) Coat a new O-ring with Toyota Genuine ATF WS and install it to the automatic transaxle case sub-assembly.

(c) Install the counter drive gear sub-assembly together with the pinion and counter driven gear sub-assembly to the automatic transaxle case sub-assembly.

(d) Temporarily install the 8 bolts (A and B).

HINT:

Bolt (A) is a hexagon socket head cap bolt.

*a

Bolt A

*b

Bolt B

(e) Fully tighten the 6 bolts (B).

Torque:

76 N·m {775 kgf·cm, 56 ft·lbf}

(f) Using a T50 "TORX" socket wrench, fully tighten the 2 bolts (A).

Torque:

31.8 N·m {324 kgf·cm, 23 ft·lbf}

44. INSPECT CLEARANCE OF B-1 BRAKE

Click here

45. INSTALL PARKING LOCK SLEEVE

(a) Coat the parking lock sleeve with Toyota Genuine ATF WS and install it to the automatic transaxle case sub-assembly.

46. INSTALL PARKING LOCK PAWL

(a) Coat the parking lock pawl with Toyota Genuine ATF WS and install it to the automatic transaxle case sub-assembly.

47. INSTALL PARKING LOCK PAWL SHAFT

(a) Coat the parking lock pawl shaft with Toyota Genuine ATF WS and install it to the automatic transaxle case sub-assembly.

48. INSTALL PARKING LOCK PAWL TORSION SPRING

(a) Install the parking lock pawl torsion spring to the automatic transaxle case sub-assembly as shown in the illustration.

NOTICE:

Securely insert the parking lock pawl torsion spring all the way into the parking lock pawl shaft.

49. INSTALL MANUAL VALVE LEVER SHAFT SUB-ASSEMBLY

(a) Install the manual valve lever shaft sub-assembly to the automatic transaxle case sub-assembly.

NOTICE:

When installing the manual valve lever shaft sub-assembly, be careful not to damage the manual valve lever shaft oil seal.

50. INSTALL PARKING LOCK ROD SUB-ASSEMBLY

(a) Parking lock rod sub-assembly as shown in the illustration, and install the parking lock rod sub-assembly.

NOTICE:

Securely align the cutouts of the parking lock rod sub-assembly and manual valve lever shaft sub-assembly.

*1

Manual Valve Lever Shaft Sub-assembly

*2

Parking Lock Rod Sub-assembly

51. INSTALL MANUAL VALVE LEVER SHAFT RETAINER SPRING

(a) Install the manual valve lever shaft retainer spring to the automatic transaxle case sub-assembly.

52. INSTALL PAWL STOPPER PLATE

(a) Install the pawl stopper plate to the automatic transaxle case sub-assembly with the 2 bolts.

Torque:

9.8 N·m {100 kgf·cm, 87 in·lbf}

53. INSTALL MANUAL VALVE LEVER SUB-ASSEMBLY

(a) Install the manual valve lever sub-assembly to the automatic transaxle case sub-assembly.

NOTICE:

The pin portion of the manual valve lever shaft sub-assembly must be inserted into the slot of the manual valve lever sub-assembly.

54. INSTALL MANUAL VALVE LEVER SHAFT SUB-ASSEMBLY

(a) Coat a new O-ring with Toyota Genuine ATF WS and install it to the manual valve lever shaft sub-assembly.

NOTICE:

Ensure that the O-ring it not twisted.

(b) Align the cutouts of the manual valve lever sub-assembly and manual valve lever shaft sub-assembly, and install the manual valve lever shaft sub-assembly.

HINT:

Installing the manual valve lever shaft sub-assembly to the area shown in the illustration will align the cutouts.

(c) Secure the manual valve lever shaft sub-assembly to the automatic transaxle case sub-assembly with the bolt.

Torque:

9.8 N·m {100 kgf·cm, 87 in·lbf}

55. INSTALL NO. 5 THRUST BEARING RACE

(a) Coat the No. 5 thrust bearing race with Toyota Genuine ATF WS and install it to the sun gear input hub sub-assembly.

No. 5 Thrust Bearing Race Diameter:

Inside

Outside

34.2 mm (1.35 in.)

47.3 mm (1.86 in.)

56. INSTALL THRUST NEEDLE ROLLER BEARING

(a) Coat the thrust needle roller bearing with Toyota Genuine ATF WS and install it to the sun gear input hub sub-assembly.

Thrust Needle Roller Bearing Diameter:

Inside

Outside

33.3 mm (1.31 in.)

46.3 mm (1.82 in.)

57. INSTALL SUN GEAR INPUT HUB SUB-ASSEMBLY

(a) Install the sun gear input hub sub-assembly to the counter drive gear sub-assembly.

58. INSTALL FORWARD CLUTCH PISTON

(a) Apply a light coat of Toyota Genuine ATF WS to a new D-ring and install it to the clutch drum sub-assembly.

HINT:

  • Be careful not to damage or twist the D-ring.
  • The rounded surface of the D-ring will be on the outer side of the ring groove.

(b) Apply a light coat of Toyota Genuine ATF WS to a new O-ring and install it to the clutch drum sub-assembly.

NOTICE:

Be careful not to damage or twist the O-ring.

(c) Apply a light coat of Toyota Genuine ATF WS to the forward clutch piston and install it to the clutch drum sub-assembly.

NOTICE:

  • Make sure that the O-ring and the D-ring is not damaged or does not jump out of position during installation.
  • Make sure the lip is not cut or folded.

59. INSTALL REAR CLUTCH PISTON RETURN COMPRESSION SPRING

(a) Install the rear clutch piston return compression spring to the forward clutch piston.

NOTICE:

Make sure to install in the correct direction.

60. INSTALL NO. 1 CLUTCH BALANCER

(a) Apply a light coat of Toyota Genuine ATF WS to the lip seal of the forward clutch piston.

(b) Install the No. 1 clutch balancer to the forward clutch piston.

NOTICE:

Be careful not to damage the lip seal of the forward clutch piston.

(c) Place SST on the No. 1 clutch balancer and compress the rear clutch piston return compression spring with a press.

SST: 09387-00020

NOTICE:

Stop the press when the rear clutch piston return compression spring is flush with the snap ring groove.

(d) Using SST, install the snap ring to the clutch drum sub-assembly.

SST: 09350-30020

09350-07070

NOTICE:

Make sure that the snap ring is installed in the groove of the clutch drum sub-assembly correctly.

61. INSTALL FRONT CLUTCH CLUTCH DISC

(a) Install the 5 forward multiple disc clutch clutch plates, 5 front clutch clutch discs and forward clutch flange to the clutch drum sub-assembly.

NOTICE:

  • Be careful during assembly because there are 2 types of forward multiple disc clutch clutch plate with different thicknesses.
  • Assemble the forward clutch flange with its tapered surface facing toward the front clutch clutch disc.

*1

Forward Clutch Flange

*2

Front Clutch Clutch Disc

*3

Forward Multiple Disc Clutch Clutch Plate

*a

Snap Ring Side

*b

Front Clutch Clutch Disc Side

(b) Using a screwdriver with its tip wrapped in protective tape, install the snap ring to the clutch drum sub-assembly.

NOTICE:

  • Be careful not to damage the clutch drum sub-assembly.
  • Make sure that the snap ring is installed in the groove of the clutch drum sub-assembly correctly.

62. INSPECT CLEARANCE OF C-1 CLUTCH

Click here

63. INSTALL C-1 CLUTCH ASSEMBLY

(a) Install the C-1 clutch assembly to the sun gear input hub sub-assembly.

64. INSTALL NO. 6 THRUST BEARING RACE

(a) Coat the No. 6 thrust bearing race with Toyota Genuine ATF WS and install it to the C-1 clutch assembly.

No. 6 Thrust Bearing Race Diameter:

Inside

Outside

38.1 mm (1.50 in.)

50.2 mm (1.98 in.)

65. INSTALL THRUST NEEDLE ROLLER BEARING

(a) Coat the thrust needle roller bearing with Toyota Genuine ATF WS and install it to the C-1 clutch assembly.

Thrust Needle Roller Bearing Diameter:

Inside

Outside

39.2 mm (1.54 in.)

52.6 mm (2.07 in.)

66. INSTALL FRONT PLANETARY RING GEAR

(a) Install the front planetary ring gear flange to the front planetary ring gear.

(b) Using a screwdriver with its tip wrapped with protective tape, install the snap ring to the front planetary ring gear.

NOTICE:

Be careful not to damage the front planetary ring gear and front planetary ring gear flange.

(c) Install the front planetary ring gear with front planetary ring gear flange to the C-1 clutch assembly.

67. INSTALL REAR INPUT SHAFT OIL SEAL RING

(a) Apply a small amount of MP grease to the entire circumference of the rear input shaft oil seal ring installation groove portion.

HINT:

By applying MP grease, the wobble within the rear input shaft oil seal ring installation groove will be eliminated, preventing damage to the rear input shaft oil seal ring at the time of front planetary gear assembly installation.

(b) Coat 2 new rear input shaft oil seal rings with Toyota Genuine ATF WS and install them to the front planetary gear assembly.

NOTICE:

While making the spread of the opening of the rear input shaft oil seal ring as small as possible, install it to the front planetary gear assembly. If the ring opening is spread, briefly hold it closed with your fingers to return it to its original condition.

68. INSTALL INPUT SHAFT OIL SEAL RING

(a) Apply a small amount of MP grease to the entire circumference of the input shaft oil seal ring installation groove portion.

HINT:

By applying MP grease, the wobble within the input shaft oil seal ring installation groove will be eliminated, preventing damage to the input shaft oil seal ring at the time of front oil pump assembly and torque converter clutch assembly installation.

(b) Coat 5 new input shaft oil seal rings with Toyota Genuine ATF WS and install them to the front planetary gear assembly.

NOTICE:

While making the spread of the opening of the input shaft oil seal ring as small as possible, install it to the front planetary gear assembly. If the ring opening is spread, briefly hold it closed with your fingers to return it to its original condition.

69. INSTALL NO. 7 THRUST BEARING RACE

(a) Coat the No. 7 thrust bearing race with Toyota Genuine ATF WS and install it to the front planetary gear assembly.

No. 7 Thrust Bearing Race Diameter:

Inside

Outside

59.8 mm (2.35 in.)

77.0 mm (3.03 in.)

NOTICE:

Securely insert the claw of the No. 7 thrust bearing race into the hole of the front planetary gear assembly.

HINT:

When installing the front planetary gear assembly, if the No. 7 thrust bearing race falls off, coat the front planetary gear assembly installation surface with MP grease and install the parts.

70. INSTALL THRUST NEEDLE ROLLER BEARING

(a) Coat the thrust needle roller bearing with Toyota Genuine ATF WS and install it to the front planetary ring gear.

Thrust Needle Roller Bearing Diameter:

Inside

Outside

58.3 mm (2.30 in.)

75.0 mm (2.95 in.)

71. INSTALL FRONT PLANETARY GEAR ASSEMBLY

(a) Install the front planetary gear assembly to the front planetary ring gear.

72. INSTALL NO. 8 THRUST BEARING RACE

(a) Coat the No. 8 thrust bearing race with Toyota Genuine ATF WS and install it to the front planetary ring gear.

No. 8 Thrust Bearing Race Diameter:

Inside

Outside

31.7 mm (1.25 in.)

52.3 mm (2.06 in.)

73. INSTALL THRUST NEEDLE ROLLER BEARING

(a) Coat the thrust needle roller bearing with Toyota Genuine ATF WS and install it to the front planetary ring gear.

Thrust Needle Roller Bearing Diameter:

Inside

Outside

31.7 mm (1.25 in.)

52.3 mm (2.06 in.)

74. INSTALL NO. 9 THRUST BEARING RACE

(a) Coat the No. 9 thrust bearing race with Toyota Genuine ATF WS and install it to the front planetary ring gear.

No. 9 Thrust Bearing Race Diameter:

Inside

Outside

32.6 mm (1.28 in.)

54.2 mm (2.13 in.)

75. INSTALL PLANETARY SUN GEAR

(a) Install the planetary sun gear to the front planetary gear assembly.

76. INSTALL NO. 2 PLANETARY CARRIER THRUST WASHER

(a) Install the No. 2 planetary carrier thrust washer to the front planetary gear assembly.

NOTICE:

Securely insert each protrusion of the No. 2 planetary carrier thrust washer into each indentation of the front planetary gear assembly.

77. INSPECT CLEARANCE OF C-4 CLUTCH

Click here

78. INSPECT CLEARANCE OF C-3 CLUTCH

Click here

79. INSTALL C-3 AND C-4 CLUTCH ASSEMBLY

(a) Install the C-3 and C-4 clutch assembly to the front planetary gear assembly.

80. INSTALL PLANETARY CARRIER THRUST WASHER

(a) Install the planetary carrier thrust washer to the C-3 and C-4 clutch assembly.

NOTICE:

Securely insert the protrusion of the planetary carrier thrust washer into the indentation of the C-3 and C-4 clutch assembly.

81. INSTALL FRONT OIL PUMP ASSEMBLY

(a) Install the front oil pump assembly to the automatic transaxle case sub-assembly with the 7 bolts.

Torque:

24.5 N·m {250 kgf·cm, 18 ft·lbf}

Bolt Length:

Bolt (A)

Bolt (B)

40 mm (1.57 in.)

30 mm (1.18 in.)

82. INSTALL MANUAL DETENT SPRING SUB-ASSEMBLY

(a) Install the manual detent spring sub-assembly to the front oil pump assembly with the bolt.

Torque:

9.8 N·m {100 kgf·cm, 87 in·lbf}

NOTICE:

  • Securely insert the claw of the manual detent spring sub-assembly into the hole of the front oil pump assembly.
  • Check that the roller portion of the manual detent spring sub-assembly is engaged with the manual valve lever shaft sub-assembly.

*1

Manual Detent Spring Sub-assembly

*2

Manual Valve Lever Shaft Sub-assembly

*a

Correct

*b

Incorrect

83. INSTALL OIL PUMP SPROCKET REAR THRUST WASHER

(a) Install the oil pump sprocket rear thrust washer to the front oil pump assembly.

NOTICE:

Securely insert the protrusion of the oil pump sprocket rear thrust washer into the indentation of the front oil pump assembly.

84. INSTALL TRANSMISSION DRIVE CHAIN

(a) Using a screwdriver with its tip wrapped in protective tape, align the cutout of the front oil pump drive gear with the position (*a) shown in the illustration.

NOTICE:

Do not pry with excessive force when aligning the cutout of the front oil pump drive gear.

*1

Front Oil Pump Drive Gear

*a

Correct

*b

Incorrect

*c

Protective Tape

(b) Install the transmission drive chain together with the transmission oil pump drive sprocket and oil pump drive shaft sub-assembly to the front oil pump assembly.

NOTICE:

  • To avoid damaging the bush of the front oil pump assembly, install the transmission drive chain, transmission oil pump drive sprocket and oil pump drive shaft sub-assembly horizontally relative to the front oil pump assembly.
  • Align the cutout of the oil pump drive shaft sub-assembly and the cutout of the front oil pump drive gear, and install the parts.

85. INSTALL OIL PUMP SPROCKET FRONT THRUST WASHER

(a) Install the oil pump sprocket front thrust washer to the transmission oil pump drive sprocket.

NOTICE:

Securely insert the long protrusion of the oil pump sprocket rear thrust washer into the slot of the oil pump sprocket front thrust washer.

86. INSTALL CLUTCH DRUM OIL SEAL RING

(a) Apply a small amount of MP grease to the entire circumference of the clutch drum oil seal ring installation groove portion.

HINT:

By applying MP grease, the wobble within the clutch drum oil seal ring installation groove will be eliminated, preventing damage to the clutch drum oil seal ring at the time of torque converter clutch assembly installation.

(b) Coat a new clutch drum oil seal ring with Toyota Genuine ATF WS and install it to the front oil pump assembly.

NOTICE:

While making the spread of the opening of the clutch drum oil seal ring as small as possible, install it to the front oil pump assembly. If the ring opening is spread, briefly hold it closed with your fingers to return it to its original condition.

87. INSTALL DIFFERENTIAL CASE ASSEMBLY

(a) Install the differential case assembly to the automatic transaxle case sub-assembly.

88. INSTALL TRANSMISSION LUBE APPLY TUBE

(a) Install the transmission lube apply tube to the transaxle housing.

NOTICE:

Insert the transmission lube apply tube until its spool portion is contacting the transaxle housing.

*a

Correct

*b

Incorrect

(b) Install the clamp to the transaxle housing with the bolt.

Torque:

5.4 N·m {55 kgf·cm, 48 in·lbf}

89. INSTALL DIFFERENTIAL GEAR LUBE APPLY TUBE

(a) Install the differential gear lube apply tube to the transaxle housing.

NOTICE:

Insert the differential gear lube apply tube until its spool portion is contacting the transaxle housing.

*a

Correct

*b

Incorrect

90. INSTALL TRANSMISSION OIL CLEANER MAGNET

(a) Install the 3 transmission oil cleaner magnets to the transaxle housing oil separator.

91. INSTALL TRANSAXLE HOUSING OIL SEPARATOR

(a) Install the transaxle housing oil separator to the transaxle housing with the 3 bolts.

Torque:

5.4 N·m {55 kgf·cm, 48 in·lbf}

92. INSTALL TRANSAXLE HOUSING

HINT:

  • TMC (TOYOTA) Made, AW (AISIN AW) Made and TMMWV (TOYOTA) Made components can be identified by the differing locations where the serial number is stamped.

    *a

    TMC Made

    *b

    AW, TMMWV Made

  • for AW, TMMWV Made:
    • Refer to introduction and check the serial number. Confirm the factory at which the automatic transaxle assembly was manufactured according to the following table.

      Serial Number

      Factory

      ##6########

      for AW (AISIN AW) Made

      ##A########

      for TMMWV Made

NOTICE:

When installing the transaxle housing check that the transmission drive chain rotates smoothly.

(a) Peel off the old seal packing from the transaxle housing and automatic transaxle case sub-assembly installation surface, and clean it.

NOTICE:

Do not damage the installation surface.

(b) Clean the 21 bolts and bolt holes in the automatic transaxle case sub-assembly.

(c) Clean the inner chamfer of the automatic transaxle case sub-assembly shown in the illustration.

Area to be Cleaned

(d) Apply seal packing to the automatic transaxle case sub-assembly as shown in the illustration.

Seal Packing:

Toyota Genuine Seal Packing 1281, Three Bond 1281 or equivalent

Standard Seal Diameter:

1.8 mm (0.0709 in.)

NOTICE:

After applying seal packing, install the transaxle housing within 3 minutes and tighten the bolts within 20 minutes of applying the seal packing.

(e) Coat 5 new transaxle case gaskets with Toyota Genuine ATF WS and install it to the front oil pump assembly.

*1

Transaxle Case Gaskets

*2

O-ring

(f) Coat a new O-ring with Toyota Genuine ATF WS and install it to the automatic transaxle case sub-assembly.

(g) for TMC, TMMWV Made:

(1) Install the transaxle housing to the automatic transaxle case sub-assembly with the 6 bolts (A) and 12 bolts (B).

Torque:

Bolt (A) and Bolt (B) :

29.4 N·m {300 kgf·cm, 22 ft·lbf}

Bolt Length:

Bolt (A)

Bolt (B)

40 mm (1.57 in.)

35 mm (1.38 in.)

(2) Apply adhesive to 2 or 3 threads on the end of the 3 bolts (C).

Bolt Length:

40 mm (1.57 in.)

Adhesive:

Toyota Genuine Adhesive 1324, Three Bond 1324 or equivalent

NOTICE:

Make sure to install the bolts immediately after applying adhesive to prevent foreign matter from attaching to them.

HINT:

The 3 bolts (C) are in the locations shown in the following step.

*a

Adhesive

(3) Install the 3 bolts (C).

Torque:

Bolt (C) :

22.7 N·m {231 kgf·cm, 17 ft·lbf}

(h) for AISIN AW Made:

(1) Install the transaxle housing to the automatic transaxle case sub-assembly with the 21 bolts ((A) and (B)).

Torque:

29.4 N·m {300 kgf·cm, 22 ft·lbf}

Bolt Length:

Bolt (A)

Bolt (B)

40 mm (1.57 in.)

35 mm (1.38 in.)

93. INSPECT INPUT SHAFT END PLAY

Click here

94. INSTALL TRANSMISSION REVOLUTION SENSOR (NC)

(a) Install the transmission revolution sensor (NC) and spacer to the counter drive gear sub-assembly with the bolt.

Torque:

5.4 N·m {55 kgf·cm, 48 in·lbf}

*1

Spacer

95. INSTALL TRANSMISSION REVOLUTION SENSOR (NT)

(a) Install the transmission revolution sensor (NT) to the automatic transaxle case sub-assembly with the bolt.

Torque:

5.4 N·m {55 kgf·cm, 48 in·lbf}

96. INSTALL TRANSMISSION VALVE BODY ASSEMBLY

(a) Coat 2 new transaxle case gaskets with Toyota Genuine ATF WS and install them to the automatic transaxle case sub-assembly.

*1

Transaxle Case Gasket

*2

No. 1 Front Oil Pump Cover Gasket

*3

No. 2 Front Oil Pump Cover Gasket

(b) Coat a new transaxle case gasket with Toyota Genuine ATF WS and install it to the counter drive gear sub-assembly.

(c) Coat a new No. 1 front oil pump cover gasket with Toyota Genuine ATF WS and install it to the front oil pump assembly.

(d) Coat a new No. 2 front oil pump cover gasket with Toyota Genuine ATF WS and install it to the front oil pump assembly.

(e) Align the slit portion of the manual valve and the manual valve lever sub-assembly as shown in the illustration, and install the transmission valve body assembly to the automatic transaxle case sub-assembly with the 9 bolts.

Torque:

10.8 N·m {110 kgf·cm, 8 ft·lbf}

NOTICE:

Be careful that the transmission revolution sensor (NC) wire is not pinched.

*1

Manual Valve

*2

Manual Valve Lever Sub-assembly

(f) Engage the clamp to connect the transmission revolution sensor (NC) wire connector.

Do not let transmission revolution sensor (NC) wire ride up over this area.

NOTICE:

To prevent it from being pinched between the transmission valve body assembly and the transmission case side cover, do not let the transmission revolution sensor (NC) wire ride up over the area shown in the illustration.

97. INSTALL TRANSMISSION WIRE

(a) Coat the O-ring of the transmission wire with Toyota Genuine ATF WS.

(b) Install the transmission wire to the automatic transaxle case sub-assembly with the bolt.

Torque:

5.4 N·m {55 kgf·cm, 48 in·lbf}

(c) Connect the transmission revolution sensor (NT) connector and transmission revolution sensor (NC) connector.

(d) Install the temperature sensor to the transmission valve body assembly with the bolt and temperature sensor clamp.

Torque:

10.8 N·m {110 kgf·cm, 8 ft·lbf}

NOTICE:

To prevent it from being pinched between the transmission valve body assembly and the transmission case side cover, pass the transmission revolution sensor (NC) wire under the transmission wire (temperature sensor wire) as shown in the illustration.

*a

Transmission Wire (Temperature Sensor Wire)

*b

Transmission Revolution Sensor (NC) Wire

(e) Connect the 9 solenoid valve connectors.

Do not let transmission wire protrude into this area.

  • To prevent it from being pinched between the transmission valve body assembly and the transmission case side cover, do not let the transmission wire ride up over the area shown in the illustration.
  • To prevent it from being pinched between the transmission case side cover and the automatic transaxle case sub-assembly, do not let the transmission wire protrude toward the transmission case side cover installation surface.

(f) Engage the clamp to connect the transmission wire to the solenoid lock plate.

98. INSTALL TRANSMISSION CASE SIDE COVER (for TMC, TMMWV Made)

HINT:

  • TMC (TOYOTA) Made, AW (AISIN AW) Made and TMMWV (TOYOTA) Made components can be identified by the differing locations where the serial number is stamped.

    *a

    TMC Made

    *b

    AW, TMMWV Made

  • for AW, TMMWV Made:
    • Refer to introduction and check the serial number. Confirm the factory at which the automatic transaxle assembly was manufactured according to the following table.

      Serial Number

      Factory

      ##6########

      for AW (AISIN AW) Made

      ##A########

      for TMMWV Made

(a) Clean the transmission case side cover installation surface of the automatic transaxle case sub-assembly.

Area to be Cleaned

NOTICE:

Completely remove any oil or grease from the contact surfaces of the automatic transaxle case sub-assembly.

(b) Clean the 3 bolt holes shown in the illustration.

(c) Apply adhesive to 2 or 3 threads on the end of the bolt (A) and 2 bolts (D).

Adhesive:

Toyota Genuine Adhesive 1324, Three Bond 1324 or equivalent

NOTICE:

Make sure to install the bolts immediately after applying adhesive to prevent foreign matter from attaching to them.

HINT:

The bolt (A) and 2 bolts (D) are in the locations shown in the following step.

*a

Adhesive

(d) Temporarily install a new transmission case side cover to the automatic transaxle case sub-assembly with the 2 bolts ((A) and (B)).

NOTICE:

  • Bolt (A) is an adhesive-coated bolt.
  • To avoid damaging the gasket, prevent it from contacting the surrounding area during installation procedures.

*A

for TMC Made

*B

for TMMWV Made

(e) Temporarily install the 6 bolts (C) and 2 bolts (D).

NOTICE:

Bolt (D) is an adhesive-coated bolt.

(f) Fully tighten the 10 bolts in the order shown in the illustration.

Torque:

Bolt (A) and Bolt (D) :

6.5 N·m {66 kgf·cm, 58 in·lbf}

Bolt (B) and Bolt (C) :

7.0 N·m {71 kgf·cm, 62 in·lbf}

*A

for TMC Made

*B

for TMMWV Made

99. INSTALL TRANSMISSION CASE SIDE COVER (for AISIN AW Made)

HINT:

  • TMC (TOYOTA) Made, AW (AISIN AW) Made and TMMWV (TOYOTA) Made components can be identified by the differing locations where the serial number is stamped.

    *a

    TMC Made

    *b

    AW, TMMWV Made

  • for AW, TMMWV Made:
    • Refer to introduction and check the serial number. Confirm the factory at which the automatic transaxle assembly was manufactured according to the following table.

      Serial Number

      Factory

      ##6########

      for AW (AISIN AW) Made

      ##A########

      for TMMWV Made

(a) Clean the transmission case side cover installation surface of the automatic transaxle case sub-assembly.

Area to be Cleaned

NOTICE:

Completely remove any oil or grease from the contact surfaces of the automatic transaxle case sub-assembly.

(b) Temporarily install a new transmission case side cover to the automatic transaxle case sub-assembly with the 2 bolts ((A) and (B)).

NOTICE:

To avoid damaging the gasket, prevent it from contacting the surrounding area during installation procedures.

(c) Temporarily install the 8 bolts (C).

(d) Fully tighten the 10 bolts in the order shown in the illustration.

Torque:

7.0 N·m {71 kgf·cm, 62 in·lbf}

100. INSTALL NO. 1 BREATHER PLUG (ATM)

(a) Coat the O-ring portion of the No. 1 breather plug (ATM) with Toyota Genuine ATF WS.

(b) Engage each claw to install a new No. 1 breather plug (ATM) to the automatic transaxle case sub-assembly.

NOTICE:

Securely push in the automatic transaxle case sub-assembly until the No. 1 breather plug (ATM) is engaged.

HINT:

Install the No. 1 breather plug (ATM) with its detent aligned with the indented portion of the automatic transaxle case sub-assembly.

*a

Indented Portion

*b

Detent Aligned

101. INSTALL NO. 1 OIL COOLER OUTLET TUBE SUB-ASSEMBLY

(a) Coat a new O-ring with Toyota Genuine ATF WS and install it to the No. 1 oil cooler outlet tube sub-assembly.

NOTICE:

Ensure that the O-ring is not twisted.

(b) Using a 19 mm union nut wrench, install the No. 1 oil cooler outlet tube sub-assembly to the automatic transaxle case sub-assembly.

Torque:

Specified tightening torque :

31.1 N·m {317 kgf·cm, 23 ft·lbf}

HINT:

  • Calculate the torque wrench reading when changing the fulcrum length of the torque wrench.

    Click here

  • When using a union nut wrench (fulcrum length of 30 mm (1.18 in.)) + torque wrench (fulcrum length of 180 mm (7.09 in.)):

    26.7 N*m (272 kgf*cm, 20 ft.*lbf)

*a

Union Nut Wrench

*b

Torque Wrench Fulcrum Length

102. INSTALL OIL COOLER UNION SUB-ASSEMBLY

(a) Pass the oil cooler union sub-assembly through 2 new gaskets and temporarily install it to the automatic transaxle case sub-assembly.

*1

Oil Cooler Union Bolt

*2

Gasket

(b) Temporarily install the oil cooler union sub-assembly bracket portion to the automatic transaxle case sub-assembly with the bolt.

(c) Fully tighten the oil cooler union bolt.

Torque:

22.6 N·m {230 kgf·cm, 17 ft·lbf}

(d) Fully tighten the bolt.

Torque:

12 N·m {122 kgf·cm, 9 ft·lbf}

103. INSTALL NO. 1 TRANSMISSION OIL FILLER TUBE

(a) Using a 6 mm socket hexagon wrench, install the No. 1 transmission oil filler tube to the transaxle housing.

Torque:

1.7 N·m {17 kgf·cm, 15 in·lbf}

104. INSTALL OVERFLOW PLUG

(a) Using a 10 mm socket hexagon wrench, install the overflow plug and a new gasket to the transaxle housing.

Torque:

50 N·m {510 kgf·cm, 37 ft·lbf}

NOTICE:

To prevent the gasket from being deformed when tightening, coat the gasket with Toyota Genuine ATF WS.

105. INSTALL REFILL PLUG

(a) Install the refill plug and a new gasket to the automatic transaxle case sub-assembly.

Torque:

49 N·m {500 kgf·cm, 36 ft·lbf}

NOTICE:

To prevent the gasket from being deformed when tightening, coat the gasket with Toyota Genuine ATF WS.

106. INSTALL PARK/NEUTRAL POSITION SWITCH ASSEMBLY

(a) Temporarily install the park/neutral position switch assembly to the automatic transaxle case sub-assembly with the 2 bolts.

(b) Temporarily install the transmission control shaft lever to the manual valve lever shaft sub-assembly.

(c) Turn the transmission control shaft lever clockwise until it stops, then turn it counterclockwise 2 notches.

*a

P Position

*b

N Position

(d) Remove the transmission control shaft lever from the manual valve lever shaft sub-assembly.

(e) Align the protrusion with the neutral basic line.

*a

Neutral Basic Line

*b

Protrusion

(f) Hold the park/neutral position switch assembly in that position and tighten the 2 bolts.

Torque:

5.4 N·m {55 kgf·cm, 48 in·lbf}

107. INSTALL TRANSMISSION CONTROL SHAFT LEVER

(a) Install the transmission control shaft lever to the manual valve lever shaft sub-assembly with the washer and nut.

NOTICE:

Be careful of the assembly direction of the transmission control shaft lever.

Torque:

12.7 N·m {130 kgf·cm, 9 ft·lbf}

READ NEXT:

 Combination Switch

 Components

COMPONENTS ILLUSTRATION *1 DRIVE MODE SELECT SWITCH (COMBINATION SWITCH ASSEMBLY) *2 INSTRUMENT CLUSTER FINISH PANEL ASSEMBLY

 Inspection

INSPECTION PROCEDURE 1. INSPECT DRIVE MODE SELECT SWITCH (COMBINATION SWITCH ASSEMBLY) (a) Inspect the "Normal" or "Normal/Custom" mode switch: (1) Measure the resistance according to the value(s)

SEE MORE:

 Start Up Signal Circuit between Radio Receiver Assembly and Navigation ECU

DESCRIPTION This circuit includes the navigation ECU and radio receiver assembly. WIRING DIAGRAM PROCEDURE 1. CHECK HARNESS AND CONNECTOR (RADIO RECEIVER ASSEMBLY - NAVIGATION ECU) (a) Disconnect the G1 radio receiver assembly connector. (b) Disconnect the G14 navigation ECU connector. (c)

 Dtc Check / Clear

DTC CHECK / CLEAR CHECK FOR DTC (MAIN BODY) (a) Connect the Techstream to the DLC3. (b) Turn the power switch on (IG). (c) Turn the Techstream on. (d) Enter the following menus: Body Electrical / Main Body / Trouble Codes. Body Electrical > Main Body > Trouble Codes (e) Check for DTCs. CHECK F

© 2016-2026 Copyright www.lexguide.net