Lexus ES manuals

Lexus ES: Left Electric Parking Brake Actuator Control Circuit Open (C060B13)

Lexus ES (XZ10) Service Manual / Brake / Parking Brake / Electric Parking Brake System (for Gasoline Model) / Left Electric Parking Brake Actuator Control Circuit Open (C060B13)

DESCRIPTION

DTC No.

Detection Item

DTC Detection Condition

Trouble Area

Memory

Note

C060B13

Left Electric Parking Brake Actuator Control Circuit Open

  • Diagnosis Condition:

    Electric parking brake not operating

  • Malfunction Status:

    The ECU power supply is normal but there is a malfunction in the electric parking brake actuator LH internal circuit (open).

  • Detection Time:

    Approximately 0.015 to 0.195 seconds (depending on each malfunction)

  • Parking brake actuator assembly LH
  • No. 2 parking brake wire assembly
  • Wire harness or connector
  • Skid control ECU (brake actuator assembly)

DTC stored

An electric parking brake system malfunction is displayed on the multi-information display.

WIRING DIAGRAM

Click here

CAUTION / NOTICE / HINT

NOTICE:

  • The electric parking brake may still operate up to 20 seconds after the engine switch is turned off. Before disconnecting connectors or fuses, turn the engine switch off and wait 20 seconds or more.
  • After replacing the skid control ECU (brake actuator assembly), perform acceleration sensor zero point calibration and store system information memorization.

    Click here

  • When replacing the skid control ECU (brake actuator assembly), operate the electric parking brake switch assembly as the parking brake indicator light blinks (red) when the engine switch is first turned on (IG).

PROCEDURE

1.

INSPECT NO. 2 PARKING BRAKE WIRE ASSEMBLY

(a) Turn the engine switch off.

(b) Make sure that there is no looseness at the locking part and the connecting part of the connectors.

OK:

The connector is securely connected.

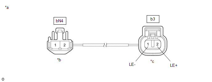
(c) Disconnect the bN4 and b3 No. 2 parking brake wire assembly connectors.

(d) Check both the connector case and the terminals for deformation and corrosion.

OK:

No deformation or corrosion.

(e) Measure the resistance according to the value(s) in the table below.

*a

Front view of No. 2 Parking Brake Wire Assembly

*b

(to wire harness connector)

*c

(to Parking Brake Actuator Assembly LH)

-

-

Standard Resistance:

Tester Connection

Condition

Specified Condition

bN4-2 - b3-2 (LE+)

Always

Below 1 Ω

bN4-2 - Other terminals

Always

10 kΩ or higher

bN4-1 - b3-1 (LE-)

Always

Below 1 Ω

bN4-1 - Other terminals

Always

10 kΩ or higher

NG

REPLACE NO. 2 PARKING BRAKE WIRE ASSEMBLY

OK

2.

CHECK HARNESS AND CONNECTOR (SKID CONTROL ECU (BRAKE ACTUATOR ASSEMBLY) - PARKING BRAKE ACTUATOR ASSEMBLY LH)

(a) Turn the engine switch off.

(b) Make sure the No. 2 parking brake wire assembly is securely installed.

(c) Disconnect the A40 skid control ECU (brake actuator assembly) connector.

(d) Disconnect the b3 parking brake actuator assembly LH connector.

(e) Measure the resistance according to the value(s) in the table below.

Standard Resistance:

Tester Connection

Condition

Specified Condition

A40-13 (MRL+) - b3-2 (LE+)

Always

Below 1 Ω

A40-12 (MRL-) - b3-1 (LE-)

Always

Below 1 Ω

NG

REPAIR OR REPLACE HARNESS OR CONNECTOR

OK

3.

INSPECT PARKING BRAKE ACTUATOR ASSEMBLY LH

(a) Remove the parking brake actuator assembly LH.

Click here

(b) Inspect the parking brake actuator assembly LH.

Click here

OK

REPLACE SKID CONTROL ECU (BRAKE ACTUATOR ASSEMBLY)

NG

REPLACE PARKING BRAKE ACTUATOR ASSEMBLY LH

READ NEXT:

 Left Electric Parking Brake Actuator Signal Stuck In Range (C060E2A)

DESCRIPTION DTC No. Detection Item DTC Detection Condition Trouble Area Memory Note C060E2A Left Electric Parking Brake Actuator Signal Stuck In Range Diagnosis Condition: Elec

 Right Electric Parking Brake Actuator Signal Stuck In Range (C06132A)

DESCRIPTION DTC No. Detection Item DTC Detection Condition Trouble Area Memory Note C06132A Right Electric Parking Brake Actuator Signal Stuck In Range Diagnosis Condition: Ele

 Brake System Control Module "A" System Internal Failure (C059704,C059746,C060B49,C061049,C13CF1C,C13D41C)

DESCRIPTION The following DTCs are stored when a malfunction occurs in the skid control ECU (brake actuator assembly). DTC No. Detection Item DTC Detection Condition Trouble Area Memory N

SEE MORE:

 Vehicle Control History

VEHICLE CONTROL HISTORY NOTICE: When checking the Vehicle Control History, make sure to record the output codes. Then, clear the Vehicle Control History (RoB) and check it again. CHECK VEHICLE CONTROL HISTORY (FRONT RADAR SENSOR SYSTEM) (a) Connect the Techstream to the DLC3. (b) Turn the power swit

 Drive Motor "A" Phase U Current Sensor Circuit Short to Battery (P0BE512,...,P0BED1F)

DTC SUMMARY MALFUNCTION DESCRIPTION These DTCs indicate that the current sensor value is abnormal. The cause of this malfunction may be one of the following: Internal inverter malfunction Inverter with converter assembly internal circuit malfunction Inverter low-voltage circuit malfunction

© 2016-2026 Copyright www.lexguide.net