Lexus ES manuals

Lexus ES: Right Electric Parking Brake Actuator Signal Stuck In Range (C06132A)

Lexus ES (XZ10) Service Manual / Brake / Parking Brake / Electric Parking Brake System (for Gasoline Model) / Right Electric Parking Brake Actuator Signal Stuck In Range (C06132A)

DESCRIPTION

DTC No.

Detection Item

DTC Detection Condition

Trouble Area

Memory

Note

C06132A

Right Electric Parking Brake Actuator Signal Stuck In Range

  • Diagnosis Condition:

    Electric parking brake operating

  • Malfunction Status:

    Motor locked, gear locked, free spinning, repeated slipping

  • Detection Time:

    -

  • Parking brake actuator assembly RH
  • No. 1 parking brake wire assembly
  • Wire harness or connector
  • Rear brake RH

DTC stored

An electric parking brake system malfunction is displayed on the multi-information display.

DTC Detection Conditions
 

Vehicle Condition

Pattern 1

Pattern 2

Pattern 3

Pattern 4

Diagnosis Condition

Electric parking brake operating

Malfunction Status

Motor lock detected

-

-

-

Gear lock detected

-

-

-

Free spinning detected

-

-

-

Repeated slipping detected

-

-

-

Detection Time

-

-

-

-

Number of Trips

1 trip

1 trip

1 trip

1 trip

WIRING DIAGRAM

Click here

CAUTION / NOTICE / HINT

NOTICE:

  • Although DTC C06132A may be stored after entering pad replacement mode, this is not a malfunction.
  • Although DTC C06132A may be stored after forcibly releasing the parking brake, this is not a malfunction.
  • The electric parking brake may still operate up to 20 seconds after the engine switch is turned off. Before disconnecting connectors or fuses, turn the engine switch off and wait 20 seconds or more.
  • After replacing the skid control ECU (brake actuator assembly), perform acceleration sensor zero point calibration and store system information memorization.

    Click here

  • When replacing the skid control ECU (brake actuator assembly), operate the electric parking brake switch assembly as the parking brake indicator light (red) blinks when the engine switch is first turned on (IG).

PROCEDURE

1.

CHECK DTC

(a) Using the Techstream, check for DTCs other than DTC C06132A.

Chassis > Brake/EPB > Trouble Codes

Result

Proceed to

Only DTC C06132A is output

A

DTCs other than C06132A are output

B

B

GO TO DIAGNOSTIC TROUBLE CODE CHART

A

2.

INSPECT NO. 1 PARKING BRAKE WIRE ASSEMBLY

(a) Turn the engine switch off.

(b) Make sure that there is no looseness at the locking part and the connecting part of the connectors.

OK:

The connector is securely connected.

(c) Disconnect the bN3 and b1 No. 1 parking brake wire assembly connectors.

(d) Check both the connector case and the terminals for deformation and corrosion.

OK:

No deformation or corrosion.

(e) Measure the resistance according to the value(s) in the table below.

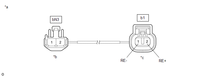
*a

Front view of No. 1 Parking Brake Wire Assembly

*b

(to wire harness connector)

*c

(to Parking Brake Actuator Assembly RH)

-

-

Standard Resistance:

Tester Connection

Condition

Specified Condition

bN3-2 - b1-2 (RE+)

Always

Below 1 Ω

bN3-2 or b1-2 (RE+) - Body ground and other terminals

Always

10 kΩ or higher

bN3-1 - b1-1 (RE-)

Always

Below 1 Ω

bN3-1 or b1-1 (RE-) - Body ground and other terminals

Always

10 kΩ or higher

NG

REPLACE NO. 1 PARKING BRAKE WIRE ASSEMBLY

OK

3.

CHECK HARNESS AND CONNECTOR (SKID CONTROL ECU (BRAKE ACTUATOR ASSEMBLY) - PARKING BRAKE ACTUATOR ASSEMBLY RH)

(a) Turn the engine switch off.

(b) Make sure the No. 1 parking brake wire assembly is securely installed.

(c) Disconnect the A40 skid control ECU (brake actuator assembly) connector.

(d) Disconnect the b1 parking brake actuator assembly RH connector.

(e) Measure the resistance according to the value(s) in the table below.

Standard Resistance:

Tester Connection

Condition

Specified Condition

A40-2 (MRR+) - b1-2 (RE+)

Always

Below 1 Ω

A40-3 (MRR-) - b1-1 (RE-)

Always

Below 1 Ω

A40-2 (MRR+) or b1-2 (RE+) - Body ground

Always

10 kΩ or higher

A40-3 (MRR-) or b1-1 (RE-) - Body ground

Always

10 kΩ or higher

NG

REPAIR OR REPLACE HARNESS OR CONNECTOR

OK

4.

INSPECT REAR BRAKE AND PARKING BRAKE ACTUATOR ASSEMBLY RH (CHECK FOR ROTATING PARTS THAT ARE STUCK AND FOR FREE SPINNING ACTUATORS)

(a) Enter rear brake pad replacement mode.

Click here

(b) Turn the engine switch off.

(c) Check that the rotating parts are not seized or the actuator is not spinning freely.

(1) Check that the parking brake actuator assembly RH is installed properly to the rear brake caliper and that it is not spinning freely.

For the parking brake actuator assembly RH removal procedure: Click here

(2) Check that there is no damage to the rotating parts from the parking brake actuator assembly RH to the rear brake caliper.

(3) Inspect the parking brake actuator assembly RH and check that it operates correctly.

Click here

(4) Check that the rear brake caliper threaded part rotates and that the rear disc brake piston moves outward.

HINT:

For the check procedures, refer to the parking brake forced release method when not using the Techstream.

Click here

HINT:

Return to normal mode after work is complete.

Click here

Result

Proceed to

Parking brake actuator assembly RH is malfunctioning

A

Other than parking brake actuator assembly RH is malfunctioning

B

A

REPLACE PARKING BRAKE ACTUATOR ASSEMBLY RH

B

REPAIR OR REPLACE ABNORMAL PARTS

READ NEXT:

 Brake System Control Module "A" System Internal Failure (C059704,C059746,C060B49,C061049,C13CF1C,C13D41C)

DESCRIPTION The following DTCs are stored when a malfunction occurs in the skid control ECU (brake actuator assembly). DTC No. Detection Item DTC Detection Condition Trouble Area Memory N

 Electric Parking Brake Switch Signal Compare Failure (C060962)

DESCRIPTION When the electric parking brake switch is pushed, a lock request signal is sent from the skid control ECU (brake actuator assembly) to the parking brake actuator assembly. When the electri

 Right Electric Parking Brake Actuator Control (C061000,C061011)

DESCRIPTION DTC No. Detection Item DTC Detection Condition Trouble Area Memory Note C061000 Right Electric Parking Brake Actuator Control Diagnosis Condition: - Malfunction S

SEE MORE:

 Lost Communication with Brake System Control Module Missing Message (U012987)

MONITOR DESCRIPTION The ECM and skid control ECU (brake booster with master cylinder assembly) send and receive signals via CAN communication. If a communication error occurs between the ECM and skid control ECU (brake booster with master cylinder assembly), the ECM illuminates the MIL and stores th

 Main Body ECU Vehicle Information Reading/Writing Process Malfunction (B15F6)

DESCRIPTION This DTC is stored when items controlled by the main body ECU (multiplex network body ECU) cannot be customized via the navigation system vehicle customization screen. HINT: The main body ECU (multiplex network body ECU) controls the items for the following systems that are customizable

© 2016-2026 Copyright www.lexguide.net