Lexus ES manuals

Lexus ES: Installation

INSTALLATION

PROCEDURE

1. INSTALL SHIFT LEVER POSITION SENSOR

(a) Move the shift lever to N.

(b) Clean and degrease the 2 bolt holes of the hybrid vehicle transaxle assembly.

(c) Temporarily install the shift lever position sensor to the hybrid vehicle transaxle assembly with 2 new bolts.

NOTICE:

  • Do not reuse the shift lever position sensor if it has been dropped or subjected to a severe impact.
  • Do not allow moisture to adhere to the connector terminal.

(d) Install the lock plate to the shift lever position sensor with the lock nut.

Torque:

6.9 N·m {70 kgf·cm, 61 in·lbf}

(e) Temporarily install the control shaft lever to the shift lever position sensor.

(f) Turn the control shaft lever clockwise until it stops, then turn it counterclockwise 2 notches.

(g) Remove the control shaft lever from the shift lever position sensor.

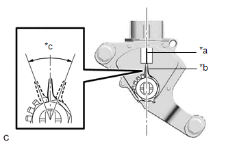
(h) Align the indicator with the neutral basic line.

NOTICE:

The indicator of the lock plate has a certain amount of play. Align the center point of the range of play with the neutral basic line.

*a

Neutral Basic Line

*b

Indicator

*c

Range of Play

(i) Tighten the 2 bolts.

Torque:

11 N·m {112 kgf·cm, 8 ft·lbf}

(j) Using a screwdriver with its tip wrapped with protective tape, secure the lock nut with the lock plate.

(k) Install the control shaft lever and washer to the shift lever position sensor with the nut.

Torque:

12.7 N·m {130 kgf·cm, 9 ft·lbf}

(l) Connect the shift lever position sensor connector.

2. CONNECT TRANSMISSION CONTROL CABLE ASSEMBLY

(a) Engage the 2 claws to install a new clip to the transmission control cable assembly.

(b) Using a screwdriver, engage the 4 claws and install the transmission control cable assembly to the No. 1 transmission control cable bracket.

NOTICE:

  • Make sure that the claws (A) of the clip are securely engaged in the grooves of the bracket.
  • Make sure that the transmission control cable assembly is securely installed inside of the claws (B) of the clip.

*1

Transmission Control Cable Assembly

*2

No. 1 Transmission Control Cable Bracket

*a

Claw (A)

*b

Claw (B)

(c) Connect the transmission control cable assembly to the control shaft lever with the nut.

Torque:

12 N·m {122 kgf·cm, 9 ft·lbf}

3. INSTALL AIR CLEANER ASSEMBLY WITH AIR CLEANER HOSE

Click here

4. INSTALL NO. 1 ENGINE COVER SUB-ASSEMBLY

Click here

5. INSTALL INLET AIR CLEANER ASSEMBLY

Click here

6. INSTALL COOL AIR INTAKE DUCT SEAL

Click here

7. INSPECT SHIFT LEVER POSITION SENSOR POSITION

Click here

8. ADJUST SHIFT LEVER POSITION SENSOR POSITION

Click here

9. INSPECT SHIFT LEVER POSITION

Click here

10. ADJUST SHIFT LEVER POSITION

Click here

11. INSTALL NO. 2 ENGINE UNDER COVER ASSEMBLY

Click here

12. INSTALL NO. 1 ENGINE UNDER COVER

Click here

13. INSTALL FRONT WHEEL OPENING EXTENSION PAD LH

Click here

14. INSTALL FRONT WHEEL OPENING EXTENSION PAD RH

Click here

READ NEXT:

 Removal

REMOVAL PROCEDURE 1. SECURE VEHICLE (a) Fully apply the parking brake and chock a wheel. CAUTION: Make sure to apply the parking brake and chock a wheel before performing this procedure. If the v

 Shift Lever

 Components

COMPONENTS ILLUSTRATION *1 SHIFT LEVER KNOB SUB-ASSEMBLY *2 SHIFT LOCK RELEASE BUTTON COVER *3 TRANSMISSION CONTROL CABLE ASSEMBLY *4 TRANSMISSION FLOOR SHIFT ASSEMBLY *5 REA

SEE MORE:

 Lost Communication with ECM / PCM "A" (U0100,U0126,U0129,U0132,U023A)

DESCRIPTION The power steering ECU (rack and pinion power steering gear assembly) receives signals from the ECM, steering sensor, skid control ECU (brake actuator assembly), AVS ECU (absorber control ECU) and forward recognition camera via CAN communication. DTC No. Detection Item DTC Detecti

 ABS Solenoid Control Module Actuator Stuck On (C143A7E,C143A7F,C143D49,C14DA14)

DESCRIPTION The ABS solenoid relay is built into the skid control ECU in the brake actuator assembly. The ABS solenoid relay supplies power to each solenoid. The skid control ECU (brake actuator assembly) detects an ABS solenoid relay malfunction by performing a self check and relay operation check.

© 2016-2025 Copyright www.lexguide.net