Lexus ES manuals

Lexus ES: Inspection

INSPECTION

PROCEDURE

1. INSPECT WATER INLET WITH THERMOSTAT SUB-ASSEMBLY

CAUTION:

  • Do not put your hands into the water that has been heated for the inspection.
  • Touching the heated water could result in burns.

HINT:

The valve opening temperature is inscribed on the water inlet with thermostat sub-assembly.

(a) Immerse the water inlet with thermostat sub-assembly in water and then gradually heat the water.

NOTICE:

Do not allow any water to come into contact with the water inlet with thermostat sub-assembly connector.

(b) Check that the valve of the water inlet with thermostat sub-assembly opens at the specified temperature.

Standard Valve Opening Temperature:

80 to 84°C (176 to 183°F)

If the result is not as specified, replace the water inlet with thermostat sub-assembly.

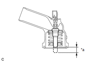
(c) Check the valve lift.

Standard Valve Lift:

8.0 mm (0.315 in.) or more at 95°C (203°F)

If the result is not as specified, replace the water inlet with thermostat sub-assembly.

*a

Valve Lift

(d) Check that the valve is fully closed when the water inlet with thermostat sub-assembly is at low temperatures (below 72°C (162°F)).

If it is not fully closed, replace the water inlet with thermostat sub-assembly.

(e) Measure the resistance according to the value(s) in the table below.

Standard Resistance:

Tester Connection

Condition

Specified Condition

1 - 2

Always

10.6 to 14.2 Ω

If the result is not as specified, replace the water inlet with thermostat sub-assembly.

READ NEXT:

 Installation

INSTALLATION CAUTION / NOTICE / HINT NOTICE: This procedure includes the installation of small-head bolts. Refer to Small-Head Bolts of Basic Repair Hint to identify the small-head bolts. Click here

 Water Pump

 Components

COMPONENTS ILLUSTRATION *1 ENGINE WATER PUMP ASSEMBLY (WATER INLET HOUSING) *2 GASKET N*m (kgf*cm, ft.*lbf): Specified torque ● Non-reusable part

SEE MORE:

 Hybrid/EV Battery Temperature Sensor "A" Circuit Short to Ground (P0A9B11,P0A9B15,P0AC511,P0AC515,P0ACA11,P0ACA15)

DESCRIPTION The battery temperature sensors are provided at 3 locations of the HV battery. The resistance of the thermistor, which is built into each battery temperature sensor, varies in accordance with changes in the HV battery temperature. The lower the battery temperature, the higher the thermis

 Removal

REMOVAL CAUTION / NOTICE / HINT The necessary procedures (adjustment, calibration, initialization or registration) that must be performed after parts are removed and installed, or replaced during rear crankshaft oil seal removal/installation are shown below. Necessary Procedure After Parts Removed/I

© 2016-2026 Copyright www.lexguide.net