Lexus ES manuals

Lexus ES: Inspection

INSPECTION

PROCEDURE

1. INSPECT PORT FUEL INJECTOR ASSEMBLY

(a) Check the resistance.

(1) Measure the resistance according to the value(s) in the table below.

Standard Resistance:

Tester Connection

Condition

Specified Condition

1 - 2

20°C (68°F)

11.6 to 12.4 Ω

If the result is not as specified, replace the port fuel injector assembly.

*a

Component without harness connected

(Port Fuel Injector Assembly)

(b) Check the operation.

CAUTION:

Perform the inspection in a well-ventilated area.

Do not perform the inspection near an open flame.

(1) Disengage the 2 claws to remove the No. 2 fuel pipe clamp.

(2) Remove the fuel pipe clamp from the fuel tube connector.

(3) Disconnect the fuel tube sub-assembly.

Click here

(4) Connect SST (fuel tube connector) to SST (hose) with SST (hose band), and then connect them to the fuel pipe (vehicle side).

SST: 09268-31015

09268-41500

09268-41700

95336-08070

NOTICE:

Make sure the SST (fuel tube connector) O-rings are not damaged and are free of foreign matter as they are used to seal the connections between the fuel tube connector and fuel pipe.

*a

SST (Hose)

*b

SST (Hose Band)

*c

SST (Fuel Tube Connector)

*d

Fuel Pipe (Vehicle Side)

(5) Apply a light coat of gasoline to a new O-ring, and then install the O-ring to the port fuel injector assembly.

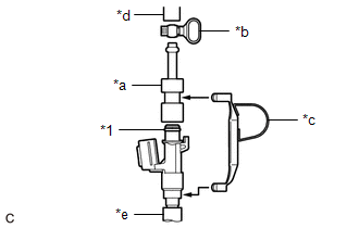
(6) Connect SST (adapter) and SST (hose) to the port fuel injector assembly, and hold the port fuel injector assembly and union with SST (clamp).

SST: 09268-31015

09268-41600

09268-41300

09268-41700

95336-08070

*1

O-ring

*a

SST (Adapter)

*b

SST (Hose Band)

*c

SST (Clamp)

*d

SST (Hose)

*e

Vinyl Tube

(7) Tie SST (clamp) and SST (adapter) together with SST (tie band) as shown in the illustration.

SST: 09268-31015

09268-41800

NOTICE:

  • As SST (tie band) does not completely prevent SST (clamp) from becoming loose, do not subject the parts to any impacts while using them.
  • Before using SST (tie band), make sure that there is no wear, damage or cracks. If there are any abnormalities, replace SST.

HINT:

When removing SST (tie band), disengage the lock.

*a

Lock

*b

SST (Tie Band)

(8) Check that SST (clamp) and SST (adapter) cannot be easily separated.

(9) Install a vinyl tube to the port fuel injector assembly.

CAUTION:

Install a suitable vinyl tube to the port fuel injector assembly to prevent fuel from spraying.

(10) Set the port fuel injector assembly into a graduated cylinder.

(11) Connect the Techstream to the DLC3.

(12) Turn the engine switch on (IG).

NOTICE:

Do not start the engine.

(13) Turn the Techstream on.

(14) Enter the following menus: Powertrain / Engine / Active Test / Activate the Circuit Relay.

Powertrain > Engine > Active Test

Tester Display

Activate the Circuit Relay

(15) Connect SST (EFI inspection wire I) to the port fuel injector assembly and battery for 15 seconds, and measure the injection volume with the graduated cylinder. Test each port fuel injector assembly 2 or 3 times.

SST: 09842-30090

Standard Injection Volume:

Tester Connection

Condition

Specified Condition

Positive (+) battery terminal - Negative (-) battery terminal

Per 15 seconds

67 to 81 cc (4.1 to 4.9 cu. in.)

Difference between Each Port Fuel Injector Assembly:

14 cc (0.9 cu. in.) or less

NOTICE:

  • Make sure that SST (EFI inspection wire I) is securely connected.
  • Always switch the voltage on and off at the battery side, not the port fuel injector assembly side.

If the injection volume is not as specified, replace the port fuel injector assembly.

*a

SST (EFI Inspection Wire I)

(c) Check for leaks.

(1) Disconnect SST (EFI inspection wire I) from the battery and check for fuel leaks from the port fuel injector assembly.

Standard Fuel Drop:

1 drop or less per 20 minutes

If the result is not as specified, replace the port fuel injector assembly.

(2) Connect the fuel tube sub-assembly.

Click here

(3) Install the fuel pipe clamp to the fuel tube connector.

(4) Engage the 2 claws to install the No. 2 fuel pipe clamp.

(5) Check for fuel leaks.

Click here

READ NEXT:

 Installation

INSTALLATION PROCEDURE 1. INSTALL PORT FUEL INJECTOR ASSEMBLY HINT: Perform "Inspection After Repair" after replacing a port fuel injector assembly. Click here (a) Apply a light coat of spindle oil

 Fuel Main Valve

 Components

COMPONENTS ILLUSTRATION *1 FUEL SUCTION PLATE SUB-ASSEMBLY *2 FUEL FILTER *3 O-RING *4 FUEL MAIN VALVE ASSEMBLY (for Low Pressure) *5 FUEL MAIN VALVE ASSEMBLY (for High Press

SEE MORE:

 Data List / Active Test

DATA LIST / ACTIVE TEST READ DATA LIST NOTICE: In the table below, the values listed under "Normal Condition" are reference values. Do not depend solely on these reference values when deciding whether a part is faulty or not. HINT: Using the Techstream to read the Data List allows the values or stat

 Auto Down Operation does not Fully Open Power Window (Catch Protection Function is Activated)

DESCRIPTION If a door glass does not slide smoothly or a power window regulator motor assembly or door window regulator sub-assembly does not operate smoothly, the catch protection function may be triggered automatically, resulting in the auto down operation being unable to fully open the power wind

© 2016-2025 Copyright www.lexguide.net