Lexus ES manuals

Lexus ES: Headlight Swivel Motor LH (B2412,B2413,B2417,B2418)

Lexus ES (XZ10) Service Manual / Vehicle Exterior / Lighting (ext) / Lighting System (for Gasoline Model) / Headlight Swivel Motor LH (B2412,B2413,B2417,B2418)

DESCRIPTION

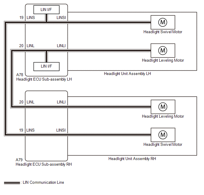
The headlight ECU sub-assembly LH sends automatic headlight beam level control signals to each headlight swivel motor and headlight leveling motor via LIN communication.

Each headlight ECU sub-assembly and headlight swivel motor and headlight leveling motor communicate via LIN communication.

The headlight swivel motor and headlight leveling motor operates according to power supplied and automatic headlight beam level control signals from its respective headlight ECU sub-assembly and sends its operating state to the headlight ECU sub-assembly.

The headlight ECU sub-assembly LH stores a DTC if it detects that a headlight swivel motor and headlight leveling motor is malfunctioning.

DTC No.

Detection Item

DTC Detection Condition

Trouble Area

DTC Output from

B2412

Headlight Swivel Motor LH

  • The engine switch is on (IG).
  • Headlight swivel motor malfunction detected
  • -

Headlight unit assembly LH

Headlight ECU sub-assembly LH

B2413

Headlight Swivel Motor RH

  • The engine switch is on (IG).
  • Headlight swivel motor malfunction detected
  • -

Headlight unit assembly RH

Headlight ECU sub-assembly LH

B2417

Headlight Beam Level Control Motor LH

  • The engine switch is on (IG).
  • Headlight leveling motor malfunction detected
  • -

Headlight unit assembly LH

Headlight ECU sub-assembly LH

B2418

Headlight Beam Level Control Motor RH

  • The engine switch is on (IG).
  • Headlight leveling motor malfunction detected
  • -

Headlight unit assembly RH

Headlight ECU sub-assembly LH

WIRING DIAGRAM

PROCEDURE

1.

CLEAR DTC

(a) Connect the Techstream to the DLC3.

(b) Turn the engine switch on (IG).

(c) Turn the Techstream on.

(d) Enter the following menus: Body Electrical / AFS / Trouble Codes.

(e) Clear the DTCs.

Body Electrical > AFS > Clear DTCs
NEXT

2.

CHECK FOR DTC

(a) Connect the Techstream to the DLC3.

(b) Turn the engine switch on (IG).

(c) Turn the Techstream on.

(d) Enter the following menus: Body Electrical / AFS / Trouble Codes.

(e) Check for DTCs.

Body Electrical > AFS > Trouble Codes

OK:

DTC B2412, B2413, B2417 and B2418 are not output.

Result

Proceed to

OK

A

NG (DTC B2412 or B2417 is output)

B

NG (DTC B2413 or B2418 is output)

C

A

USE SIMULATION METHOD TO CHECK

B

REPLACE HEADLIGHT UNIT ASSEMBLY LH

C

REPLACE HEADLIGHT UNIT ASSEMBLY RH

READ NEXT:

 Steering Position Sensor (B2414)

DESCRIPTION The headlight ECU sub-assembly LH receives steering angle signals from the steering sensor via CAN communication and performs light control. for LED Type Turn Signal Light DTC No. Det

 Vehicle Speed Sensor (B2415)

DESCRIPTION The headlight ECU sub-assembly LH receives speed signals from the skid control ECU (brake actuator assembly) via CAN communication and performs light control. for LED Type Turn Signal Ligh

 Rear Height Control Sensor (B241A)

DESCRIPTION The headlight ECU sub-assembly LH determines the vehicle height and performs automatic headlight beam level control based on signals from the rear height control sensor sub-assembly LH via

SEE MORE:

 DC/DC Converter Temperature Sensor "A" Circuit Short to Ground (P0C3811,P0C3815,P0C3D11,P0C3D15)

DESCRIPTION The motor generator control ECU (MG ECU) located in the inverter with converter assembly detects the temperature of the boost converter using the temperature sensor built into the boost converter. The motor generator control ECU (MG ECU) detects malfunctions in the boost converter temper

 LTA (Lane Tracing Assist)

When driving on highways and freeways with white (yellow) lane lines, this function alerts the driver when the vehicle might depart from its lane or course* and provides assistance by operating the steering wheel to keep the vehicle in its lane or course*. Furthermore, the system provides st

© 2016-2026 Copyright www.lexguide.net