Lexus ES manuals

Lexus ES: Adjustment

ADJUSTMENT

CAUTION / NOTICE / HINT

The necessary procedures (adjustment, calibration, initialization, or registration) that must be performed after completing the front wheel alignment procedure are shown below.

Necessary Procedures After Procedure Performed

Replaced Part or Performed Procedure

Necessary Procedure

Effect/Inoperative Function when Necessary Procedure not Performed

Link

Front wheel alignment adjustment

for HV Model:
  1. Clear zero point calibration data.
  2. Perform yaw rate and acceleration sensor zero point calibration.
  • DTCs are stored
  • ABS warning light illuminates
  • Brake warning light / yellow (minor malfunction) illuminates
  • Slip indicator light illuminates
  • VSC disabled or malfunctions

for Gasoline Model:
  1. Perform "Reset Memory".
  2. Perform acceleration sensor zero point calibration and store system information memorization.
  • VSC is disabled or malfunctions
  • DTCs are output
  • Slip indicator light illuminates
  • ABS warning light illuminates

PROCEDURE

1. INSPECT TIRES

Click here

2. MEASURE VEHICLE HEIGHT

NOTICE:

  • Before inspecting the wheel alignment, adjust the vehicle height to the specified value.
  • Be sure to perform measurement on a level surface.
  • If it is necessary to go under the vehicle for measurement, confirm that the parking brake is applied and the vehicle is secured with chocks.
  • Inspect while the vehicle is unloaded.
  • The standard value shown here is a value that is used for performing a wheel alignment and does not indicate the height of an actual vehicle.

(a) Bounce the vehicle up and down at the corners to stabilize the suspension.

(b) Measure the vehicle height.

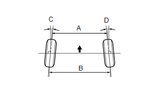
Measurement Points:
  • A: Ground clearance of front wheel center
  • B: Ground clearance of center of bolt head of front lower No. 2 suspension arm bushing (rear bolt of front lower No. 1 suspension arm sub-assembly).
  • C: Ground clearance of rear wheel center
  • D: Ground clearance of center of bolt head of rear No. 2 suspension arm assembly and rear suspension member sub-assembly.

Vehicle Height (Unloaded Vehicle):

Engine

Front A - B

Rear C - D

2GR-FKS

150 mm (5.91 in.)

51 mm (2.01 in.)

A25A-FXS

153 mm (6.02 in.)

50 mm (1.97 in.)

3. INSPECT CAMBER, CASTER AND STEERING AXIS INCLINATION

NOTICE:

Inspect while the vehicle is unloaded.

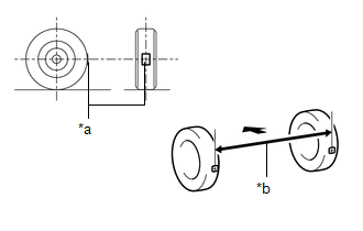
(a) Install a camber-caster-kingpin gauge and place the front wheels on the center of a turning radius gauge.

*a

Turning Radius Gauge

*b

Camber-caster-kingpin Gauge

(b) Inspect the camber, caster and steering axis inclination.

Camber (Unloaded Vehicle):

Engine

Camber Inclination

Right-left Difference

2GR-FKS

-0°19' +/- 0°45' (-0.32° +/- 0.75°)

0°45' (0.75°) or less

A25A-FXS

-0°23' +/- 0°45' (-0.38° +/- 0.75°)

Caster (Unloaded Vehicle):

Engine

Tire Size

Caster Inclination

Right-left Difference

2GR-FKS

215/55R17

5°08' +/- 0°45' (5.13° +/- 0.75°)

0°45' (0.75°) or less

235/45R18

5°07' +/- 0°45' (5.12° +/- 0.75°)

235/40R19

5°09' +/- 0°45' (5.15° +/- 0.75°)

A25A-FXS

215/55R17

235/45R18

5°09' +/- 0°45' (5.15° +/- 0.75°)

Steering Axis Inclination (Unloaded Vehicle):

Engine

Steering Axis Inclination Reference

2GR-FKS

12°53' (12.88°)

A25A-FXS

13°02' (13.03°)

4. ADJUST CAMBER

NOTICE:

Inspect toe-in after the camber has been adjusted.

(a) Remove the front wheel.

Click here

(b) Remove the 2 nuts on the lower side of the front shock absorber assembly.

NOTICE:

Keep the bolts inserted.

(c) Remove the top and bottom bolts one at a time and confirm that the steering knuckle can move freely in the front shock absorber assembly.

HINT:

  • Reinstall each bolt after removing it and confirming steering knuckle movement.
  • If the steering knuckle does not move freely in the front shock absorber assembly, clean the contact surfaces of the front shock absorber assembly and the steering knuckle.

(d) Temporarily install the 2 nuts. (Step A)

(e) Fully push or pull the front axle hub in the direction of the required adjustment. (Step B)

(f) Tighten the 2 nuts.

Torque:

290 N·m {2957 kgf·cm, 214 ft·lbf}

NOTICE:

Keep the bolts from rotating when tightening the nuts.

(g) Install the front wheel.

Click here

(h) Bounce the vehicle up and down at the corners to stabilize the suspension.

(i) Check the camber.

Camber (Unloaded Vehicle):

Engine

Camber Inclination

Right-left Difference

2GR-FKS

-0°19' +/- 0°45' (-0.32° +/- 0.75°)

0°45' (0.75°) or less

A25A-FXS

-0°23' +/- 0°45' (-0.38° +/- 0.75°)

(1) If the measured value is not within the specification, calculate the required adjustment amount using the formula below.

Camber adjustment amount = center of the specified range - measured value

Check the combination of the installed bolts. Select appropriate bolts from the tables below to adjust the camber to the specified values.

HINT:

Try to adjust the camber to the center of the specified values.

To move the axle hub toward (+) in step B

To move the axle hub toward (-) in step B

Refer to table (1) (To move the axle hub toward the positive side)

Refer to table (2) (To move the axle hub toward the negative side)

The vehicle body and suspension may be damaged if the camber cannot be correctly adjusted according to the table above.

NOTICE:

Replace the nut with a new one when replacing the bolt.

(2) Table (1) (To move the axle hub toward the positive side)

*A

Table (1) (To move the axle hub toward the positive side)

*B

Selected Bolt Combination

*a

Installed Bolt

*b

Adjusting Value

*c

Standard Bolt

*d

90105-17013

*e

90105-17014

*f

90105-17015

(3) Table (2) (To move the axle hub toward the negative side)

*A

Table (2) (To move the axle hub toward the negative side)

*B

Selected Bolt Combination

*a

Installed Bolt

*b

Adjusting Value

*c

Standard Bolt

*d

90105-17013

*e

90105-17014

*f

90105-17015

(j) If the camber was out of adjustment in the previous step, perform the adjust camber steps mentioned above. In step A, replace the existing bolts with the selected bolts.

HINT:

Replace one bolt at a time when replacing both bolts.

5. INSPECT TOE-IN

NOTICE:

Inspect while the vehicle is unloaded.

(a) Bounce the vehicle up and down at the corners to stabilize the suspension.

(b) Release the parking brake and move the shift lever to N.

(c) Push the vehicle straight ahead approximately 5 m (16.4 ft.). (Step C)

(d) Put tread center marks on the rearmost points of the front wheels and measure the distance between the marks (dimension B).

*a

Tread Center Mark

*b

Dimension B

Front of the Vehicle

(e) Slowly push the vehicle straight ahead to cause the front wheels to rotate 180°. Use the front tire valve as a reference point.

HINT:

Do not allow the wheels to rotate more than 180°. If the wheels rotate more than 180°, perform the procedure from step C again.

(f) Measure the distance between the tread center marks on the front of the wheels (dimension A).

*a

Dimension A

Front of the Vehicle

Toe-in (Unloaded Vehicle):

Engine

Specified Condition

2GR-FKS

C + D: 0°04' +/- 0°10' (0.07° +/- 0.17°)

B - A: 0.8 +/- 2.0 mm (0.0315 +/- 0.0787 in.)

A25A-FXS

C + D: 0°03' +/- 0°10' (0.04° +/- 0.17°)

B - A: 0.5 +/- 2.0 mm (0.0197 +/- 0.0787 in.)

HINT:

Measure "B - A" only when "C + D" cannot be measured.

If the toe-in is not within the specified range, adjust it at the steering rack ends.

6. ADJUST TOE-IN

(a) Separate the steering rack boot clips from the steering rack boot.

(b) Loosen the tie rod assembly lock nuts.

(c) Turn the right and left steering rack ends by an equal amount to adjust the toe-in.

HINT:

  • If the toe-in measurement is greater than the specified range (too much toe-out), extend the shorter rack end so that the difference in length is within the specified range.
  • If the toe-in measurement is less than the specified range (too much toe-in), shorten the longer rack end so that the difference in length is within the specified range.

(d) Measure the toe-in.

Front of the Vehicle

Toe-in (Unloaded Vehicle):

Engine

Specified Condition

2GR-FKS

C + D: 0°04' +/- 0°10' (0.07° +/- 0.17°)

B - A: 0.8 +/- 2.0 mm (0.0315 +/- 0.0787 in.)

A25A-FXS

C + D: 0°03' +/- 0°10' (0.04° +/- 0.17°)

B - A: 0.5 +/- 2.0 mm (0.0197 +/- 0.0787 in.)

HINT:

Perform adjustments so that the value is as close as possible to the median of the specified range.

(e) Tighten the tie rod assembly lock nuts.

Torque:

88 N·m {897 kgf·cm, 65 ft·lbf}

(f) Place the steering rack boots on the seats and install the steering rack boot clips.

*a

Clip Tab Positioning Area

Up

Rear of Vehicle

HINT:

  • Make sure that the steering rack boots are not twisted.
  • Make sure that the tabs of the steering rack boot clip are positioned within the area shown in the illustration.

7. INSPECT WHEEL ANGLE

(a) Put tread center marks on the rearmost points of a turning radius gauge.

*a

Inside

*b

Outside

Front of the Vehicle

(b) Turn the steering wheel fully to the left and right and measure the turning angle.

NOTICE:

Inspect while the vehicle is unloaded.

Wheel Turning Angle (Unloaded Vehicle):

Engine

Tire Size

Inside Wheel

Outside Wheel

2GR-FKS

215/55R17

38°52' +/- 2°00' (38.87° +/- 2.00°)

32°44' (32.73°)

235/45R18

235/40R19

37°29' +/- 2°00' (37.48° +/- 2.00°)

31°53' (31.88°)

A25A-FXS

215/55R17

38°52' +/- 2°00' (38.87° +/- 2.00°)

32°44' (32.73°)

235/45R18

37°29' +/- 2°00' (37.48° +/- 2.00°)

31°53' (31.88°)

  • If the right and left inside wheel angles differ from the specified value, check and adjust the right and left steering rack end lengths.

8. ALIGN FRONT WHEELS FACING STRAIGHT AHEAD

9. PERFORM YAW RATE AND ACCELERATION SENSOR ZERO POINT CALIBRATION (for HV Model)

Click here

10. PERFORM ACCELERATION SENSOR ZERO POINT CALIBRATION AND STORE SYSTEM INFORMATION MEMORIZATION (for Gasoline Model)

Click here

READ NEXT:

 Rear Wheel Alignment

 Adjustment

ADJUSTMENT CAUTION / NOTICE / HINT The necessary procedures (adjustment, calibration, initialization, or registration) that must be performed after completing the rear wheel alignment procedure are sh

 Adjustment

ADJUSTMENT CAUTION / NOTICE / HINT The necessary procedures (adjustment, calibration, initialization, or registration) that must be performed after completing the rear wheel alignment procedure are sh

SEE MORE:

 Control Module Communication Bus Off (U0073,U0100,U0126,U0129)

DESCRIPTION The 4WD ECU assembly inputs the signals sent from the ECM, skid control ECU (brake actuator assembly) and steering sensor via CAN communication. When DTCs indicating a CAN communication system malfunction are output, repair the CAN communication system before repairing each corresponding

 Hazard Warning Switch Circuit

DESCRIPTION The combination meter assembly receives the hazard warning signal switch assembly on signal and controls the operation of the hazard warning lights. WIRING DIAGRAM CAUTION / NOTICE / HINT NOTICE: When replacing the combination meter assembly, always replace it with a new one. If a combi

© 2016-2026 Copyright www.lexguide.net