Lexus ES manuals

Lexus ES: Adjustment

ADJUSTMENT

CAUTION / NOTICE / HINT

The necessary procedures (adjustment, calibration, initialization, or registration) that must be performed after completing the rear wheel alignment procedure are shown below.

Necessary Procedures After Procedure Performed

Replaced Part or Performed Procedure

Necessary Procedure

Effect/Inoperative Function when Necessary Procedure not Performed

Link

Rear wheel alignment adjustment

for HV Model:
  1. Clear zero point calibration data.
  2. Perform yaw rate and acceleration sensor zero point calibration.
  • DTCs are stored
  • ABS warning light illuminates
  • Brake warning light / yellow (minor malfunction) illuminates
  • Slip indicator light illuminates
  • VSC disabled or malfunctions

for Gasoline Model:
  1. Perform "Reset Memory".
  2. Perform acceleration sensor zero point calibration and store system information memorization.
  • VSC is disabled or malfunctions
  • DTCs are output
  • Slip indicator light illuminates
  • ABS warning light illuminates

PROCEDURE

1. INSPECT TIRES

Click here

2. MEASURE VEHICLE HEIGHT

Click here

3. INSPECT CAMBER

NOTICE:

Inspect while the vehicle is unloaded.

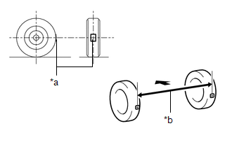
(a) Install a camber-caster-kingpin gauge.

*a

Camber-caster-kingpin Gauge

(b) Inspect the camber.

Camber (Unloaded Vehicle):

for 2WD:

Engine

Camber Inclination

Right-left Difference

2GR-FKS

-1°10' +/- 0°45' (-1.17° +/- 0.75°)

0°45' (0.75°) or less

A25A-FXS

-1°05' +/- 0°45' (-1.08° +/- 0.75°)

for AWD:

Tire Size

Camber Inclination

Right-left Difference

215/55R17

-1°40' +/- 0°45' (-1.67° +/- 0.75°)

0°45' (0.75°) or less

235/45R18

235/40R19

-1°35' +/- 0°45' (-1.58° +/- 0.75°)

HINT:

Camber is not adjustable. If the measurement is not within the specified range, inspect the suspension parts for damage and/or wear, and replace them if necessary.

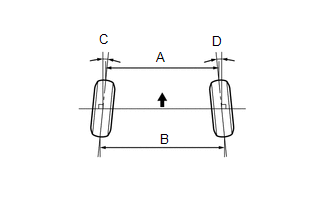
4. INSPECT TOE-IN

NOTICE:

Inspect while the vehicle is unloaded.

(a) Bounce the vehicle up and down at the corners to stabilize the suspension.

(b) Release the parking brake and move the shift lever to N.

(c) Push the vehicle straight ahead approximately 5 m (16.4 ft.). (Step A)

(d) Put tread center marks on the rearmost points of the rear wheels and measure the distance between the marks (dimension B).

*a

Tread Center Mark

*b

Dimension B

Front of the Vehicle

(e) Slowly push the vehicle straight ahead to cause the rear wheels to rotate 180°. Use the rear tire valve as a reference point.

HINT:

Do not allow the wheels to rotate more than 180°. If the wheels rotate more than 180°, perform the procedure from step A again.

(f) Measure the distance between the tread center marks on the front of the rear wheels (dimension A).

*a

Dimension A

Front of the Vehicle

Toe-in (Unloaded Vehicle):

for 2WD:

Engine

Specified Condition

Right-left Difference

2GR-FKS

C + D: 0°12' +/- 0°10' (0.20° +/- 0.17°)

-

B - A: 2.3 +/- 2.0 mm (0.0906 +/- 0.0787 in.)

2.0 mm (0.0787 in.) or less

A25A-FXS

C + D: 0°11' +/- 0°10' (0.19° +/- 0.17°)

-

B - A: 2.2 +/- 2.0 mm (0.0866 +/- 0.0787 in.)

2.0 mm (0.0787 in.) or less

for AWD:

Tire Size

Specified Condition

Right-left Difference

215/55R17

C + D: 0°14' +/- 0°10' (0.24° +/- 0.17°)

-

B - A: 2.8 +/- 2.0 mm (0.11 +/- 0.0787 in.)

2.0 mm (0.0787 in.) or less

235/45R18

235/40R19

C + D: 0°13' +/- 0°10' (0.22° +/- 0.17°)

-

B - A: 2.6 +/- 2.0 mm (0.102 +/- 0.0787 in.)

2.0 mm (0.0787 in.) or less

HINT:

Measure "B - A" only when "C + D" cannot be measured.

If the toe-in is not within the specified range, adjust it at the rear suspension toe adjust cam sub-assembly.

5. ADJUST TOE-IN

(a) Loosen the nut of the rear No. 2 suspension arm assembly (on the rear suspension member sub-assembly side).

NOTICE:

Hold the rear suspension toe adjust cam sub-assembly while rotating the nut.

(b) Rotate the rear suspension toe adjust cam sub-assembly to adjust the toe-in.

Toe-in (Unloaded Vehicle):

for 2WD:

Engine

Specified Condition

Right-left Difference

2GR-FKS

C + D: 0°12' +/- 0°10' (0.20° +/- 0.17°)

-

B - A: 2.3 +/- 2.0 mm (0.0906 +/- 0.0787 in.)

2.0 mm (0.0787 in.) or less

A25A-FXS

C + D: 0°11' +/- 0°10' (0.19° +/- 0.17°)

-

B - A: 2.2 +/- 2.0 mm (0.0866 +/- 0.0787 in.)

2.0 mm (0.0787 in.) or less

for AWD:

Tire Size

Specified Condition

Right-left Difference

215/55R17

C + D: 0°14' +/- 0°10' (0.24° +/- 0.17°)

-

B - A: 2.8 +/- 2.0 mm (0.11 +/- 0.0787 in.)

2.0 mm (0.0787 in.) or less

235/45R18

235/40R19

C + D: 0°13' +/- 0°10' (0.22° +/- 0.17°)

-

B - A: 2.6 +/- 2.0 mm (0.102 +/- 0.0787 in.)

2.0 mm (0.0787 in.) or less

HINT:

  • Rotating the rear suspension toe adjust cam sub-assembly by one notch changes the toe by approximately 2.6 mm (0.102 in.).
  • Perform adjustments so that the value is as close as possible to the median of the specified range.

Front of the Vehicle

(c) Tighten the nut of the rear No. 2 suspension arm assembly (on the rear suspension member sub-assembly side).

Torque:

100 N·m {1020 kgf·cm, 74 ft·lbf}

NOTICE:

Hold the rear suspension toe adjust cam sub-assembly while rotating the nut.

6. ALIGN FRONT WHEELS FACING STRAIGHT AHEAD

7. PERFORM YAW RATE AND ACCELERATION SENSOR ZERO POINT CALIBRATION (for HV Model)

Click here

8. PERFORM ACCELERATION SENSOR ZERO POINT CALIBRATION AND STORE SYSTEM INFORMATION MEMORIZATION (for Gasoline Model)

Click here

READ NEXT:

 Front Suspension

 Front Lower Ball Joint

 Components

COMPONENTS ILLUSTRATION *1 FRONT AXLE ASSEMBLY *2 FRONT LOWER BALL JOINT ASSEMBLY *3 COTTER PIN - - Tightening torque for "Major areas involving basic vehicle performance su

SEE MORE:

 Headlight Beam Level Control Motor LH Lost Communication (B2424,B2425)

DESCRIPTION Each headlight ECU sub-assembly and headlight leveling motor communicate via LIN communication. The headlight leveling motor operates according to power supplied and automatic headlight beam level control signals from its respective headlight ECU sub-assembly and sends its operating stat

 Drive Motor "A" Control Module Unexpected Operation (P0A1B94)

DTC SUMMARY MALFUNCTION DESCRIPTION The hybrid vehicle control ECU monitors the motor generator control ECU (MG ECU). The cause of this malfunction may be the following: Motor generator control ECU internal malfunction Motor generator control ECU (MG ECU) malfunction DESCRIPTION The hybrid veh

© 2016-2026 Copyright www.lexguide.net