Lexus ES manuals

Lexus ES: Adjustment

ADJUSTMENT

CAUTION / NOTICE / HINT

The necessary procedures (adjustment, calibration, initialization, or registration) that must be performed after completing the rear wheel alignment procedure are shown below.

Necessary Procedures After Procedure Performed

Replaced Part or Performed Procedure

Necessary Procedure

Effect/Inoperative Function when Necessary Procedure not Performed

Link

Rear wheel alignment adjustment

for HV Model:
  1. Clear zero point calibration data.
  2. Perform yaw rate and acceleration sensor zero point calibration.
  • DTCs are stored
  • ABS warning light illuminates
  • Brake warning light / yellow (minor malfunction) illuminates
  • Slip indicator light illuminates
  • VSC disabled or malfunctions

for Gasoline Model:
  1. Perform "Reset Memory".
  2. Perform acceleration sensor zero point calibration and store system information memorization.
  • VSC is disabled or malfunctions
  • DTCs are output
  • Slip indicator light illuminates
  • ABS warning light illuminates

PROCEDURE

1. INSPECT TIRES

Click here

2. MEASURE VEHICLE HEIGHT

Click here

3. INSPECT CAMBER

NOTICE:

Inspect while the vehicle is unloaded.

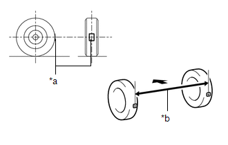
(a) Install a camber-caster-kingpin gauge.

*a

Camber-caster-kingpin Gauge

(b) Inspect the camber.

Camber (Unloaded Vehicle):

Engine

Camber Inclination

Right-left Difference

2GR-FKS

-1°10' +/- 0°45' (-1.17° +/- 0.75°)

0°45' (0.75°) or less

A25A-FXS

-1°05' +/- 0°45' (-1.08° +/- 0.75°)

HINT:

Camber is not adjustable. If the measurement is not within the specified range, inspect the suspension parts for damage and/or wear, and replace them if necessary.

4. INSPECT TOE-IN

NOTICE:

Inspect while the vehicle is unloaded.

(a) Bounce the vehicle up and down at the corners to stabilize the suspension.

(b) Release the parking brake and move the shift lever to N.

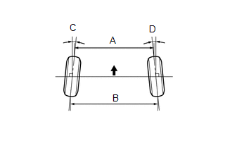
(c) Push the vehicle straight ahead approximately 5 m (16.4 ft.). (Step A)

(d) Put tread center marks on the rearmost points of the rear wheels and measure the distance between the marks (dimension B).

*a

Tread Center Mark

*b

Dimension B

Front of the Vehicle

(e) Slowly push the vehicle straight ahead to cause the rear wheels to rotate 180°. Use the rear tire valve as a reference point.

HINT:

Do not allow the wheels to rotate more than 180°. If the wheels rotate more than 180°, perform the procedure from step A again.

(f) Measure the distance between the tread center marks on the front of the rear wheels (dimension A).

*a

Dimension A

Front of the Vehicle

Toe-in (Unloaded Vehicle):

Engine

Specified Condition

Right-left Difference

2GR-FKS

C + D: 0°12' +/- 0°10' (0.20° +/- 0.17°)

-

B - A: 2.3 +/- 2.0 mm (0.0906 +/- 0.0787 in.)

2.0 mm (0.0787 in.) or less

A25A-FXS

C + D: 0°11' +/- 0°10' (0.19° +/- 0.17°)

-

B - A: 2.2 +/- 2.0 mm (0.0866 +/- 0.0787 in.)

2.0 mm (0.0787 in.) or less

HINT:

Measure "B - A" only when "C + D" cannot be measured.

If the toe-in is not within the specified range, adjust it at the rear suspension toe adjust cam sub-assembly.

5. ADJUST TOE-IN

(a) Loosen the nut of the rear No. 2 suspension arm assembly (on the rear suspension member sub-assembly side).

NOTICE:

Hold the rear suspension toe adjust cam sub-assembly while rotating the nut.

(b) Rotate the rear suspension toe adjust cam sub-assembly to adjust the toe-in.

Toe-in (Unloaded Vehicle):

Engine

Specified Condition

Right-left Difference

2GR-FKS

C + D: 0°12' +/- 0°10' (0.20° +/- 0.17°)

-

B - A: 2.3 +/- 2.0 mm (0.0906 +/- 0.0787 in.)

2.0 mm (0.0787 in.) or less

A25A-FXS

C + D: 0°11' +/- 0°10' (0.19° +/- 0.17°)

-

B - A: 2.2 +/- 2.0 mm (0.0866 +/- 0.0787 in.)

2.0 mm (0.0787 in.) or less

HINT:

  • Rotating the rear suspension toe adjust cam sub-assembly by one notch changes the toe by approximately 2.6 mm (0.102 in.).
  • Perform adjustments so that the value is as close as possible to the median of the specified range.

Front of the Vehicle

(c) Tighten the nut of the rear No. 2 suspension arm assembly (on the rear suspension member sub-assembly side).

Torque:

100 N·m {1020 kgf·cm, 74 ft·lbf}

NOTICE:

Hold the rear suspension toe adjust cam sub-assembly while rotating the nut.

6. ALIGN FRONT WHEELS FACING STRAIGHT AHEAD

7. PERFORM YAW RATE AND ACCELERATION SENSOR ZERO POINT CALIBRATION (for HV Model)

Click here

8. PERFORM ACCELERATION SENSOR ZERO POINT CALIBRATION AND STORE SYSTEM INFORMATION MEMORIZATION (for Gasoline Model)

Click here

READ NEXT:

 Adjustment

ADJUSTMENT CAUTION / NOTICE / HINT The necessary procedures (adjustment, calibration, initialization, or registration) that must be performed after completing the rear wheel alignment procedure are sh

 Front Suspension

 Front Lower Ball Joint

SEE MORE:

 Knock Sensor 1 Bank 1 or Single Sensor Circuit Short to Battery or Open (P032515,P033015)

DESCRIPTION Refer to DTC P032511. Click here HINT: When DTC P032515 or P033015 is stored, the ECM enters fail-safe mode. During fail-safe mode, the ignition timing is delayed to its maximum retardation. Fail-safe mode continues until the engine switch is turned off. DTC No. Detection Item D

 Automatic High Beam System (B124B)

DESCRIPTION The main body ECU (multiplex network body ECU) determines the status of the automatic high beam system based on the automatic high beam system signal from the forward recognition camera. DTC No. Detection Item DTC Detection Condition Trouble Area DTC Output from B124B Au

© 2016-2026 Copyright www.lexguide.net