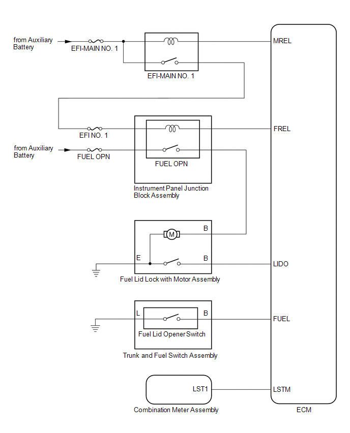
Lexus ES: System Diagram
SYSTEM DIAGRAM

READ NEXT:
SYSTEM DESCRIPTION When the trunk and fuel switch assembly (fuel lid opener switch) is operated, the pressure in the fuel tank is decreased and a message is displayed on the multi-information display.
CAUTION / NOTICE / HINT HINT:
Use the following procedure to troubleshoot the fuel lid opener system.
*: Use the Techstream.
PROCEDURE 1. VEHICLE BROUGHT TO WORKSHOP
NEXT
OPERATION CHECK CHECK FUEL LID OPENER SYSTEM Push the trunk and fuel switch assembly (fuel lid opener switch) and check that messages are displayed on the multi-information display in the combination
SEE MORE:
SYSTEM DESCRIPTION POWER WINDOW CONTROL SYSTEM DESCRIPTION (a) The power window control system controls the power window operation using the power window regulator motor assemblies. The main controls of this system are the multiplex network master switch assembly (mounted on the driver door), power
DESCRIPTION If the vehicle information stored by the skid control ECU (brake actuator assembly) does not match that sent from the ECM or a new skid control ECU (brake actuator assembly) is installed and the vehicle information has not been stored, this DTC is stored. DTC No. Detection Item DT
© 2016-2026 Copyright www.lexguide.net
