Lexus ES: System Diagram
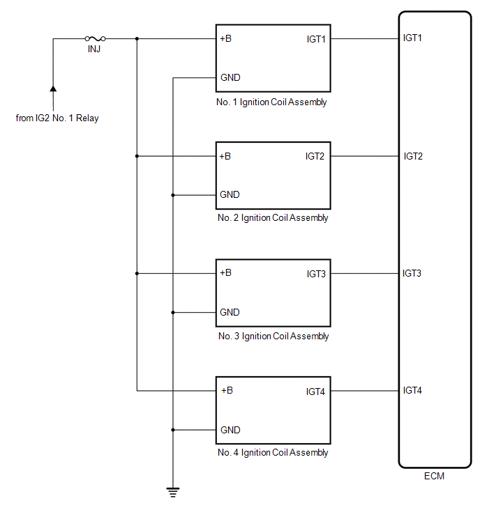
SYSTEM DIAGRAM
.png)
READ NEXT:
ON-VEHICLE INSPECTION CAUTION / NOTICE / HINT CAUTION: To prevent injury due to contact with an operating cooling fan, keep your hands and clothing away from the cooling fans when working in the engin
COMPONENTS ILLUSTRATION *1 KNOCK CONTROL SENSOR - - N*m (kgf*cm, ft.*lbf): Specified torque - -
SEE MORE:
INSPECTION PROCEDURE 1. INSPECT ACCELERATION SENSOR ASSEMBLY (a) Connect 3 1.5 V dry cell batteries in series. (b) Connect a positive (+) lead from the batteries to terminal 3 and a negative (-) lead to terminal 2. (c) Measure the voltage according to the value(s) in the table below. Standard Voltag
INSTALLATION CAUTION / NOTICE / HINT HINT:
Use the same procedure for the RH side and LH side.
The following procedure is for the LH side.
PROCEDURE 1. INSTALL REAR UPPER COIL SPRING INSULATOR (a) Install the rear upper coil spring insulator to the vehicle. 2. INSTALL REAR LOWER COIL SPRING
© 2016-2026 Copyright www.lexguide.net
