Lexus ES manuals

Lexus ES: Rough Idling

DESCRIPTION

Problem Symptom

Suspected Area

Trouble Area

  • Engine speed fluctuation due to abnormal combustion
  • Idle speed too low or high

Strong engine vibration due to above symptoms

  • Ignition malfunction
  • Deviation in air fuel ratio (Excessive or insufficient intake air volume or fuel supply)
  • Insufficient compression
  • Changes in load from another system

Ignition system

  • Spark plug
  • Ignition coil assembly

Fuel system

  • Direct fuel injector assembly
  • Port fuel injector assembly
  • Fuel pump assembly (for high pressure side)
  • Fuel pump (for low pressure side)
  • Fuel pump control circuit
  • Fuel line
  • Purge VSV system
  • Fuel quality (existence of foreign matter, degradation)

Intake and exhaust systems

  • EGR system
  • Mass air flow meter sub-assembly
  • Intake system

    (Air leaks or deposit accumulation)

  • Throttle body with motor assembly
  • Air fuel ratio sensor (sensor 1)
  • Air fuel ratio sensor (sensor 2)
  • Cam timing control motor with EDU assembly
  • Cam timing oil control solenoid assembly
  • Variable Valve Timing system (VVT-iE, VVT-i system)

Other control systems

  • ECM
  • Wire harness or connector
  • Knock control sensor
  • Engine coolant temperature sensor

Engine

  • Water inlet with thermostat sub-assembly
  • Engine assembly
  • Engine mount

High load from another system

  • Air conditioning system
  • Power steering system
  • Electrical load signal system
  • A/T system

SYMPTOM AND CAUSE OF SYSTEM MALFUNCTION

HINT:

The following are descriptions of the characteristics of each system malfunction. After understanding the link between the causes and symptoms, perform the inspection of each component. Even if the problem symptom does not recur, signs of the malfunction may be found in the Data List.

(a) Ignition system

Spark plug

Main cause of malfunction

Performance degradation (wear, existence of foreign matter, etc.)

Symptom

Engine speed fluctuation due to abnormal combustion

Data List

Misfire Count Cylinder #1 to #4

HINT:

If the spark plug of the malfunctioning cylinder is abnormally wet with fuel, a leaking fuel injector assembly is suspected.

Ignition coil assembly

Main cause of malfunction

Internal malfunction

Problem symptom

Engine speed fluctuation due to abnormal combustion

Data List

Misfire Count Cylinder #1 to #4

(b) Fuel system

Fuel injector assembly

Main cause of malfunction

Blockage

Problem symptom

  • Engine speed fluctuation due to abnormal combustion
  • Idle speed too low or high

Data List

  • Target Air-Fuel Ratio
  • Short FT B1S1
  • Long FT B1S1
  • Total FT Bank 1
  • Fuel System Status Bank 1
  • A/F Learn Value Idle (Port) Bank 1
  • A/F Learn Value Low (Port) Bank 1
  • A/F Learn Value Mid No.1 (Port) Bank 1
  • A/F Learn Value Mid No.2 (Port) Bank 1
  • A/F Learn Value High (Port) Bank 1
  • A/F Learn Value Idle Bank 1
  • A/F Learn Value Low Bank 1
  • A/F Learn Value Mid No.1 Bank 1
  • A/F Learn Value Mid No.2 Bank 1
  • A/F Learn Value High Bank 1

HINT:

If the engine malfunction disappears when the fuel injection volume is increased or decreased using the Control the Injection Volume, the respective cylinder may be malfunctioning.

Fuel system

HINT:

If the air fuel ratio becomes lean only when the engine is running under a high load and at a high engine speed, clogging of the fuel pump or fuel filter is suspected.

Fuel quality

Main cause of malfunction

  • Fuel degradation due to age or water contamination
  • Low fuel quality
  • Addition of fuel additive

Problem symptom

  • Engine speed fluctuation due to abnormal combustion
  • Idle speed too low or high
  • Engine is difficult to start

(c) Intake and exhaust systems

EGR system

Main cause of malfunction

Improper operation, sticking

Problem symptom

  • Engine speed fluctuation due to abnormal combustion
  • Idle speed too low or high
  • Engine is difficult to start, lacks power or stalls

Data List

  • Target EGR Valve Position No.1
  • EGR Step Position
    • Normal condition: Actual EGR valve position = Target EGR valve position +/-5% (Fully closed: 0%, Fully open: 100%)
    • Perform the Active Test "Control the EGR Step Position" and check if the vehicle condition changes when the EGR valve position is changed
    • When the engine switch is turned to on (IG) (engine not started), the EGR valve is fully closed
Mass air flow meter sub-assembly

Main cause of malfunction

Performance degradation (existence of foreign matter, etc.)

Problem symptom

Lack of power

Data List

Mass Air Flow Sensor

HINT:

If the value of the Data List item "Mass Air Flow Sensor" is abnormal, a malfunction of the mass air flow meter sub-assembly is suspected.

Throttle system

Main cause of malfunction

Inappropriate trim volume adjustment due to accumulation of deposits

Problem symptom

  • Engine speed fluctuation due to abnormal combustion
  • Idle speed too low or high

Data List

  • Engine Stall Control F/B Flow
  • ISC F/B Learn Torque
  • ISC Total AUXS Torque
  • ISC F/B Torque
  • Sum of ISC F/B Torque (Recent)
  • ISC AUXS Torque (Alternator)
  • ISC AUXS Torque (Air Conditioner)
  • Throttle Air Flow F/B Value
Air fuel ratio sensor (sensor 1), Air fuel ratio sensor (sensor 2)

Main cause of malfunction

Deviation in sensor characteristics

Problem symptom

Abnormal combustion due to deviation of actual air fuel ratio from calculated ratio

Data List

  • A/F (O2) Sensor Current B1S1
  • A/F (O2) Sensor Current B1S2
  • Fuel System Status Bank 1

(d) Engine

Engine assembly

Main cause of malfunction

  • Compression loss
  • Accumulation of deposits

    (Combustion chamber, intake valve or intake manifold)

Problem symptom

  • Engine speed fluctuation due to abnormal combustion
  • Idle speed too low or high
  • Hesitation during acceleration or stalling

Data List

  • Compression Leakage Count
  • Rough Idle Status
  • Plural Cylinders Rough Idle
  • Rough Idle Cylinder #1
  • Rough Idle Cylinder #2
  • Rough Idle Cylinder #3
  • Rough Idle Cylinder #4

HINT:

  • If deposits have accumulated in the combustion chamber or on an intake valve, the engine may stall when deposits are caught on an intake valve.
  • When performing the Active Test "Check the Cylinder Compression", if the speed of one cylinder is higher than the others, the cylinder may have a compression loss.
  • If deposits accumulate on the intake valves, the supply of fuel may be delayed due to adherence of the fuel to the deposits, causing a rough idle.

Data List Items Related to Rough Idling

HINT:

Depending on the vehicle model, the applicable Data List items may vary. Data List items other than the ones used in the diagnostic procedure are for reference only.

  • Mass Air Flow Sensor
  • Engine Stall Control F/B Flow
  • ISC F/B Learn Torque
  • ISC Total AUXS Torque
  • ISC F/B Torque
  • Sum of ISC F/B Torque (Recent)
  • ISC AUXS Torque (Alternator)
  • ISC AUXS Torque (Air Conditioner)
  • Throttle Air Flow F/B Value
  • Target Fuel Pressure (High)
  • Target Fuel Pressure (Low) / Target Fuel Pressure 2
  • Fuel Pressure (High)
  • Fuel Pressure (Low) / Fuel Pressure 2
  • High Pressure Fuel Pump Duty Ratio (D4)
  • High Pressure Fuel Pump Discharge Rate
  • Target Air-Fuel Ratio
  • A/F (O2) Sensor Current B1S1
  • A/F (O2) Sensor Current B1S2
  • Short FT B1S1
  • Long FT B1S2
  • Total FT Bank 1
  • Fuel System Status Bank 1
  • A/F Learn Value Idle (Port) Bank 1
  • A/F Learn Value Low (Port) Bank 1
  • A/F Learn Value Mid No.1 (Port) Bank 1
  • A/F Learn Value Mid No.2 (Port) Bank 1
  • A/F Learn Value High (Port) Bank 1
  • A/F Learn Value Idle Bank 1
  • A/F Learn Value Low Bank 1
  • A/F Learn Value Mid No.1 Bank 1
  • A/F Learn Value Mid No.2 Bank 1
  • A/F Learn Value High Bank 1
  • Target EGR Valve Position No.1
  • EGR Step Position
  • Misfire Count Cylinder #1
  • Misfire Count Cylinder #2
  • Misfire Count Cylinder #3
  • Misfire Count Cylinder #4
  • Compression Leakage Count
  • Rough Idle Status
  • Plural Cylinders Rough Idle
  • Rough Idle Cylinder #1
  • Rough Idle Cylinder #2
  • Rough Idle Cylinder #3
  • Rough Idle Cylinder #4

Vehicle Control History Freeze Frame Data Items Related to Rough Idling

HINT:

The frequency of the malfunction can be determined by confirming the number of times the symptom occurred.

  • Rough Idle Count (Plural Cylinders)
  • Rough Idle Count (Compression Leakage)
  • Rough Idle Count (Engine Speed Low)
  • Rough Idle Count (Low Frequency)
  • Rough Idle Count #1
  • Rough Idle Count #2
  • Rough Idle Count #3
  • Rough Idle Count #4

CAUTION / NOTICE / HINT

HINT:

  • If any other DTCs are output, perform troubleshooting for those DTCs first.
  • Make sure to reproduce the conditions present when the malfunction occurred.
  • Using the Techstream, read the Data List to confirm the engine operating conditions. This information can be useful when troubleshooting.
  • The vehicle condition when the problem symptoms occurred can be determined using the Vehicle Control History.
  • As the Vehicle Control History data may be overwritten whenever the trigger conditions are met, make sure to save the Vehicle Control History data before performing any inspections.
  • If the problem symptoms do not recur, attempt to reproduce the symptoms and conditions when the malfunction occurred based on the result of the customer problem analysis and Vehicle Control History. Place the priority on confirming the symptoms.
  • When performing inspections, jiggle the relevant wire harnesses and connectors in an attempt to reproduce malfunctions that do not always occur.
  • The suspected cause of the problem symptoms can be determined using the codes, items, and Freeze Frame Data within the Vehicle Control History.
  • When confirming the Freeze Frame Data, be sure to check all multi Freeze Frame Data.
  • When confirming the Freeze Frame Data, if there are multiple items related to the cause of the malfunction, perform troubleshooting for all related items.
  • If the malfunction is currently occurring, use the Data List to confirm the current vehicle condition. By using the Data List, more detailed vehicle information can be confirmed than by using Vehicle Control History Freeze Frame Data by itself.
  • As Vehicle Control History may be stored when performing an Active Test, learning, etc., make sure to clear the Vehicle Control History before returning the vehicle to the customer.

PROCEDURE

1.

INTERVIEW THE CUSTOMER

(a) Interview the customer for details about the conditions when the rough idle occurred.

HINT:

Depending on the conditions when the rough idle occurred, a malfunction in one of the following areas is suspected.

Problem Symptom

Suspected Area

Hesitation or lack of power occurs during acceleration, regardless of whether engine is cold or warm

  • For low mileage vehicles (ODO reading of less than approximately 20000 km (12428 mile) or yearly mileage of less than 2000 km (1243 mile)): Fuel quality (degradation, water contamination, etc.)
  • For high mileage vehicles (ODO reading of more than approximately 150000 km (93210 mile)): Excessively lean air fuel ratio during acceleration due to deposits in intake system or combustion chamber caught temporarily on intake or exhaust valve or adherence of fuel to the deposits
  • Abnormal mass air flow meter sub-assembly output due to existence of foreign matter
  • Decrease in fuel injector assembly injection volume due to low quality fuel

Engine stalls or is difficult to start immediately after engine stalled, regardless of whether engine is cold or warm

Deposits in intake system or combustion chamber caught temporarily on intake or exhaust valve

  • When decelerating vehicle to a stop, engine speed drops momentarily and vehicle shudders
  • When moving shift lever from N to D or R, or operating air conditioning system or any electrical components, engine speed fluctuates and vehicle shudders

Temporary deviation in the electrical throttle system idle speed control due to external factors (fuel quality, air conditioning system (environmental causes or low refrigerant pressure) or charging system (battery deterioration or low power generation by the generator assembly))

NEXT

2.

CHECK DTC OUTPUT

(a) Connect the Techstream to the DLC3.

(b) Turn the engine switch on (IG).

(c) Turn the Techstream on.

(d) Perform a road test.

(e) Enter the following menus: Powertrain / Engine / Trouble Codes.

(f) Read the DTCs.

Powertrain > Engine > Trouble Codes

Result

Proceed to

DTCs are not output

A

DTC is output

B

B

GO TO DTC CHART

A

3.

READ VEHICLE CONTROL HISTORY FREEZE FRAME DATA AND PERFORM SYMPTOM CONFIRMATION

(a) Connect the Techstream to the DLC3.

(b) Turn the engine switch on (IG).

(c) Turn the Techstream on.

(d) Enter the following menus: Powertrain / Engine / Utility / Vehicle Control History (RoB).

Powertrain > Engine > Utility

Tester Display

Vehicle Control History (RoB)

HINT:

It is also possible to display vehicle control history during the Health Check, if "Store All Data" is selected.

(e) Confirm if any data relating to the problem symptoms exist in the Vehicle Control History.

HINT:

  • The vehicle condition when the problem symptoms occurred can be determined by confirming the Vehicle Control History Freeze Frame Data.
  • As the Vehicle Control History data may be overwritten whenever the trigger conditions are met, make sure to save the Vehicle Control History data before performing any inspections.
  • Using information from the customer about when the problem symptom occurred, find the Freeze Frame Data with the appropriate Key Cycle, Total Distance Traveled, etc., to find vehicle history that may be related to the problem symptoms.

(f) Check if the problem symptoms stated by the customer are currently occurring.

HINT:

  • By using snapshot to store the Data List, the Data List items can be compared to the Vehicle Control History.
  • If the problem symptoms cannot be reproduced, refer to Check for Intermittent Problems, and try to reproduce the conditions when the problem symptoms occurred as stated by the customer. If the problem symptoms still cannot be reproduced, perform the following procedure.

    Click here

(g) Read the Data List or the Vehicle Control History Freeze Frame Data.

HINT:

  • If the malfunction is currently occurring, compare the values of the Data List items with the vehicle control history Freeze Frame Data.
  • If the malfunction is not currently occurring, read the Vehicle Control History Freeze Frame Data.

Vehicle Control History

Vehicle Control History Freeze Frame Data / Data List While Problem Symptoms Are Occurring

Suspected Area

Proceed to

Only Rough Idle #1, #2, #3 or #4 is stored

(Vehicle Control History Code: X0821 to X0824)

The value of Misfire Count Cylinder #1, #2, #3 or #4 is increasing for the cylinder which the Vehicle Control History code was stored.

A specific cylinder is malfunctioning:

  • Spark plug
  • Ignition coil assembly
  • Direct fuel injector assembly
  • Port fuel injector assembly

A

Rough Idle (Plural Cylinders) is stored

(Vehicle Control History Code: X082A)

-

Multiple cylinders are malfunctioning:

  • Mass air flow meter sub-assembly
  • Direct fuel injector assembly
  • Port fuel injector assembly
  • Fuel system
  • Air fuel ratio sensor (sensor 1)

B

ISC F/B Learn Torque is 15 Nm or higher

The offset correction value is insufficient due to deposits in the throttle body causing a low idle air flow rate.

C

Rough Idle (Compression Leakage) is stored

(Vehicle Control History Code: X082D)

Rough idle, engine stall, etc. is not currently reoccurring and Compression Leakage Count of Vehicle Control History Freeze Frame Data is 5 or more

A temporary compression loss due to deposits being caught on an intake or exhaust valve, etc., is suspected.

D

Rough idle, engine stall, etc. is currently reoccurring and the value of Compression Leakage Count of the Data List is increasing

A compression loss due to damage to the intake or exhaust valve, deposits being caught on an intake or exhaust valve, etc. is suspected.

A

Rough Idle (Low Frequency) is stored

(Vehicle Control History Code: X082E)

-

-

C

The malfunction is not currently occurring and there is no Vehicle Control History related to the problem symptoms stated by the customer.

E

A

GO TO STEP 7

B

GO TO STEP 5

D

SYSTEM RETURNED TO NORMAL (TEMPORARY MALFUNCTION)

E

CHECK FOR INTERMITTENT PROBLEMS

C

4.

READ VALUE USING TECHSTREAM (ISC F/B LEARN TORQUE)

(a) Connect the Techstream to the DLC3.

(b) Turn the engine switch on (IG).

(c) Turn the Techstream on.

(d) Enter the following menus: Powertrain / Engine / Data List / ISC F/B Learn Torque.

Powertrain > Engine > Data List

Tester Display

ISC F/B Learn Torque

(e) Read the value displayed on the Techstream.

Result

Proceed to

Less than 15 Nm

A

Other than above

B

B

GO TO STEP 22

A

5.

READ VALUE USING TECHSTREAM (SHORT FT B1S1 AND LONG FT B1S1)

(a) Connect the Techstream to the DLC3.

(b) Turn the engine switch on (IG).

(c) Turn the Techstream on.

(d) Enter the following menus: Powertrain / Engine / Data List / Short FT B1S1 and Long FT B1S1.

Powertrain > Engine > Data List

Tester Display

Short FT B1S1

Long FT B1S1

(e) Read the value displayed on the Techstream.

Data List

Result

Proceed to

Short FT B1S1 + Long FT B1S1

-20% or higher, or less than 20%

A

Other than above

B

HINT:

  • "Total FT Bank 1" is used to detect an abnormal air fuel ratio. As the value of "Total FT Bank 1" is corrected by the ECM before it is displayed in the Data List, the displayed value may not be equal to the sum of the measured "Short FT B1S1" and "Long FT B1S1".
  • An abnormally lean or rich tendency can be checked by reading the following Data List items: A/F Learn Value Idle (Port) Bank 1, A/F Learn Value Low (Port) Bank 1, A/F Learn Value Mid No.1 (Port) Bank 1, A/F Learn Value Mid No.2 (Port) Bank 1, A/F Learn Value High (Port) Bank 1, A/F Learn Value Idle Bank 1, A/F Learn Value Low Bank 1, A/F Learn Value Mid No.1 Bank 1, A/F Learn Value Mid No.2 Bank 1 and A/F Learn Value High Bank.
  • The following may cause a lean air fuel ratio (an operating range in which the air fuel ratio learned value correction is +20% or more):
    1. Decrease in fuel injector assembly injection volume
    2. Decrease in mass air flow meter sub-assembly output (due to existence of foreign matter)
    3. Air leaks in intake system after mass air flow meter sub-assembly
    4. Decrease in fuel pressure (at fuel filter, fuel pump, fuel main valve assembly or fuel suction plate sub-assembly)
  • On vehicles which the learning value for each operating range can be checked, if the value of "A/F Learn Value High (Port) Bank 1" or "A/F Learn Value High Bank 1" only is corrected to the positive side, a malfunction in the fuel system (clogging of the fuel pump or fuel filter) is suspected.
  • On vehicles which the learning value for each operating range can be checked, if the value of "A/F Learn Value Idle (Port) Bank 1", "A/F Learn Value Low (Port) Bank 1", "A/F Learn Value Idle Bank 1" or "A/F Learn Value Low Bank 1" only is corrected to the positive side, an air leak after the mass air flow meter sub-assembly is suspected.
  • The following may cause a rich air fuel ratio (an operating range in which the air fuel ratio learned value correction is -20% or less):
    1. Increase in the fuel injector assembly injection volume
    2. Purge VSV system
B

GO TO STEP 14

A

6.

PERFORM ACTIVE TEST USING TECHSTREAM (D-4S (FUEL CUT))

(a) Connect the Techstream to the DLC3.

(b) Start the engine.

HINT:

Reproduce the vehicle conditions when the malfunction occurred. (such as after the engine is warmed up or after a cold start).

(c) Turn the Techstream on.

(d) Enter the following menus: Powertrain / Engine / Active Test / D-4S (Fuel Cut) / Data List / Engine Speed.

Powertrain > Engine > Active Test

Active Test Display

D-4S (Fuel Cut)

Data List Display

Engine Speed

(e) According to the display on the Techstream, perform the Active Test and check for a malfunctioning cylinder.

HINT:

  • Perform fuel-cut of port injection and direct injection for each cylinder and check the change in the engine speed.
  • If the engine speed of a cylinder does not change while performing the Active Test, it can be determined that the cylinder is malfunctioning.
  • If the engine speed of all cylinders change while performing the Active Test, it can be determined that multiple cylinders are malfunctioning.
  • A cylinder for which the Data List item "Misfire Count Cylinder #1 to #4" increases may be malfunctioning.
  • If "Compression Leakage Count" in the Data List increases, misfiring due to insufficient compression may be occurring.

Result

Proceed to

One cylinder is malfunctioning

A

Multiple or all cylinders are malfunctioning, or the malfunctioning cylinder cannot be determined.

B

B

GO TO STEP 13

A

7.

PERFORM ACTIVE TEST USING TECHSTREAM (CHECK THE CYLINDER COMPRESSION)

HINT:

If the vehicle does not support the Active Test "Check the Cylinder Compression", measure the compression pressure. If the compression pressure is normal, go to step 8 (PERFORM ACTIVE TEST USING TECHSTREAM (D-4S (INJECTION VOLUME))).

(a) Warm up the engine.

(b) Turn the engine switch off.

(c) Connect the Techstream to the DLC3.

(d) Turn the engine switch on (IG).

(e) Turn the Techstream on.

(f) Enter the following menus: Powertrain / Engine / Active Test / Check the Cylinder Compression / Data List / Compression / Engine Speed Cylinder #1 to #4 and Average Engine Speed of All Cylinder.

Powertrain > Engine > Active Test

Active Test Display

Check the Cylinder Compression

Data List Display

Engine Speed Cylinder #1

Engine Speed Cylinder #2

Engine Speed Cylinder #3

Engine Speed Cylinder #4

Average Engine Speed of All Cylinder

HINT:

To display the entire Data List, press the pull down menu button next to Primary. Then select Compression.

(g) Push the snapshot button to turn the snapshot function on.

HINT:

Using the snapshot function, data can be recorded during the Active Test.

(h) While the engine is not running, press the Active button to change Check the Cylinder Compression to "Start".

HINT:

After performing the above procedure, Check the Cylinder Compression will start. Fuel injection for all cylinders is prohibited and each cylinder engine speed measurement enters standby mode.

(i) Crank the engine for about 10 seconds.

(j) Monitor the engine speed (Engine Speed Cylinder #1 to #4 and Average Engine Speed of All Cylinder) displayed on the Techstream.

NOTICE:

  • Do not crank the engine continuously for 20 seconds or more.
  • If it is necessary to crank the engine again after Check the Cylinder Compression has been changed to "Start" and the engine has been cranked once, press Exit to return to the Active Test menu screen. Then change Check the Cylinder Compression to "Start" and crank the engine.
  • Make sure the battery is fully charged before performing this Active Test.

HINT:

  • At first, the Techstream will display extremely high cylinder engine speed values. After approximately 10 seconds of engine cranking, the engine speed measurement of each cylinder will change to the actual engine speed.
  • If the cylinder engine speed values (Engine Speed Cylinder #1 to #4) displayed in the Data List do not change from an extremely high value, return to the Active Test menu screen, change "Check the Cylinder Compression" to "Start" and crank the engine again within 1 second.

(k) Stop cranking the engine, and then change "Check the Cylinder Compression" to "Stop" after the engine stops.

NOTICE:

  • If the Active Test is changed to "Stop" while the engine is being cranked, the engine will start.
  • When performing the Active Test, Vehicle Control History code X0810 (Engine Difficult to Start (Engine Starting Time Long)) may be stored.
  • After performing the Active Test, make sure to check and clear DTCs.

(l) Push the snapshot button to turn the snapshot function off.

(m) Select "Stored Data" on the Techstream screen, select the recorded data and display the data as a graph.

HINT:

If the data is not displayed as a graph, the change of the values cannot be observed.

(n) Read the value.

HINT:

  • If the value of Data List item "Engine Speed Cylinder" of a cylinder is higher than other cylinders, the cylinder may be malfunctioning.
  • If the value of Data List item "Engine Speed Cylinder" is high for only one cylinder, compression loss is suspected.

Result

Proceed to

There is no variation in "Engine Speed Cylinder"

(All cylinders display approximately the same value for "Engine Speed Cylinder")

A

There is variation in "Engine Speed Cylinder"

(Only one cylinder displays a value for "Engine Speed Cylinder" that differs considerably)

B

B

GO TO STEP 12

A

8.

PERFORM ACTIVE TEST USING TECHSTREAM (D-4S (INJECTION VOLUME))

(a) Connect the Techstream to the DLC3.

(b) Turn the engine switch on (IG).

(c) Turn the Techstream on.

(d) Start the engine and warm it up until the engine coolant temperature 80°C (176°F) or higher with all the accessories switched off.

(e) Idle the engine.

(f) Enter the following menus: Powertrain / Engine / Active Test / D-4S (Injection Volume) / Data List / Coolant Temperature.

Powertrain > Engine > Active Test

Active Test Display

D-4S (Injection Volume)

Data List Display

Coolant Temperature

(g) According to the display on the Techstream, perform the Active Test and check the vehicle conditions when increasing and decreasing the fuel injection volume of port injection and direct injection.

HINT:

  • Increase and decrease the fuel injection volume of the port injection and direct injection simultaneously and check the vehicle condition.
  • Change the fuel injection volume between the minimum and maximum range of correction (e.g. -12.5% to 24.8%).

Result

Proceed to

Malfunction is still present even if the fuel injection volume is changed

A

Malfunction disappears when the fuel injection volume is changed

B

B

GO TO STEP 11

A

9.

CHECK IGNITION SYSTEM

(a) Check the ignition system.

HINT:

  • Interchange the ignition coil assembly and spark plug of the malfunctioning cylinder with those of a known good cylinder and check if the malfunctioning cylinder returns to normal.
  • If the spark plug of the malfunctioning cylinder is abnormally wet with fuel even after the ignition coil assembly and spark plug are replaced, a leaking fuel injector assembly is suspected.

Result

Proceed to

The malfunctioning cylinder does not return to normal

A

The malfunctioning cylinder returned to normal

B

B

GO TO STEP 20

A

10.

INSPECT OTHER RELATED COMPONENTS

(a) Check the power source circuit, wire harness and connectors.

NEXT

GO TO STEP 20

11.

REPLACE FUEL INJECTOR ASSEMBLY

(a) Replace the abnormal fuel injector assembly.

HINT:

  • If the air fuel ratio learned value is corrected to the positive side for all operating ranges due to low fuel injector assembly injection volume, replace the fuel injector assemblies of all cylinders.
  • Perform "Inspection After Repair" after replacing the fuel injector assembly.

    Click here

NEXT

GO TO STEP 24

12.

CHECK CYLINDER COMPRESSION PRESSURE

(a) Measure the cylinder compression pressure. If the compression pressure of a cylinder is low, inspect the engine assembly and repair or replace parts as necessary.

Click here

NEXT

GO TO STEP 20

13.

PERFORM ACTIVE TEST USING TECHSTREAM (CONTROL THE EGR STEP POSITION)

(a) Connect the Techstream to the DLC3.

(b) Turn the engine switch on (IG).

(c) Turn the Techstream on.

(d) Start the engine and warm it up until the engine coolant temperature reaches 75°C (167°F) or higher.

HINT:

The A/C switch and all accessory switches should be off.

(e) Enter the following menus: Powertrain / Engine / Active Test / Control the EGR Step Position / Data List / Engine Speed and Coolant Temperature.

Powertrain > Engine > Active Test

Active Test Display

Control the EGR Step Position

Data List Display

Engine Speed

Coolant Temperature

(f) Perform the Active Test and check the vehicle condition when operating the EGR valve assembly.

NOTICE:

  • Do not leave the EGR valve open for 10 seconds or more during the Active Test.
  • Be sure to return the EGR valve to step 0 when the Active Test is completed.
  • Do not open the EGR valve 30 steps or more during the Active Test.

HINT:

Operate the EGR valve between step 0 and 30 when performing this step.

Result

Proceed to

Vehicle condition changes during the Active Test

(Malfunction occurs when the EGR valve is open and disappears when the EGR valve is closed)

A

Vehicle condition does not change during the Active Test

(Malfunction occurs whether the EGR valve is open or closed)

B

HINT:

During Active Test, if the idling condition does not change in response to EGR step position, then there is probably a malfunction in the EGR valve.

B

GO TO STEP 21

A

14.

READ VALUE USING TECHSTREAM (MASS AIR FLOW SENSOR)

(a) Connect the Techstream to the DLC3.

(b) Turn the engine switch on (IG).

(c) Turn the Techstream on.

(d) Start the engine and warm it up until the engine coolant temperature 80°C (176°F) or higher with all the accessories switched off.

(e) Enter the following menus: Powertrain / Engine / Data List / Engine Speed, Mass Air Flow Sensor and Coolant Temperature.

Powertrain > Engine > Data List

Tester Display

Engine Speed

Mass Air Flow Sensor

Coolant Temperature

(f) According to the display on the Techstream, read the Data List when the engine switch is turned to on (IG) and while maintaining an engine speed of 3000 rpm.

Result

Proceed to

Idling (engine warmed up): 1.5 to 3.3 gm/sec

Engine speed 3000 rpm (without load): 8.0 to 13.0 gm/sec

A

Other than above

B

B

GO TO STEP 19

A

15.

PERFORM ACTIVE TEST USING TECHSTREAM (D-4S (INJECTION VOLUME))

(a) Connect the Techstream to the DLC3.

(b) Turn the engine switch on (IG).

(c) Turn the Techstream on.

(d) Start the engine and warm it up until the engine coolant temperature 80°C (176°F) or higher with all the accessories switched off.

(e) Warm up the air fuel ratio sensors at an engine speed of 2500 rpm for 90 seconds.

(f) Idle the engine.

(g) Enter the following menus: Powertrain / Engine / Active Test / D-4S (Injection Volume) / Data List / Coolant Temperature, A/F (O2) Sensor Current B1S1 and A/F (O2) Sensor Current B1S2.

Powertrain > Engine > Active Test

Active Test Display

D-4S (Injection Volume)

Data List Display

Coolant Temperature

A/F (O2) Sensor Current B1S1

A/F (O2) Sensor Current B1S2

(h) According to the display on the Techstream, perform the Active Test and check the vehicle conditions when increasing and decreasing the fuel injection volume of port injection and direct injection.

NOTICE:

  • The air fuel ratio sensor (sensor 1) has an output delay of a few seconds and the air fuel ratio sensor (sensor 2) has a maximum output delay of approximately 20 seconds.
  • Read the output current immediately after warming up the air fuel ratio sensors to avoid an inaccurate reading due to a sensor cooling.

HINT:

  • Increase and decrease the fuel injection volume of the port injection and direct injection simultaneously and check the vehicle condition.
  • Change the fuel injection volume between -12 to 12%.

Standard:

Techstream Display

(Sensor)

Injection Volume

Current

A/F (O2) Sensor Current B1S1

(Air fuel ratio (sensor 1))

12%

Below -0.075 mA

-12%

More than 0.037 mA

A/F (O2) Sensor Current B1S2

(Air fuel ratio (sensor 2))

12%

Below -0.86 mA

-12%

More than 0.33 mA

Result

Proceed to

Output current values are abnormal

A

Malfunction disappears when fuel injection volume is increased

B

Malfunction is still present when fuel injection volume is increased, even if output current values are normal

C

B

GO TO STEP 17

C

GO TO STEP 18

A

16.

REPLACE AIR FUEL RATIO SENSORS

(a) Replace the air fuel ratio sensor (sensor 1).

Click here

HINT:

Perform "Inspection After Repair" after replacing the air fuel ratio sensor (sensor 1).

Click here

(b) Replace the air fuel ratio sensor (sensor 2).

Click here

HINT:

Perform "Inspection After Repair" after replacing the air fuel ratio sensor (sensor 2).

Click here

NEXT

GO TO STEP 24

17.

REPLACE FUEL INJECTOR ASSEMBLY

(a) Replace the fuel injector assemblies of all cylinders.

HINT:

Perform "Inspection After Repair" after replacing the fuel injector assembly.

Click here

NEXT

GO TO STEP 24

18.

INSPECT OTHER RELATED COMPONENTS

(a) Inspect other related components.

HINT:

If the malfunctioning part could not be determined by performing the preceding inspections, one of the following malfunctions is suspected.

  • Engine mount deterioration
  • Deposits in the intake manifold or on an intake valve
  • Delay in fuel supply due to adherence of the fuel to the deposits
NEXT

GO TO STEP 20

19.

CHECK INTAKE SYSTEM

(a) Check for air leaks or blockage in the intake system components. If a connection problem or foreign matter is found, repair the connection or remove the foreign matter.

HINT:

  • If there is foreign matter in the intake system components, remove it before proceeding to the next step.
  • If there is no foreign matter in the intake system components, check for foreign matter in the mass air flow meter sub-assembly. If there is foreign matter in the mass air flow meter sub-assembly, remove it.
NEXT

20.

REPAIR OR REPLACE MALFUNCTIONING PARTS

(a) Repair or replace the malfunctioning part.

HINT:

Perform "Inspection After Repair" after repairing or replacing the malfunctioning part.

Click here

NEXT

GO TO STEP 24

21.

REPLACE EGR VALVE ASSEMBLY

(a) Replace the EGR valve assembly.

Click here

HINT:

Perform "Inspection After Repair" after replacing the EGR valve assembly.

Click here

NEXT

GO TO STEP 24

22.

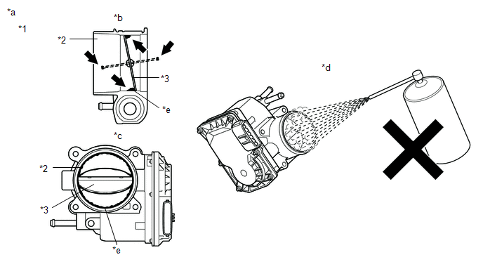
REMOVE FOREIGN OBJECT (CLEAN THROTTLE BODY WITH MOTOR ASSEMBLY)

(a) Clean off any deposits from the inside of the throttle body with motor assembly.

(b) Push open the throttle valve and wipe off any carbon from the valve and bore using a piece of cloth soaked in non-residue solvent.

*1

Throttle Body with Motor Assembly

*2

Bore

*3

Valve

-

-

*a

Reference

*b

Throttle Body with Motor Assembly Cross-section Diagram

*c

When valve fully opened

*d

Do not directly apply cleaner

*e

Deposits

-

-

NOTICE:

  • Make sure that the cloth or your fingers do not get caught in the valve.
  • Make sure that foreign matter does not enter the throttle valve.
  • Do not directly apply non-residue solvent to the throttle body with motor assembly or wash the throttle body with motor assembly. Cleaning solvent may leak into the motor from the shaft and cause problems such as rust or valve movement problems.
  • If there is coating material on the edge of the valve, be careful not to remove it.

HINT:

The illustrations are for reference only. Actual parts may differ.

NEXT

23.

PERFORM CONFIRMATION DRIVING PATTERN

(a) Perform "Inspection After Repair" after cleaning the throttle body with motor assembly.

Click here

(b) Connect the Techstream to the DLC3.

(c) Turn the engine switch on (IG).

(d) Turn the Techstream on.

(e) Start the engine and warm it up until the engine coolant temperature reaches 75°C (167°F) or higher.

(f) Allow the engine to idle for 3 minutes or more and confirm that the engine speed is within the specified range.

HINT:

If the engine is operated without performing learning value reset and idle learning after cleaning the deposits from the throttle body with motor assembly, the idle speed may increase.

NEXT

24.

CONDUCT CONFIRMATION TEST

(a) Check that the idle has returned to normal.

NEXT

END

READ NEXT:

 Throttle Body

 On-vehicle Inspection

ON-VEHICLE INSPECTION PROCEDURE 1. INSPECT THROTTLE BODY WITH MOTOR ASSEMBLY (a) Before cleaning, or after cleaning the throttle body with motor assembly and installing it to the vehicle, turn the eng

 Removal

REMOVAL CAUTION / NOTICE / HINT The necessary procedures (adjustment, calibration, initialization or registration) that must be performed after parts are removed and installed, or replaced during thro

SEE MORE:

 Satellite Radio Broadcast cannot be Selected or After Selecting Broadcast, Broadcast cannot be Added into Memory

CAUTION / NOTICE / HINT NOTICE: Some satellite radio broadcasts require payment. A contract must be made between a satellite radio company and the user. If the contract expires, it will not be possible to listen to the broadcast. PROCEDURE 1. CHECK SATELLITE RADIO (a) Check radio condition.

 Freeze Frame Data

FREEZE FRAME DATA FREEZE FRAME DATA (a) Whenever a lighting system DTC is stored, the headlight ECU sub-assembly and forward recognition camera stores the current vehicle state as freeze frame data. CHECK FREEZE FRAME DATA (a) Connect the Techstream to the DLC3. (b) Turn the engine switch on (IG). (

© 2016-2026 Copyright www.lexguide.net