Lexus ES manuals

Lexus ES: Pointer Displayed/not Displayed Repeatedly

WIRING DIAGRAM

CAUTION / NOTICE / HINT

NOTICE:

  • Depending on the parts that are replaced during vehicle inspection or maintenance, performing initialization, registration or calibration may be needed. Refer to Precaution for Navigation System.

    Click here

  • When replacing the radio receiver assembly or navigation ECU, always replace it with a new one. If a radio receiver assembly or navigation ECU which was installed to another vehicle is used, the following may occur:
    • A communication malfunction DTC may be stored.
    • The radio receiver assembly or navigation ECU may not operate normally.
  • Inspect the fuses for circuits related to this system before performing the following procedure.

PROCEDURE

1.

CHECK SYMPTOMS

(a) Recheck the situation when the malfunction occurs.

HINT:

  • When a hand is rested on the remote touch screen while driving, the remote touch (remote operation controller assembly) may react to finger movements and repeatedly display and hide the pointer.
  • When accelerating excessively on rough roads, the remote touch (remote operation controller assembly) may react to the acceleration and repeatedly display and hide the pointer.

Result

Proceed to

Symptom occurs in any situation.

A

Symptom occurs when hand is rested on the remote touch screen while driving.

B

Symptom occurs when accelerating excessively on rough roads.

C

B

END

C

GO TO STEP 5

A

2.

CHECK FOR FOREIGN MATTER

(a) Check if there is any foreign matter around the remote touch screen that interferes with operation of the screen.

OK:

There is no foreign matter around the remote touch screen that interferes with operation of the screen.

NG

REMOVE FOREIGN MATTER (CHECK OPERATION AGAIN)

OK

3.

REMOTE TOUCH (REMOTE OPERATION CONTROLLER ASSEMBLY) SELF CHECK (CHECK REMOTE TOUCH SCREEN OPERATION POSITION RECOGNITION CONDITION)

(a) Enter self-diagnostic mode.

Click here

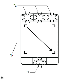
(b) Operate the remote touch screen diagonally from the upper left to the lower right and check that the brightness of the switch illumination changes.

NOTICE:

Since the remote touch screen may recognize a pinch in/out operation if operated with 2 fingers, always use 1 finger to operate the remote touch screen in self-diagnostic mode.

OK:

Brightness changes according to remote touch screen operation.

Result

Proceed to

Brightness of the switch illumination changes according to remote touch screen operation.

A

Brightness of the switch illumination does not change according to remote touch screen operation.

B

Switch illumination continues to blink.

HINT:

When the switch illumination blinks, the remote touch (remote operation controller assembly) has stored a DTC.

*a

Switch Illumination

*b

Remote Touch Screen

B

REPLACE REMOTE TOUCH (REMOTE OPERATION CONTROLLER ASSEMBLY)

A

4.

REPLACE NAVIGATION ECU

(a) Replace the navigation ECU with a new one.

Click here

(b) Check the malfunction disappears.

OK:

Malfunction disappears.

OK

END (NAVIGATION ECU IS DEFECTIVE)

NG

REPLACE RADIO RECEIVER ASSEMBLY

5.

CHECK CONNECTOR CONNECTION CONDITION

(a) Check if the G56 remote touch (remote operation controller assembly) connector is securely connected.

OK:

The connector is securely connected.

NG

SECURELY CONNECTED

OK

6.

CHECK HARNESS AND CONNECTOR (REMOTE TOUCH (REMOTE OPERATION CONTROLLER ASSEMBLY) POWER SOURCE)

(a) Disconnect the G56 remote touch (remote operation controller assembly) connector.

(b) Measure the resistance according to the value(s) in the table below.

Standard Resistance:

Tester Connection

Condition

Specified Condition

G56-10 (GND) - Body ground

Always

Below 1 Ω

(c) Measure the voltage according to the value(s) in the table below.

Standard Voltage:

Tester Connection

Condition

Specified Condition

G56-1 (+B) - Body ground

Power switch off

11 to 14 V

G56-6 (ACC) - Body ground

Power switch on (ACC)

11 to 14 V

OK

REPLACE REMOTE TOUCH (REMOTE OPERATION CONTROLLER ASSEMBLY)

NG

REPAIR OR REPLACE HARNESS OR CONNECTOR

READ NEXT:

 Pointer not Displayed on Screen or Pointer does not Move

CAUTION / NOTICE / HINT NOTICE: Depending on the parts that are replaced during vehicle inspection or maintenance, performing initialization, registration or calibration may be needed. Refer to Pre

 Poor Sound Quality in All Modes (Low Volume)

PROCEDURE 1. CHECK AUDIO SETTINGS (a) Set treble, middle and bass to the initial values and check that the sound is normal. OK: The sound returns to normal. HINT: Sound quality adjustment me

 Portable Player cannot be Connected Manually/Automatically

CAUTION / NOTICE / HINT HINT: Some versions of "Bluetooth" compatible audio players may not function properly, or the functions may be limited using the radio receiver assembly, even if the portable a

SEE MORE:

 Switch Operation of Remote Touch not Accepted

CAUTION / NOTICE / HINT NOTICE: Depending on the parts that are replaced during vehicle inspection or maintenance, performing initialization, registration or calibration may be needed. Refer to Precaution for Navigation System. Click here When replacing the radio receiver assembly, always re

 Cold Start Ignition Timing Performance (P050B00)

MONITOR DESCRIPTION A monitor will run when the engine is started at an engine coolant temperature of -10 (14°F) or higher, and less than 50°C (122°F). If certain conditions are met, a DTC is stored after the engine idles for 13 seconds (2 trip detection logic). This DTC is designed to monitor th

© 2016-2026 Copyright www.lexguide.net