Lexus ES manuals

Lexus ES: Installation

INSTALLATION

PROCEDURE

1. INSTALL STOP LIGHT SWITCH ASSEMBLY

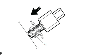
(a) Insert the stop light switch assembly until the threaded sleeve hits the pedal as shown in the illustration.

*1

Stop Light Switch Mounting Adjuster

Insert in this Direction

NOTICE:

When inserting the stop light switch assembly, support the pedal from behind so that the pedal is not pushed in.

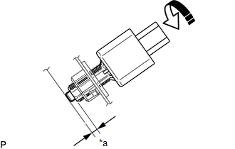
(b) Turn the stop light switch assembly 1/4 turn clockwise as shown in the illustration to install it.

*a

Protrusion of the Plunger

Turn in this Direction

Torque:

1.5 N·m {15 kgf·cm, 13 in·lbf}

or less

(c) Connect the connector.

(d) Check the protrusion of the plunger.

Protrusion of the Plunger

Area

Measurement

a

0.5 to 2.6 mm (0.0197 to 0.102 in.)

(e) If the protrusion is not as specified, recheck the stop light switch assembly installation and perform brake pedal adjustment if necessary.

for Gasoline Model:

Click here

for HV Model:

Click here

NOTICE:

Do not depress or support the brake pedal.

2. INSTALL NO. 1 INSTRUMENT PANEL UNDER COVER SUB-ASSEMBLY

Click here

READ NEXT:

 Switch Housing

 Components

COMPONENTS ILLUSTRATION *A for Power Tilt and Power Telescopic Steering Column - - *1 STEERING WHEEL SWITCH HOUSING *2 TILT AND TELESCOPIC SWITCH *3 TURN SIGNAL SWITCH *4

 Removal

REMOVAL CAUTION / NOTICE / HINT The necessary procedures (adjustment, calibration, initialization, or registration) that must be performed after parts are removed, installed, or replaced during the st

SEE MORE:

 Mute Signal Circuit between Stereo Component Amplifier and Telematics Transceiver

DESCRIPTION The DCM (telematics transceiver) sends a mute signal to the stereo component amplifier assembly. The stereo component amplifier assembly controls the volume according to the mute signal from the DCM (telematics transceiver). WIRING DIAGRAM CAUTION / NOTICE / HINT NOTICE: Depending on

 Multi-axis Acceleration Sensor Module "A" Supply Voltage Circuit Voltage Out of Range (C14D71C)

DESCRIPTION The airbag ECU assembly has a built-in yaw rate and acceleration sensor and detects the vehicle condition. This DTC is stored when the skid control ECU (brake actuator assembly) receives a sensor supply voltage malfunction signal from the yaw rate and acceleration sensor (airbag ECU asse

© 2016-2025 Copyright www.lexguide.net