Lexus ES manuals

Lexus ES: Installation

INSTALLATION

PROCEDURE

1. INSTALL REAR SUSPENSION MEMBER FRONT BODY MOUNTING CUSHION (for LH Side)

(a) Confirm the installation direction and temporarily install a new rear suspension member front body mounting cushion.

NOTICE:

  • Position the rear suspension member front body mounting cushion in the correct direction.
  • Do not apply lubricant to the outer sleeve of the rear suspension member front body mounting cushion.

*A

for TMC Made

*B

for TMMK Made

*a

View from Underneath

Front of the Vehicle

Outside of the Vehicle

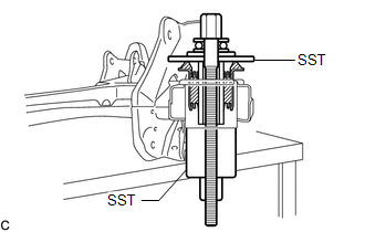
(b) Install SST as shown in the illustration.

SST: 09570-24011

SST: 09830-10010

09830-01010

09830-01020

09830-01040

09830-01050

NOTICE:

Apply molybdenum grease to the threads and tip of the SST center bolt before use.

(c) Using SST, install the rear suspension member front body mounting cushion until there is no clearance between the rear suspension member sub-assembly and rear suspension member front body mounting cushion.

SST: 09570-24011

SST: 09830-10010

09830-01010

09830-01020

09830-01040

09830-01050

NOTICE:

If the rear suspension member sub-assembly is scratched, apply paint to the scratched areas of the rear suspension member sub-assembly.

*a

Hold

Turn

(d) Remove SST from the rear suspension member sub-assembly.

2. INSTALL REAR SUSPENSION MEMBER FRONT BODY MOUNTING CUSHION (for RH Side)

(a) Confirm the installation direction and temporarily install a new rear suspension member front body mounting cushion.

NOTICE:

  • Position the rear suspension member front body mounting cushion in the correct direction.
  • Do not apply lubricant to the outer sleeve of the rear suspension member front body mounting cushion.

*A

for TMC Made

*B

for TMMK Made

*a

View from Underneath

Front of the Vehicle

Outside of the Vehicle

(b) Install SST using the same procedure as for the rear suspension member front body mounting cushion (for LH Side).

SST: 09570-24011

SST: 09830-10010

09830-01010

09830-01020

09830-01040

09830-01050

NOTICE:

Apply molybdenum grease to the threads and tip of the SST center bolt before use.

(c) Using SST, install the rear suspension member front body mounting cushion until there is no clearance between the rear suspension member sub-assembly and rear suspension member front body mounting cushion.

SST: 09570-24011

SST: 09830-10010

09830-01010

09830-01020

09830-01040

09830-01050

NOTICE:

If the rear suspension member sub-assembly is scratched, apply paint to the scratched areas of the rear suspension member sub-assembly.

HINT:

Perform the same procedure as for the rear suspension member front body mounting cushion (for LH Side).

(d) Remove SST from the rear suspension member sub-assembly.

3. INSTALL REAR SUSPENSION MEMBER REAR BODY MOUNT CUSHION LH

(a) Confirm the installation direction and temporarily install a new rear suspension member rear body mount cushion LH.

NOTICE:

  • Position the rear suspension member rear body mount cushion LH in the correct direction.
  • Do not apply lubricant to the outer sleeve of the rear suspension member rear body mount cushion LH.

*A

for TMC Made

*B

for TMMK Made

*a

View from Underneath

Front of the Vehicle

Outside of the Vehicle

(b) Install SST as shown in the illustration.

SST: 09710-28031

09711-02030

09711-02040

94622-51200

SST: 09950-60021

09951-00720

09951-00890

NOTICE:

Apply molybdenum grease to the threads and tip of the SST center bolt before use.

(c) Using SST, install the rear suspension member rear body mount cushion LH until there is no clearance between the rear suspension member sub-assembly and rear suspension member rear body mount cushion LH.

SST: 09710-28031

09711-02030

09711-02040

94622-51200

SST: 09950-60021

09951-00720

09951-00890

NOTICE:

If the rear suspension member sub-assembly is scratched, apply paint to the scratched areas of the rear suspension member sub-assembly.

*a

Hold

Turn

(d) Remove SST from the rear suspension member sub-assembly.

4. INSTALL REAR SUSPENSION MEMBER REAR BODY MOUNT CUSHION RH

(a) Confirm the installation direction and temporarily install a new rear suspension member rear body mount cushion RH.

NOTICE:

  • Position the rear suspension member rear body mount cushion RH in the correct direction.
  • Do not apply lubricant to the outer sleeve of the rear suspension member rear body mount cushion RH.

*A

for TMC Made

*B

for TMMK Made

*a

View from Underneath

Front of the Vehicle

Outside of the Vehicle

(b) Install SST using the same procedure as for the rear suspension member rear body mount cushion LH.

SST: 09710-28031

09711-02030

09711-02040

94622-51200

SST: 09950-60021

09951-00720

09951-00890

NOTICE:

Apply molybdenum grease to the threads and tip of the SST center bolt before use.

(c) Using SST, install the rear suspension member rear body mount cushion RH until there is no clearance between the rear suspension member sub-assembly and rear suspension member rear body mount cushion RH.

SST: 09710-28031

09711-02030

09711-02040

94622-51200

SST: 09950-60021

09951-00720

09951-00890

NOTICE:

If the rear suspension member sub-assembly is scratched, apply paint to the scratched areas of the rear suspension member sub-assembly.

HINT:

Perform the same procedure as for the rear suspension member rear body mount cushion LH.

(d) Remove SST from the rear suspension member sub-assembly.

5. INSTALL REAR UPPER CONTROL ARM ASSEMBLY LH

Click here

6. INSTALL REAR UPPER CONTROL ARM ASSEMBLY RH

HINT:

Perform the same procedure as for the LH side.

7. INSTALL REAR SUSPENSION MEMBER SUB-ASSEMBLY

(a) Install the 4 rear suspension member cushions to the rear suspension member sub-assembly.

HINT:

When reusing the rear suspension member cushion, make sure to check its identification mark and install it to the correct position.

(b) Using an engine lifter and 4 attachments or equivalent tools, support the rear suspension member sub-assembly as shown in the illustration.

  • The rear suspension member sub-assembly is a very heavy component. Make sure that it is supported securely.
  • If the rear suspension member sub-assembly is not securely supported, it may drop, resulting in serious injury.

NOTICE:

  • Use attachments or equivalent tools to keep the rear suspension member sub-assembly level.
  • Keep supporting the rear suspension member sub-assembly until the installation has been completed.

*a

Engine Lifter

*b

Attachment

Attachment and Wooden Block Placement Location

(c) Raise the rear suspension member sub-assembly until there is no clearance between the rear suspension member sub-assembly and vehicle.

(d) Install the rear suspension member sub-assembly with the 2 rear suspension member lower stoppers, rear suspension member lower brace LH and rear suspension member lower brace RH, 2 bolts and 6 nuts.

Torque:

Bolt A :

158 N·m {1611 kgf·cm, 117 ft·lbf}

Nut B :

158 N·m {1611 kgf·cm, 117 ft·lbf}

Nut C :

18 N·m {184 kgf·cm, 13 ft·lbf}

(e) w/ Height Control Sensor:

(1) Engage the 3 clamps to install the wire harness.

8. TEMPORARILY INSTALL REAR UPPER CONTROL ARM ASSEMBLY LH

(a) Temporarily install the rear upper control arm assembly LH to the rear axle carrier sub-assembly LH with the bolt and nut.

NOTICE:

  • Insert the bolt with the threaded end facing the rear of the vehicle.
  • Because the nut has its own stopper, do not turn the nut. Tighten the bolt with the nut secured.

9. TEMPORARILY INSTALL REAR UPPER CONTROL ARM ASSEMBLY RH

HINT:

Perform the same procedure as for the LH side.

10. TEMPORARILY INSTALL REAR NO. 1 SUSPENSION ARM ASSEMBLY LH

Click here

11. TEMPORARILY INSTALL REAR NO. 1 SUSPENSION ARM ASSEMBLY RH

HINT:

Perform the same procedure as for the LH side.

12. TEMPORARILY INSTALL REAR NO. 2 SUSPENSION ARM ASSEMBLY LH

Click here

13. TEMPORARILY INSTALL REAR NO. 2 SUSPENSION ARM ASSEMBLY RH

HINT:

Perform the same procedure as for the LH side.

14. INSTALL REAR LOWER COIL SPRING INSULATOR LH

Click here

15. INSTALL REAR LOWER COIL SPRING INSULATOR RH

HINT:

Perform the same procedure as for the LH side.

16. INSTALL REAR COIL SPRING LH

Click here

17. INSTALL REAR COIL SPRING RH

HINT:

Perform the same procedure as for the LH side.

18. INSTALL REAR STABILIZER BAR

Click here

19. INSTALL REAR HEIGHT CONTROL SENSOR SUB-ASSEMBLY LH (w/ Height Control Sensor)

Click here

20. CONNECT REAR FLEXIBLE HOSE LH

(a) Connect the rear flexible hose LH to the rear flexible hose bracket with the bolt.

Torque:

29 N·m {296 kgf·cm, 21 ft·lbf}

21. CONNECT REAR FLEXIBLE HOSE RH

HINT:

Perform the same procedure as for the LH side.

22. STABILIZE SUSPENSION

Click here

23. INSTALL REAR STABILIZER LINK ASSEMBLY LH

Click here

24. INSTALL REAR STABILIZER LINK ASSEMBLY RH

HINT:

Perform the same procedure as for the LH side.

25. INSTALL REAR NO. 1 SUSPENSION ARM ASSEMBLY LH

Click here

26. INSTALL REAR NO. 1 SUSPENSION ARM ASSEMBLY RH

HINT:

Perform the same procedure as for the LH side.

27. INSTALL REAR NO. 2 SUSPENSION ARM ASSEMBLY LH

(a) Install the rear No. 2 suspension arm assembly LH (rear axle carrier sub-assembly side) with the bolt.

Click here

28. INSTALL REAR NO. 2 SUSPENSION ARM ASSEMBLY RH

HINT:

Perform the same procedure as for the LH side.

29. INSTALL REAR UPPER CONTROL ARM ASSEMBLY LH

(a) Install the rear upper control arm assembly LH to the rear axle carrier sub-assembly LH with the bolt.

Torque:

73 N·m {744 kgf·cm, 54 ft·lbf}

NOTICE:

Because the nut has its own stopper, do not turn the nut. Tighten the bolt with the nut secured.

30. INSTALL REAR UPPER CONTROL ARM ASSEMBLY RH

HINT:

Perform the same procedure as for the LH side.

31. INSTALL CENTER EXHAUST PIPE ASSEMBLY

for 2GR-FKS: Click here

for A25A-FXS: Click here

32. INSTALL NO. 1 FLOOR UNDER COVER (for Gasoline Model)

Click here

33. INSTALL NO. 2 FLOOR UNDER COVER (for Gasoline Model)

Click here

34. INSTALL REAR WHEEL

Click here

35. INSTALL REAR NO. 2 SUSPENSION ARM ASSEMBLY LH

(a) Install the rear No. 2 suspension arm assembly LH (rear suspension member sub-assembly side) with the nut.

Click here

36. INSTALL REAR NO. 2 SUSPENSION ARM ASSEMBLY RH

HINT:

Perform the same procedure as for the LH side.

37. INSPECT FOR EXHAUST GAS LEAK

for 2GR-FKS: Click here

for A25A-FXS: Click here

38. INSPECT AND ADJUST REAR WHEEL ALIGNMENT

Click here

39. PERFORM INITIALIZATION

for HV Model:
*1: for LED type turn signal light
  • Parking Support Alert System
  • Parking Support Brake System

Parking Assist Monitor System

for Initialization

for Calibration

Panoramic View Monitor System

for Initialization

for Calibration

Lighting System*1

for Gasoline Model:
*1: for LED type turn signal light
  • Parking Support Alert System
  • Parking Support Brake System

Parking Assist Monitor System

for Initialization

for Calibration

Panoramic View Monitor System

for Initialization

for Calibration

Lighting System*1

READ NEXT:

 Rear Suspension Member (for Awd)

 Components

COMPONENTS ILLUSTRATION *1 REAR NO. 2 SUSPENSION ARM ASSEMBLY LH *2 REAR NO. 2 SUSPENSION ARM ASSEMBLY RH *3 REAR SUSPENSION MEMBER SUB-ASSEMBLY *4 REAR UPPER CONTROL ARM ASSEMBLY

 Installation

INSTALLATION PROCEDURE 1. INSTALL HOLE PLUG (a) Install the 10 hole plugs to the rear suspension member sub-assembly. HINT: There are 2 different shapes of hole plug. 2. INSTALL REAR SU

SEE MORE:

 Control Module Processor System Internal Failure (P060604,P060629,P06062A,P060647)

MONITOR DESCRIPTION The ECM continuously monitors its main and sub CPUs. This self-check ensures that the ECM is functioning properly. If outputs from these CPUs are different and deviate from the standard, the ECM will illuminate the MIL and store a DTCs. DTC No. Detection Item DTC Detection

 Inspection

INSPECTION PROCEDURE 1. INSPECT LUGGAGE DOOR OPENING CANCEL SWITCH ASSEMBLY (a) Check the resistance. (1) Measure the resistance according to the value(s) in the table below. Standard Resistance: Tester Connection Switch Condition Specified Condition 2 (B) - 1 (L) Switch on Below

© 2016-2026 Copyright www.lexguide.net