Lexus ES manuals

Lexus ES: Calibration

CALIBRATION

ADJUST PARKING ASSIST MONITOR SYSTEM

(a) The parking assist monitor system can be adjusted using diagnostic mode.

(b) If the following operations are performed, it is necessary to perform adjustments and checks using diagnostic mode.

Part Name

Operation

Adjustment Item

Proceed to

Steering sensor

  • Replacement
  • Removal and installation of the steering sensor
  • Removal and installation of the connector of the steering sensor

Steering angle neutral point (Initialize parking assist monitor system)

Steering angle setting

Procedure 3

Suspension, tires, etc.

Replacement (The vehicle height changes due to suspension or tire replacement)

Rear television camera assembly optical axis (Back camera position setting)

Procedure 2

Rear television camera assembly

Replacement

Parking assist monitor system initialization

Procedure 1

Removal and installation of the rear television camera assembly etc. (Installation angle of the rear television camera assembly changes due to removal and installation)

Rear television camera assembly optical axis (Back camera position setting)

Procedure 2

HINT:

The adjustment values stored while performing parking assist monitor system calibration are stored in the rear television camera assembly.

PARKING ASSIST MONITOR SYSTEM INITIALIZATION (PROCEDURE 1)

HINT:

  • Be sure to check for DTCs before performing this procedure.

    Click here

  • Illustrations may differ from the actual vehicle screen depending on the device settings and options. Therefore, some detailed areas may not be shown exactly the same as on the actual vehicle screen.

(a) Preparation for adjustment

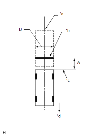
(1) Park the vehicle with the steering wheel centered.

(2) Set a target bar behind the vehicle for optical axis adjustment of the rear television camera assembly (back camera position setting).

HINT:

Create a target bar for adjustment only when adjusting the optical axis of the rear television camera assembly.

*a

Vehicle Center

*b

Target Bar for Back Camera Position Setting

*c

Vehicle End

*d

Front

Dimension:

Area

Specification

A

2028.8 mm (6.65 ft.)

B

1995 to 2005 mm (6.544 to 6.576 ft.)

HINT:

  • Set a piece of tape on the ground as the target bar for adjustment. Its width and length should be 20 to 30 mm (0.787 to 1.180 in.) and 1995 to 2005 mm (6.544 to 6.576 ft.), respectively.
  • Before parking the vehicle, be sure to move the vehicle forward and in reverse to check that the tires are facing straight ahead with the steering wheel centered.
  • Check that the luggage compartment door is fully closed.

(b) Start diagnostic mode.

  • w/ Navigation System: Click here

    w/o Navigation System: Click here

NOTICE:

The following must be carried out with the engine started. Apply the parking brake, depress the brake pedal, check that the shift lever is in P, and ensure that the vehicle is not moving.

(1) Select "Function Check/Setting" on the "Service Menu" screen.

(2) Select "Camera Setting" on the "Function Check/Setting I" screen.

(3) Select "Next" on the "Signal Check" screen.

HINT:

  • When "CHK" (red) is displayed for any items on the "Signal Check" screen, selecting "Next" will not change the screen to the "Steering Angle Setting" screen.
  • When "CHK" (red) is displayed for any items on the "Signal Check" screen, perform inspections using the "Signal Check" screen.

    Click here

(c) Steering Angle Setting

(1) Check that the steering wheel is centered (approximately +/- 5 degrees or less) and then select "Steering Center Memorize".

HINT:

When performing removal and installation of the rear television camera assembly, steering angle setting is not required.

(2) After performing the steering center memorize operation, turn the steering wheel to the left and right lock positions and select "Max Steering Angle Memorize". The maximum steering angle is then stored and the screen changes to the "Back Camera Position Setting D (*)" screen.

HINT:

  • The "Next" does not respond until the system memorizes the steering center and maximum steering wheel angle.
  • It is also possible to start by initially turning the steering to the right side.
  • When "Max Steering Angle Memorize" is selected, a beep will sound to confirm that the adjustment values have been stored.
  • The adjustment values will not be stored unless "Max Steering Angle Memorize" is selected after turning the steering wheel from lock to lock.
  • When "Back" is selected, the screen changes to the "Signal Check" screen without storing any values.
  • Even if no DTCs are detected, selecting "Max Steering Angle Memorize" may not cause the adjustment values to be stored if the steering sensor is malfunctioning.
  • If selecting "Max Steering Angle Memorize" does not cause the adjustment value to be stored after performing the steering angle setting procedure, replace the steering sensor.

    Click here

(d) Back Camera Position Setting

*a

Target Bar for Back Camera Position Setting

HINT:

  • When the luggage compartment door is open, the "You can not calibrate the camera when the door is open. Please close the door." message will be displayed and camera position setting will not be possible.
  • If the "You can not calibrate the camera when the door is open. Please close the door." message is displayed even when the luggage compartment door is closed, perform inspections according to Problem Symptoms Table (When adjusting the camera optical axis, "You can not calibrate the camera when the door is open. Please close the door." is displayed even after the luggage compartment door has been closed).

    Click here

(1) Perform vertical and horizontal position adjustment.

  • Move the circle (A) left, right, up and down by selecting the buttons (C), (D), (E) and (F) so that the left end of Target Bar for Back Camera Position Setting is positioned within the center of the circle (A) (center of the inner red circle).

(2) Perform roll angle adjustment.

  • Rotate the bar (B) by selecting the buttons (G) or (H) so that the bar (B) becomes parallel to Target Bar for Back Camera Position Setting.

(3) Select "Next" on the "Back Camera Position Setting D (*)" screen.

(e) Back Verify Mode

(1) Check that (A) and the target adjustment bar are overlapping.

  • If the lines are not aligned, perform the "Steering Center Memorize" and "Max Steering Angle Memorize" operations.
  • If (A) and the target adjustment bar are not aligned even if the tires are aligned straight ahead, perform the back camera position setting operation.

(2) Select "OK" to return to the "Function Check/Setting I" screen and complete the adjustment.

HINT:

  • The update is not completed until "OK" is selected.
  • When "OK" is selected, a beep will sound to confirm that the adjustment values have been stored.
  • The adjustment values are not stored until the beep has sounded.

(f) Finish diagnostic mode.

  • w/o Navigation System: Click here
  • w/ Navigation System: Click here

(g) Confirm steering angle adjustment.

HINT:

If the steering angle has been adjusted, confirm the steering angle adjustment on the parking assist monitor screen after finishing diagnostic mode.

(1) Check on the parking assist screen that the estimated course line moves until the steering wheel is fully turned to either the left or right.

HINT:

If the estimated course line stops moving before the steering wheel is fully turned to either the left or right, the steering angle adjustment values have not been stored correctly. In this case, perform "Steering Center Memorize" and "Max Steering Angle Memorize" again.

BACK CAMERA POSITION SETTING (PROCEDURE 2)

HINT:

  • Be sure to check for DTCs before performing this procedure.

    Click here

  • Illustrations may differ from the actual vehicle screen depending on the device settings and options. Therefore, some detailed areas may not be shown exactly the same as on the actual vehicle screen.

(a) Preparation for adjustment

(1) Park the vehicle with the steering wheel centered.

(2) Set a target bar behind the vehicle for optical axis adjustment of the rear television camera assembly (back camera position setting).

HINT:

Create a target bar for adjustment only when adjusting the optical axis of the rear television camera assembly.

*a

Vehicle Center

*b

Target Bar for Back Camera Position Setting

*c

Vehicle End

*d

Front

Dimension:

Area

Specification

A

2028.8 mm (6.65 ft.)

B

1995 to 2005 mm (6.544 to 6.576 ft.)

HINT:

  • Set a piece of tape on the ground as the target bar for adjustment. Its width and length should be 20 to 30 mm (0.787 to 1.180 in.) and 1995 to 2005 mm (6.544 to 6.576 ft.), respectively.
  • Before parking the vehicle, be sure to move the vehicle forward and in reverse to check that the tires are facing straight ahead with the steering wheel centered.
  • Check that the luggage compartment door is fully closed.

(b) Start diagnostic mode.

  • w/ Navigation System: Click here

    w/o Navigation System: Click here

NOTICE:

The following must be carried out with the engine started. Apply the parking brake, depress the brake pedal, check that the shift lever is in P, and ensure that the vehicle is not moving.

(1) Select "Function Check/Setting" on the "Service Menu" screen.

(2) Select "Camera Setting" on the "Function Check/Setting I" screen.

(3) Select "Back Camera Setting" on the "Mode Setting" screen.

HINT:

To select a grayed out item, select and hold the item for 2 seconds or more.

(4) Select "Next" on the "Signal Check" screen.

HINT:

  • When "CHK" (red) is displayed for any items on the "Signal Check" screen, selecting "Next" will not change the screen to the "Back Camera Position Setting D (*)" screen.
  • When "CHK" (red) is displayed for any items on the "Signal Check" screen, perform inspections using the "Signal Check" screen.

    Click here

(c) Back Camera Position Setting

*a

Target Bar for Back Camera Position Setting

HINT:

  • When the luggage compartment door is open, the "You can not calibrate the camera when the door is open. Please close the door." message will be displayed and camera position setting will not be possible.
  • If the "You can not calibrate the camera when the door is open. Please close the door." message is displayed even when the luggage compartment door is closed, perform inspections according to Problem Symptoms Table (When adjusting the camera optical axis, "You can not calibrate the camera when the door is open. Please close the door." is displayed even after the luggage compartment door has been closed).

    Click here

(1) Perform vertical and horizontal position adjustment.

  • Move the circle (A) left, right, up and down by selecting the buttons (C), (D), (E) and (F) so that the left end of Target Bar for Back Camera Position Setting is positioned within the center of the circle (A) (center of the inner red circle).

(2) Perform roll angle adjustment.

  • Rotate the bar (B) by selecting the buttons (G) or (H) so that the bar (B) becomes parallel to Target Bar for Back Camera Position Setting.

(3) Select "Next" on the "Back Camera Position Setting D (*)" screen.

(d) Back Verify Mode

(1) Check that (A) and the target adjustment bar are overlapping.

  • If the lines are not aligned, perform the "Steering Center Memorize" and "Max Steering Angle Memorize" operations.
  • If (A) and the target adjustment bar are not aligned even if the tires are aligned straight ahead, perform the back camera position setting operation.

(2) Select "OK" to return to the "Mode Setting" screen and complete the adjustment.

HINT:

  • The update is not completed until "OK" is selected.
  • When "OK" is selected, a beep will sound to confirm that the adjustment values have been stored.
  • The adjustment values are not stored until the beep has sounded.

(e) Finish diagnostic mode.

  • w/ Navigation System: Click here

    w/o Navigation System: Click here

STEERING ANGLE SETTING (PROCEDURE 3)

HINT:

  • If the vehicle width extension guide lines and estimated course lines are not aligned when the steering wheel is centered, or if the estimated course line does not move before the steering wheel is fully turned to either the left or right, perform Steering Angle Setting.
  • Be sure to check for DTCs before performing this procedure.

    Click here

  • Illustrations may differ from the actual vehicle screen depending on the device settings and options. Therefore, some detailed areas may not be shown exactly the same as on the actual vehicle screen.

(a) Center the steering wheel and stop the vehicle.

(b) Start diagnostic mode.

  • w/ Navigation System: Click here

    w/o Navigation System: Click here

NOTICE:

The following must be carried out with the engine started. Apply the parking brake, depress the brake pedal, check that the shift lever is in P, and ensure that the vehicle is not moving.

(1) Select "Function Check/Setting" on the "Service Menu" screen.

(2) Select "Camera Setting" on the "Function Check/Setting I" screen.

(3) Select "Steering Angle Setting" on the "Mode Setting" screen.

HINT:

To select a grayed out item, select and hold the item for 2 seconds or more.

(4) Select "Next" on the "Signal Check" screen to display the "Steering Angle Setting" screen.

HINT:

  • When "CHK" (red) is displayed for any items on the "Signal Check" screen, selecting "Next" will not change the screen to the "Steering Angle Setting" screen.
  • When "CHK" is displayed for any items on the "Signal Check" screen, perform inspections using the "Signal Check" screen.

    Click here

(c) Steering Angle Setting

(1) Check that the steering wheel is centered (approximately +/- 5 degrees or less) and select "Steering Center Memorize".

HINT:

When performing removal and installation of the rear television camera assembly, steering angle setting is not required.

(2) After the centered steering position is memorized, turn the steering wheel to the left and then to the right full lock positions and select "Max Steering Angle Memorize".

HINT:

It is also possible to start by initially turning the steering wheel to the right side.

(3) Select "Max Steering Angle Memorize" to store the steering angle adjustment value and change the screen to the "Mode Setting" screen.

HINT:

  • When "Max Steering Angle Memorize" is selected, a beep will sound to confirm that the steering angle adjustment values have been stored.
  • The adjustment values will not be stored unless "Max Steering Angle Memorize" is selected.
  • When "Back" is selected, the screen changes to "Signal Check" without storing the set values.
  • If the Steering Angle Settings have not been adjusted, selecting "Max Steering Angle Memorize" will not cause the adjustment values to be stored.
  • Even if no DTCs are detected, selecting "Max Steering Angle Memorize" may not cause the adjustment value to be stored if the steering sensor is malfunctioning.
  • If selecting "Max Steering Angle Memorize" does not cause the adjustment value to be stored after adjusting the steering angle, replace the steering sensor.

    Click here

(d) Finish diagnostic mode.

  • w/ Navigation System: Click here

    w/o Navigation System: Click here

(e) Confirm steering angle adjustment.

HINT:

If the steering angle has been adjusted, confirm the steering angle adjustment on the parking assist monitor screen after finishing diagnostic mode.

(1) Check on the parking assist screen that the estimated course line moves until the steering wheel is fully turned to either the left or right.

HINT:

If the estimated course line stops moving before the steering wheel is fully turned to either the left or right, the steering angle adjustment values have not been stored correctly. In this case, perform "Steering Center Memorize" and "Max Steering Angle Memorize" again.

READ NEXT:

 Data List / Active Test

DATA LIST / ACTIVE TEST DATA LIST NOTICE: In the table below, the values listed under "Normal Condition" are reference values. Do not depend solely on these reference values when deciding whether a pa

 Diagnosis System

DIAGNOSIS SYSTEM PARKING ASSIST MONITOR SYSTEM DIAGNOSTIC MODE (a) In diagnostic mode for the parking assist monitor system, signals received by the radio receiver assembly can be checked and the park

 Diagnostic Trouble Code Chart

DIAGNOSTIC TROUBLE CODE CHART Parking Assist Monitor System DTC No. Detection Item Link C1611 ECU Malfunction C1621 Back Camera Power Supply Failure C1622 Back Camer

SEE MORE:

 Key-off Operation Function Operates even if Operating Conditions are not Satisfied

DESCRIPTION The sliding roof ECU (sliding roof drive gear sub-assembly) operates its built-in motor according to the sliding roof switch (map light sub-assembly) operation. Using the sliding roof switch (map light sub-assembly), if the sliding roof can be operated normally when 45 seconds or more ha

 Hybrid Generator Circuit Current Out of Range (P1CA51D)

DTC SUMMARY MALFUNCTION DESCRIPTION This DTC indicates that current does not flow as commanded due to a generator output circuit malfunction. The cause of this malfunction may be one of the following: Area Main Malfunction Description Inside of inverter Inverter with converter assembly in

© 2016-2026 Copyright www.lexguide.net