Lexus ES manuals

Lexus ES: Throttle/Pedal Position Sensor "A" Minimum Stop Performance (P210900)

Lexus ES (XZ10) Service Manual / Engine & Hybrid System / 2gr-fks (engine Control) / Sfi System / Throttle/Pedal Position Sensor "A" Minimum Stop Performance (P210900)

DESCRIPTION

The idle speed is controlled by the Electronic Throttle Control System (ETCS). The ETCS is comprised of a throttle actuator, which operates the throttle valve, and a throttle position sensor, which detects the opening amount of the throttle valve. The ECM controls the throttle actuator to adjust the throttle valve opening amount so that the idle speed is maintained at the target idle speed.

DTC No.

Detection Item

DTC Detection Condition

Trouble Area

MIL

Memory

Note

P210900

Throttle/Pedal Position Sensor "A" Minimum Stop Performance

The Throttle Air Flow F/B Value* approaches its limit even though the actual intake air amount during idling is within the normal range (up to 1.5 times the normal amount) (1 trip detection logic).

*: Data List item

Throttle body with motor assembly

Does not come on

DTC stored

SAE Code:

P2109

HINT:

  • This malfunction is only detected once per trip. After it has been detected once, the system will not monitor for the malfunction for the rest of the trip.
  • The system uses the throttle body with motor assembly and mass air flow meter sub-assembly to detect this malfunction.

MONITOR DESCRIPTION

If there are deposits in the throttle valve, a decrease in the ISC flow rate may cause engine stall or unstable idling. Therefore, the necessary ISC flow rate for idling is maintained using the throttle air flow feedback. The ECM stores this DTC if the Throttle Air Flow F/B Value approaches its limit. The ECM begins monitoring for the DTC detection conditions when the following preconditions are met:

  1. The mass air flow meter sub-assembly is normal.
  2. Atmospheric pressure is 85 kPa(abs) [12.3 psi(abs)] or higher.
  3. The vehicle has been driven at a speed of 30 km/h (19 mph) or more at least once.
  4. The engine coolant temperature is 45°C (113°F) or less at engine start, the engine is warmed up and conditions for Throttle Air Flow F/B Value are met, or the engine switch has been turned on (IG) (include engine running) for 1 hour or more, the engine is warmed up and conditions for Throttle Air Flow F/B Value are met.

CAUTION / NOTICE / HINT

HINT:

  • Since a pending DTC is not stored for this DTC, it takes time to confirm whether the malfunction has been successfully repaired by checking for this DTC. When confirming whether the malfunction has been successfully repaired, compare "Throttle Air Flow F/B Value" recorded in the freeze frame data with "Throttle Air Flow F/B Value" in the Data List after repairs have been made to save time.
  • Read freeze frame data using the Techstream. The ECM records vehicle and driving condition information as freeze frame data the moment a DTC is stored. When troubleshooting, freeze frame data can help determine if the vehicle was moving or stationary, if the engine was warmed up or not, if the air fuel ratio was lean or rich, and other data from the time the malfunction occurred.

PROCEDURE

1.

CHECK ANY OTHER DTCS OUTPUT (IN ADDITION TO DTC P210900)

(a) Connect the Techstream to the DLC3.

(b) Turn the engine switch on (IG).

(c) Turn the Techstream on.

(d) Enter the following menus: Powertrain / Engine / Trouble Codes.

(e) Read the DTCs.

Powertrain > Engine > Trouble Codes

Result

Proceed to

DTC P210900 is output

A

DTC P210900 and other DTCs are output

B

HINT:

If any DTCs other than P210900 are output, troubleshoot those DTCs first.

B

GO TO DTC CHART

A

2.

READ FREEZE FRAME DATA (THROTTLE AIR FLOW F/B VALUE)

(a) Connect the Techstream to the DLC3.

(b) Turn the engine switch on (IG).

(c) Turn the Techstream on.

(d) Using the Techstream, check "Throttle Air Flow F/B Value" in the Freeze Frame Data.

Click here

HINT:

Be sure to confirm "Throttle Air Flow F/B Value" in the Freeze Frame Data as it is used when confirming whether the malfunction has been successfully repaired.

NEXT

3.

INSPECT THROTTLE BODY WITH MOTOR ASSEMBLY

(a) Check for foreign matter between the throttle valve and the housing.

*1

Throttle Body with Motor Assembly

*2

Bore

*3

Throttle Valve

-

-

*a

Reference

*b

Throttle Body with Motor Assembly Cross-section Diagram

*c

When valve fully opened

*d

Deposits

HINT:

The illustrations are for reference. Actual parts may differ.

Result

Proceed to

Foreign matter between the throttle valve and housing

A

No foreign matter between the throttle valve and housing

B

HINT:

Perform "Inspection After Repair" after replacing the throttle body with motor assembly.

Click here

B

REPLACE THROTTLE BODY WITH MOTOR ASSEMBLY

A

4.

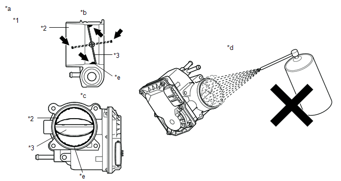
REMOVE FOREIGN MATTER (CLEAN THROTTLE BODY WITH MOTOR ASSEMBLY)

(a) Clean off any deposits from the inside of the throttle body with motor assembly.

*1

Throttle Body with Motor Assembly

*2

Bore

*3

Throttle Valve

-

-

*a

Reference

*b

Throttle Body with Motor Assembly Cross-section Diagram

*c

When valve fully opened

*d

Do not directly apply cleaner

*e

Deposits

-

-

(1) Push open the throttle valve and wipe off any carbon from the valve and bore using a cloth soaked in non-residue solvent.

NOTICE:

  • Make sure that the cloth or your fingers do not get caught in the valve.
  • Make sure that foreign matter does not enter the throttle valve.
  • Do not directly apply non-residue solvent to the throttle body with motor assembly or wash the throttle body with motor assembly. Cleaning solvent may leak into the motor from the shaft and cause problems such as rust or valve movement problems.
  • If there is coating material on the edge of the valve, be careful not to remove it.
  • Push the throttle valve open gently with your finger and check that the throttle valve moves smoothly.

HINT:

  • If the throttle valve does not open smoothly, replace the throttle body with motor assembly.

    Click here

  • The illustrations are for reference. Actual parts may differ.
NEXT

5.

READ VALUE USING TECHSTREAM (THROTTLE AIR FLOW F/B VALUE)

(a) Perform "Inspection After Repair" after cleaning the throttle body with motor assembly.

Click here

(b) Connect the Techstream to the DLC3.

(c) Turn the engine switch on (IG).

(d) Turn the Techstream on.

(e) Enter the following menus: Powertrain / Engine / Data List / Throttle Air Flow F/B Value.

Powertrain > Engine > Data List

Tester Display

Throttle Air Flow F/B Value

(f) According to the display on the Techstream, read the Data List.

OK:

The value is half of "Throttle Air Flow F/B Value" recorded in the Freeze Frame Data or less.

HINT:

Perform "Inspection After Repair" after replacing the throttle body with motor assembly.

Click here

OK

END

NG

REPLACE THROTTLE BODY WITH MOTOR ASSEMBLY

READ NEXT:

 Throttle Actuator "A" Control System Actuator Stuck Open (P211172,P211173)

DESCRIPTION The throttle actuator is operated by the ECM, and opens and closes the throttle valve using gears. The opening angle of the throttle valve is detected by the throttle position sensor, whic

 Throttle Actuator "A" Control Throttle Body Range/Performance (P211900,P211904,P211977)

DESCRIPTION The electronic throttle control system is composed of the throttle actuator, throttle position sensor, accelerator pedal position sensor, and ECM. The ECM operates the throttle actuator to

 Throttle/Pedal Position Sensor/Switch "D" Circuit Short to Battery (P212012,P212014,P21201C,P21201F,P212099,P212512,P212514,P21251F,P21382B)

DESCRIPTION HINT: This Electronic Throttle Control System (ETCS) does not use a throttle cable. These DTCs relate to the accelerator pedal position sensor. The accelerator pedal position senso

SEE MORE:

 Problem Symptoms Table

PROBLEM SYMPTOMS TABLE HINT: Use the table below to help determine the cause of problem symptoms. If multiple suspected areas are listed, the potential causes of the symptoms are listed in order of probability in the "Suspected Area" column of the table. Check each symptom by checking the suspect

 Hybrid/EV Battery Air Temperature Sensor "A" Circuit Short to Ground (P0AAC11,P0AAC15)

DESCRIPTION The inlet air temperature sensor (battery) is mounted on the HV battery. The resistance of the sensor varies in accordance with changes in the intake air temperature. The characteristics of the inlet air temperature sensor are the same as those of the battery temperature sensors (Click h

© 2016-2026 Copyright www.lexguide.net