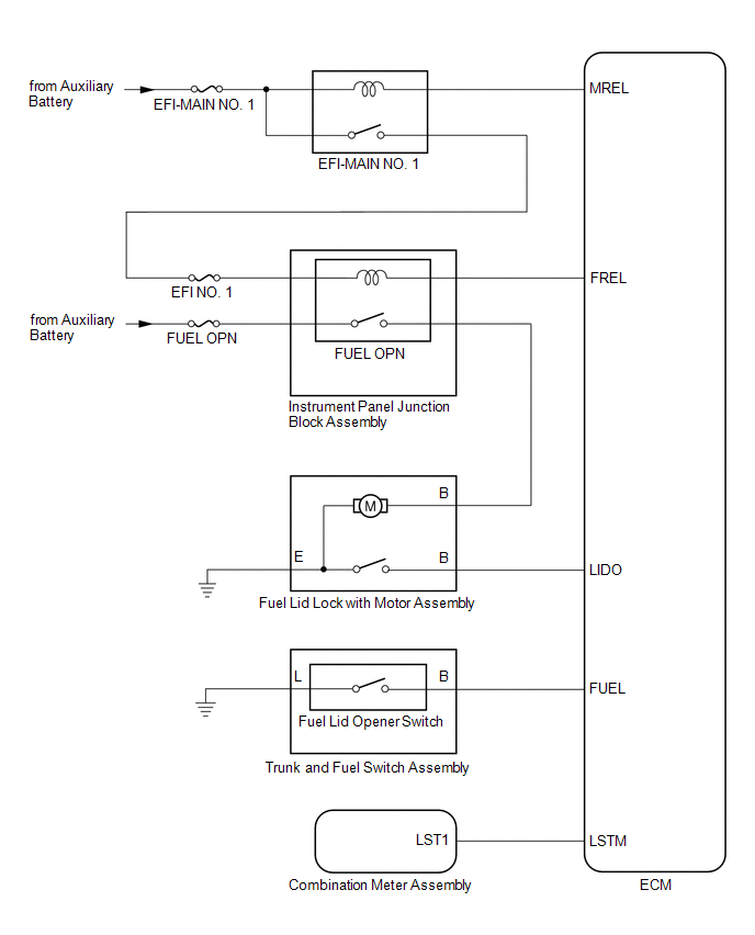
Lexus ES: System Diagram
SYSTEM DIAGRAM

READ NEXT:
SYSTEM DESCRIPTION When the trunk and fuel switch assembly (fuel lid opener switch) is operated, the pressure in the fuel tank is decreased and a message is displayed on the multi-information display.
CAUTION / NOTICE / HINT HINT:
Use the following procedure to troubleshoot the fuel lid opener system.
*: Use the Techstream.
PROCEDURE 1. VEHICLE BROUGHT TO WORKSHOP
NEXT
OPERATION CHECK CHECK FUEL LID OPENER SYSTEM Push the trunk and fuel switch assembly (fuel lid opener switch) and check that messages are displayed on the multi-information display in the combination
SEE MORE:
CAUTION / NOTICE / HINT NOTICE:
Depending on the parts that are replaced during vehicle inspection or maintenance, performing initialization, registration or calibration may be needed. Refer to Precaution for Audio and Visual System.
Click here
When replacing the radio receiver assembly, alw
DESCRIPTION This DTC is stored when the rear television camera assembly receives an invalid communication signal from the blind spot monitor sensor RH. DTC No. Detection Item DTC Detection Condition Trouble Area C2A5C BSM Buzzer Sound Request Signal Malfunction An invalid communicat
© 2016-2026 Copyright www.lexguide.net
