Lexus ES: System Diagram
SYSTEM DIAGRAM
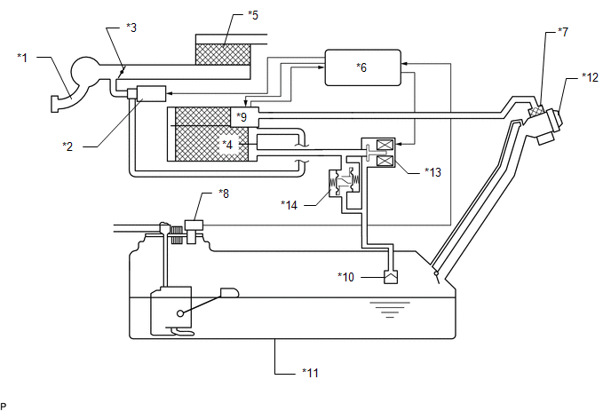
| *1 | Intake Manifold | *2 | Purge Valve (Purge VSV) |
| *3 | Throttle Valve | *4 | Canister (Charcoal Canister Assembly) |
| *5 | Air Cleaner | *6 | ECM |
| *7 | Canister Filter | *8 | Fuel Tank Pressure Sensor (Vapor Pressure Sensor Assembly) |
| *9 | Canister Pump Module (Leak Detection Pump Sub-assembly) - Canister Pressure Sensor - Pump Motor - Vent Valve | *10 | Cut-off Valve |
| *11 | Fuel Tank Assembly | *12 | Fuel Tank Cap Assembly |
| *13 | Fuel Vapor Containment Valve (Fuel Tank Solenoid Main Valve Assembly) | *14 | Fuel Outlet Valve (Relief Valve) |

READ NEXT:
ON-VEHICLE INSPECTION CAUTION / NOTICE / HINT CAUTION: To prevent injury due to contact with an operating cooling fan, keep your hands and clothing away from the cooling fans when working in the engin
InspectionINSPECTION PROCEDURE 1. INSPECT FUEL TANK CAP ASSEMBLY (a) Visually check that the fuel tank cap assembly and gasket are not deformed or damaged. If the result is not as specified, repla
SEE MORE:
DESCRIPTION
This DTC is stored if the parking assist ECU receives a signal via CAN communication from the steering sensor that indicates a power supply system problem.
This DTC is stored if the rear television camera assembly receives a signal via CAN communication from the steering sensor that
SYSTEM DESCRIPTION When the trunk and fuel switch assembly (fuel lid opener switch) is operated, the pressure in the fuel tank is decreased and a message is displayed on the multi-information display. After the pressure has decreased, the ECM turns on the FUEL OPN relay to operate the fuel lid lock
© 2016-2026 Copyright www.lexguide.net
