Lexus ES manuals

Lexus ES: Pressure Control Solenoid "A" Circuit Short to Battery (P074512)

Lexus ES (XZ10) Service Manual / Drivetrain / Ub80f (automatic Transmission / Transaxle) / Automatic Transaxle System / Pressure Control Solenoid "A" Circuit Short to Battery (P074512)

DESCRIPTION

Changing gears is performed by the ECM turning the solenoid (SL1, SL2, SL3, SL4, SL5 and SL6) valves on and off.

If an open or short occurs in any of the solenoid valve circuits, the ECM controls the remaining normal solenoid valves to allow the vehicle to be driven. If all of the solenoid valves are malfunctioning, only the mechanical fluid pressure circuit will function and some manual operation will be possible. If an open or short occurs in a solenoid valve circuit, the ECM cuts power to the malfunctioning solenoid valve.

HINT:

The following table shows normal operation of the solenoid (SL1) valve when the shift lever is in D.

Solenoid Valve Operation:

Gear

1st

2nd

3rd

4th

5th

6th

7th

8th

Solenoid (SL1) Valve

ON

ON

ON

ON

ON

OFF

OFF

OFF

DTC No.

Detection Item

DTC Detection Condition

Trouble Area

MIL

Memory

Note

P074512

Pressure Control Solenoid "A" Circuit Short to Battery

While the vehicle is being driven so that gear changes occur, a short to +B is detected in the solenoid (SL1) valve circuit for 1 second (1-trip detection logic).

  • Solenoid (SL1) valve
  • Transmission wire
  • Harness and connector
  • ECM

Comes on

DTC stored

SAE Code:

P0963

MONITOR DESCRIPTION

This DTC indicates a short to +B in the solenoid (SL1) valve circuit. The ECM commands gear shifts by turning the solenoid valves on or off. When there is an open or short in any solenoid valve circuit, the ECM detects the problem, illuminates the MIL and stores a DTC.

The ECM performs the fail-safe function and turns the other normal solenoid valves on or off. In the case of an open or short circuit, the ECM stops sending current to the open or shorted solenoid.

MONITOR STRATEGY

Related DTCs

P0963: Solenoid (SL1) valve/Range check (High current)

Required sensors/components

Solenoid (SL1) valve

Frequency of operation

Continuous

Duration

1 sec.

MIL operation

Immediate

Sequence of operation

None

TYPICAL ENABLING CONDITIONS

All

The monitor will run whenever the following DTCs are not stored

None

Solenoid current cut status

Not cut

Engine switch

On (IG)

Starter

OFF

Battery voltage

10.5 V or more

Condition (A)

Battery voltage

8 V or more and less than 12.499 V

Target current (0.1 sec. or more)

0.8 A or less

Condition (B)

Battery voltage

12.5 V or more and less than 16 V

Target current (0 sec. or more)

1 A or less

TYPICAL MALFUNCTION THRESHOLDS

Any of the following conditions are met: Condition (A) or (B)

Condition (A)

Battery voltage

8 V or more and less than 12.499 V

Solenoid current

More than 0.92 A

Condition (B)

Battery voltage

12.5 V or more and less than 16 V

Solenoid current

More than 1.1 A

COMPONENT OPERATING RANGE

Both of the following conditions are met: Condition (A) and (B)

Condition (A)

Battery voltage

8 V or more and less than 12.499 V

Solenoid current

0.92 A or less

Condition (B)

Battery voltage

12.5 V or more and less than 16 V

Solenoid current

1.1 A or less

CONFIRMATION DRIVING PATTERN

CAUTION:

When performing the confirmation driving pattern, obey all speed limits and traffic laws.

HINT:

  • After repairs have been completed, clear the DTCs and then check that the vehicle has returned to normal by performing the following All Readiness check procedure.
  • When clearing the permanent DTCs, refer to the Clear Permanent DTC procedure.

    Click here

  1. Connect the Techstream to the DLC3.
  2. Turn the engine switch on (IG) and turn the Techstream on.
  3. Clear the DTCs (even if no DTCs are stored, perform the clear DTC procedure).
  4. Turn the engine switch off and wait for 2 minutes or more.
  5. Turn the engine switch on (IG) and turn the Techstream on.
  6. Start the engine.
  7. Perform the D Position Shift Test inspection in Road Test. [*1]

    Click here

    HINT:

    [*1] : Normal judgment procedure.

    The normal judgment procedure is used to complete DTC judgment and also used when clearing permanent DTCs.

  8. Stop the vehicle.
  9. Enter the following menus: Powertrain / Transmission / Utility / All Readiness.
  10. Input the DTC: P074512.
  11. Check the DTC judgment result.

    Techstream Display

    Description

    NORMAL

    • DTC judgment completed
    • System normal

    ABNORMAL

    • DTC judgment completed
    • System abnormal

    INCOMPLETE

    • DTC judgment not completed
    • Perform driving pattern after confirming DTC enabling conditions

    N/A

    • Unable to perform DTC judgment
    • Number of DTCs which do not fulfill DTC preconditions has reached ECU memory limit

    HINT:

    • If the judgment result shows NORMAL, the system is normal.
    • If the judgment result shows ABNORMAL, the system has a malfunction.
    • If the judgment result shows INCOMPLETE or N/A, perform the normal judgment procedure again.

WIRING DIAGRAM

CAUTION / NOTICE / HINT

NOTICE:

  • Perform the universal trip to clear permanent DTCs.

    Click here

  • Perform registration and/or initialization when parts related to the automatic transaxle are replaced.

    Click here

PROCEDURE

1.

CHECK HARNESS AND TRANSMISSION WIRE (TRANSMISSION WIRE (SOLENOID (SL1) VALVE) - ECM)

(a) Disconnect the C78 ECM connector.

(b) Measure the resistance according to the value(s) in the table below.

Standard Resistance:

Tester Connection

Condition

Specified Condition

C78-8 (SL1+) or C78-7 (SL1-) - Other terminals

Always

10 kΩ or higher

NG

GO TO STEP 3

OK

2.

REPLACE ECM

(a) Replace the ECM.

Click here

NEXT

PERFORM REGISTRATION

3.

CHECK HARNESS AND CONNECTOR (TRANSMISSION WIRE - ECM)

(a) Disconnect the C30 transmission wire connector.

(b) Disconnect the C78 ECM connector.

(c) Measure the resistance according to the value(s) in the table below.

Standard Resistance:

Tester Connection

Condition

Specified Condition

C30-17 (SL1+) or C78-8 (SL1+) - Other terminals

Always

10 kΩ or higher

C30-16 (SL1-) or C78-7 (SL1-) - Other terminals

Always

10 kΩ or higher

NG

REPAIR OR REPLACE HARNESS OR CONNECTOR (TRANSMISSION WIRE - ECM)

OK

4.

INSPECT SOLENOID (SL1) VALVE

(a) Remove the solenoid (SL1) valve.

Click here

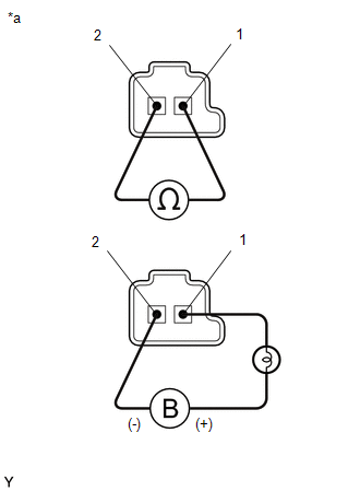
*a

Component without harness connected

(Solenoid (SL1) Valve)

(b) Measure the resistance according to the value(s) in the table below.

Standard Resistance:

Tester Connection

Condition

Specified Condition

Solenoid (SL1) valve connector terminal 1 - terminal 2

20°C (68°F)

5.0 to 5.6 Ω

(c) Connect a positive (+) lead from the battery with a 21 W bulb to terminal 1 and a negative (-) lead to terminal 2 of the solenoid valve connector. Check that the valve moves and makes an operating sound.

OK:

Valve moves and makes an operating sound.

OK

REPAIR OR REPLACE TRANSMISSION WIRE

NG

REPLACE SOLENOID (SL1) VALVE

READ NEXT:

 Pressure Control Solenoid "A" Circuit Short to Ground or Open (P074514)

DESCRIPTION Refer to DTC P074512. Click here DTC No. Detection Item DTC Detection Condition Trouble Area MIL Memory Note P074514 Pressure Control Solenoid "A" Circuit Short to G

 Pressure Control Solenoid "B" Circuit Short to Battery (P077512)

DESCRIPTION Changing gears is performed by the ECM turning the solenoid (SL1, SL2, SL3, SL4, SL5 and SL6) valves on and off. If an open or short occurs in any of the solenoid valve circuits, the ECM c

 Pressure Control Solenoid "B" Circuit Short to Ground or Open (P077514)

DESCRIPTION Refer to DTC P077512. Click here DTC No. Detection Item DTC Detection Condition Trouble Area MIL Memory Note P077514 Pressure Control Solenoid "B" Circuit Short to G

SEE MORE:

 Hybrid/EV Battery Sensor Module Internal Electronic Failure (P0AFC49)

DTC SUMMARY MALFUNCTION DESCRIPTION When the hybrid control system is activated, the hybrid vehicle control ECU checks the power supply voltage of the battery voltage sensor and detects malfunction. The cause of this malfunction may be one of the following: Battery voltage sensor internal malfuncti

 Data List / Active Test

DATA LIST / ACTIVE TEST ACTIVE TEST HINT: Using the Techstream to perform Active Tests allows relays, VSVs, actuators and other items to be operated without removing any parts. This non-intrusive functional inspection can be very useful because intermittent operation may be discovered before parts o

© 2016-2026 Copyright www.lexguide.net