Lexus ES manuals

Lexus ES: Operation Check

OPERATION CHECK

SELF-DIAGNOSIS SYSTEM

(a) When a malfunction occurs in the parking support alert system or the system cannot be used, a warning is displayed on the multi-information display, each indicator blinks or is illuminated, and the meter buzzer sounds to inform the driver that the system is unavailable.

Warning Item

Multi-information Display

Indicator/Meter Buzzer Condition

Static objects function malfunction

Parking Assist Malfunction Visit Your Dealer

  • Clearance sonar OFF indicator: Blinks
  • Master warning indicator: Illuminates
  • Meter buzzer: Sounds

Ultrasonic sensor dirty, frozen or open circuit

Parking Assist Unavailable Clean Parking Assist Sensor

  • Clearance sonar OFF indicator: Blinks
  • Master warning indicator: Illuminates
  • Meter buzzer: Sounds

Parking support alert communication malfunction

Parking Assist Unavailable

  • Clearance sonar OFF indicator: Blinks
  • Master warning indicator: Illuminates
  • Meter buzzer: Sounds

Rear crossing vehicles function malfunction

CHECK RCTA SYSTEM

  • RCTA OFF indicator: Blinks
  • Master warning indicator: Illuminates
  • Meter buzzer: Sounds

Dirt, ice, snow or mud on blind spot monitor sensor

RCTA NOT AVAILABLE

  • RCTA OFF indicator: Blinks
  • Master warning indicator: Illuminates
  • Meter buzzer: Sounds

Rear pedestrians function malfunction

Rear Camera Detection Malfunction Visit Your Dealer

  • RCD OFF indicator: Blinks
  • Master warning indicator: Illuminates
  • Meter buzzer: Sounds

Rear pedestrians function cannot be used temporarily

Rear Camera Detection Unavailable

  • RCD OFF indicator: Blinks
  • Meter buzzer: Sounds

Dirt on television camera assembly

Rear Camera Detection Unavailable Remove the Dirt of Rear Camera

  • RCD OFF indicator: Blinks
  • Master warning indicator: Illuminates
  • Meter buzzer: Sounds

DETECTION RANGE MEASUREMENT AND DISPLAY INSPECTION

NOTICE:

The following measurement and inspection will be performed with the shift lever in a position other than P. Be sure to apply the parking lever and depress the brake pedal firmly to prevent the vehicle from moving.

(a) Turn the power switch on (IG).

(b) Turn the static objects function is on.

(c) Detection range measurement:

(1) Move the shift lever according to the table below.

Measurement Area

Shift Lever Position

Front Corner Sensor (front corner ultrasonic sensor)

In any position other than P

Front Center Sensor (front center ultrasonic sensor)

In any position other than P or R

Rear Corner Sensor (rear corner ultrasonic sensor)

R

Rear Center Sensor (rear center ultrasonic sensor)

(2) Move a 60 mm (2.4 in.) diameter pole near each sensor to measure its detection range. When measuring the longest-range detection of a front center sensor or rear center sensor, use a wall or equivalent.

NOTICE:

These detection ranges are applicable when the 60 mm (2.4 in.) diameter pole is positioned parallel or perpendicular to the ground. The detection range varies depending on the measuring method and type of obstacle (such as walls).

HINT:

Have an assistant move the pole.

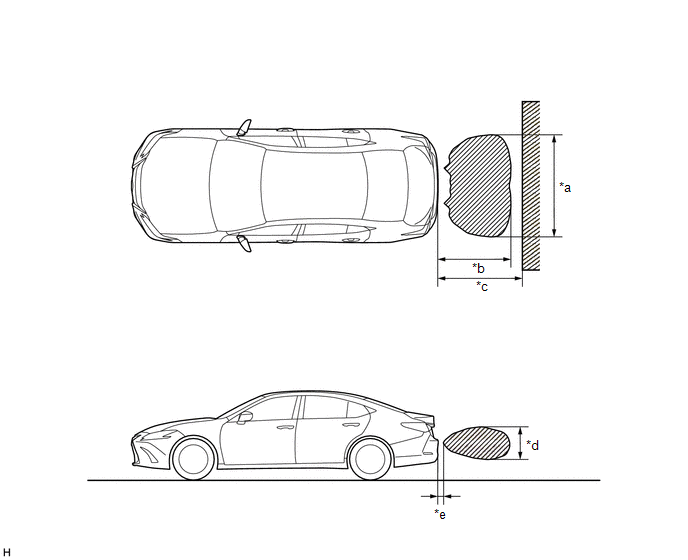
Front Corner Sensor and Rear Corner Sensor Detection Range

*a

Approximately 800 mm (31.5 in.)

*b

Approximately 450 mm (17.7 in.)

*c

Approximately 860 mm (33.9 in.)

*d

Approximately 500 mm (19.7 in.)

*e

Approximately 400 mm (15.7 in.)

*f

Approximately 150 mm (5.91 in.)

*g

Approximately 150 mm (5.91 in.)

*h

Approximately 400 mm (15.7 in.)

NOTICE:

The front corner sensor and rear corner sensor side view detection range (hatched area labeled (B)) represents the cross section of the top view detection range (A). The hatched area (B) does not represent the entire side view detection range.

Front Center Sensor Detection Range

*a

Approximately 1850 mm (72.8 in.)

*b

Approximately 900 mm (35.4 in.)

*c

Approximately 100 mm (3.94 in.)

*d

Approximately 450 mm (17.7 in.)

*e

Approximately 100 mm (3.94 in.)

-

-

Rear Center Sensor Detection Range

*a

Approximately 1850 mm (72.8 in.)

*b

Approximately 1100 mm (43.3 in.)

*c

Approximately 1500 mm (59.1 in.)

*d

Approximately 450 mm (17.7 in.)

*e

Approximately 150 mm (5.91 in.)

-

-

(d) Front corner sensor display and buzzer operation check

(1) When a front corner ultrasonic sensor (front corner sensor) has detected an obstacle, check the displays and that the buzzer sounds.

Operation Condition

Engine States

Static Objects Function

Shift Lever Position

Vehicle Speed*

*: When the shift lever is R, the system operates at any vehicle speed.

Running

On

In any position other than P

  • Less than approximately 15 km/h (9 mph) if speed is increasing
  • Less than approximately 10 km/h (6 mph) if speed is decreasing
Multi-display Assembly Icon (w/o Panoramic View Monitor System) Multi-display Assembly Icon (w/ Panoramic View Monitor System) Cornering View and Side Clearance View Icon (for 12.3 inch display w/ Panoramic View Monitor System)

*A

Example

-

-

*a

Panoramic View and Cornering View Display

*b

Panoramic View and Side Clearance View Display

*1

Closest-range

*2

Close-range

*3

Medium-range

*4

Long-range

Headup display and Combination Meter Assembly

Standard:

Multi-display, Combination meter assembly, Headup display (w/ Headup Display System) and Buzzer

Detection Range

During Judgment

Obstacle

Closest-range detection

Approximately 150 +/- 40 mm (5.91 +/- 1.57 in.) or less

Buzzer: Sounds continuously

Color of bars displayed: Red (blinking)

60 mm (2.4 in.) diameter pole

Close-range detection

Approximately 300 +/- 40 to 150 +/- 40 mm (11.8 +/-1.57 to 5.91 +/- 1.57 in.)

Buzzer: Sounds continuously

Color of bars displayed: Red (blinking)

60 mm (2.4 in.) diameter pole

Medium-range detection

Approximately 450 +/- 50 to 300 +/- 40 mm (17.7 +/- 1.97 to 11.8 +/- 1.57 in.)

Buzzer: Sounds intermittently (ON: 0.1 seconds / OFF: 0.1 seconds)

Color of bars displayed: Yellow (Illuminated)

60 mm (2.4 in.) diameter pole

Long-range detection

Approximately 650 +/- 60 to 450 +/- 50 mm (25.6 +/- 2.36 to 17.7 +/- 1.97 in.)

Buzzer: Sounds intermittently (ON: 0.2 seconds / OFF: 0.2 seconds)

Color of bars displayed: Yellow (Illuminated)

60 mm (2.4 in.) diameter pole

HINT:

Ultrasonic waves are used to measure the detection range; however, the detection range may vary depending on the ambient temperature.

(e) Front center sensor display and buzzer operation check

(1) When a front center ultrasonic sensor (front center sensor) has detected an obstacle, check the display and that the buzzers sounds.

Operation Condition

Engine States

Static Objects Function

Shift Lever Position

Vehicle Speed

Running

On

In any position other than P or R

Less than approximately 10 km/h (6 mph) if speed is increasing

Multi-display Assembly Icon (for 12.3 inch display w/o Panoramic View Monitor System) Multi-display Assembly Icon (w/ Panoramic View Monitor System) Cornering View and Side Clearance View Icon (for 12.3 inch display w/ Panoramic View Monitor System)

*A

Example

-

-

*a

Panoramic View and Cornering View Display

*b

Panoramic View and Side Clearance View Display

*1

Closest-range

*2

Close-range

*3

Medium-range

*4

Long-range

*5

Longest-range

-

-

Headup display and Combination Meter Assembly

Standard:

Multi-display, Combination meter assembly, Headup display (w/ Headup Display System) and Buzzer

Detection Range

During Judgment

Obstacle

Closest-range detection

Approximately 150 +/- 40 mm (5.91 +/- 1.57 in.) or less

Buzzer: Sounds continuously

Color of bars displayed: Red (blinking)

60 mm (2.4 in.) diameter pole

Close-range detection

Approximately 300 +/- 40 to 150 +/- 40 mm (11.8 +/-1.57 to 5.91 +/- 1.57 in.)

Buzzer: Sounds continuously

Color of bars displayed: Red (blinking)

60 mm (2.4 in.) diameter pole

Medium-range detection

Approximately 450 +/- 50 to 300 +/- 40 mm (17.7 +/- 1.97 to 11.8 +/- 1.57 in.)

Buzzer: Sounds intermittently (ON: 0.1 seconds / OFF: 0.1 seconds)

Color of bars displayed: Yellow (Illuminated)

60 mm (2.4 in.) diameter pole

Long-range detection

Approximately 650 +/- 60 to 450 +/- 50 mm (25.6 +/- 2.36 to 17.7 +/- 1.97 in.)

Buzzer: Sounds intermittently (ON: 0.2 seconds / OFF: 0.2 seconds)

Color of bars displayed: Yellow (Illuminated)

60 mm (2.4 in.) diameter pole

Longest-range detection

Approximately 1000 +/- 110 to 650 +/- 60 mm (39.4 +/- 4.33 to 25.6 +/- 2.36 in.)

Buzzer: Sounds intermittently (ON: 0.2 seconds / OFF: 0.5 seconds)

Color of bars displayed: Yellow (Illuminated)

Wall

HINT:

Ultrasonic waves are used to measure the detection range; however, the detection range may vary depending on the ambient temperature.

(f) Rear corner sensor display and buzzer operation check

(1) When a rear corner ultrasonic sensor (rear corner sensor) has detected an obstacle, check the displays and that the buzzer sounds.

Operation Condition

Engine States

Static Objects Function

Shift Lever Position

Vehicle Speed

Running

On

R

Less than approximately 10 km/h (6 mph) if speed is increasing

Multi-display Assembly Icon (w/o Panoramic View Monitor System) Multi-display Assembly Icon (w/ Panoramic View Monitor System) Headup display and Combination Meter Assembly

Standard:

Multi-display, Combination meter assembly, Headup display (w/ Headup Display System) and Buzzer

Detection Range

During Judgment

Obstacle

Closest-range detection

Approximately 150 +/- 40 mm (5.91 +/- 1.57 in.) or less

Buzzer: Sounds continuously

Color of bars displayed: Red (blinking)

60 mm (2.4 in.) diameter pole

Close-range detection

Approximately 300 +/- 40 to 150 +/- 40 mm (11.8 +/-1.57 to 5.91 +/- 1.57 in.)

Buzzer: Sounds continuously

Color of bars displayed: Red (blinking)

60 mm (2.4 in.) diameter pole

Medium-range detection

Approximately 450 +/- 50 to 300 +/- 40 mm (17.7 +/- 1.97 to 11.8 +/- 1.57 in.)

Buzzer: Sounds intermittently (ON: 0.1 seconds / OFF: 0.1 seconds)

Color of bars displayed: Yellow (Illuminated)

60 mm (2.4 in.) diameter pole

Long-range detection

Approximately 650 +/- 60 to 450 +/- 50 mm (25.6 +/- 2.36 to 17.7 +/- 1.97 in.)

Buzzer: Sounds intermittently (ON: 0.2 seconds / OFF: 0.2 seconds)

Color of bars displayed: Yellow (Illuminated)

60 mm (2.4 in.) diameter pole

HINT:

Ultrasonic waves are used to measure the detection range; however, the detection range may vary depending on the ambient temperature.

(g) Rear center sensor display and buzzer operation check

(1) When a rear center ultrasonic sensor (rear center sensor) has detected an obstacle, the displays and that the buzzer sounds.

Operation Condition

Engine States

Static Objects Function

Shift Lever Position

Vehicle Speed

Running

On

R

Less than approximately 10 km/h (6 mph) if speed is increasing

Multi-display Assembly Icon (w/o Panoramic View Monitor System) Multi-display Assembly Icon (w/ Panoramic View Monitor System) Headup display and Combination Meter Assembly

Standard:

Multi-display, Combination meter assembly, Headup display (w/ Headup Display System) and Buzzer

Detection Range

During Judgment

Obstacle

Closest-range detection

Approximately 150 +/- 40 mm (5.91 +/- 1.57 in.) or less

Buzzer: Sounds continuously

Color of bars displayed: Red (blinking)

60 mm (2.4 in.) diameter pole

Close-range detection

Approximately 300 +/- 40 to 150 +/- 40 mm (11.8 +/-1.57 to 5.91 +/- 1.57 in.)

Buzzer: Sounds continuously

Color of bars displayed: Red (blinking)

60 mm (2.4 in.) diameter pole

Medium-range detection

Approximately 450 +/- 50 to 300 +/- 40 mm (17.7 +/- 1.97 to 11.8 +/- 1.57 in.)

Buzzer: Sounds intermittently (ON: 0.1 seconds / OFF: 0.1 seconds)

Color of bars displayed: Yellow (Illuminated)

60 mm (2.4 in.) diameter pole

Long-range detection

Approximately 650 +/- 60 to 450 +/- 50 mm (25.6 +/- 2.36 to 17.7 +/- 1.97 in.)

Buzzer: Sounds intermittently (ON: 0.2 seconds / OFF: 0.2 seconds)

Color of bars displayed: Yellow (Illuminated)

60 mm (2.4 in.) diameter pole

Longest-range detection

Approximately 1500 +/- 110 to 650 +/- 60 mm (59.1 +/- 4.33 to 25.6 +/- 2.36 in.)

Buzzer: Sounds intermittently (ON: 0.2 seconds / OFF: 0.5 seconds)

Color of bars displayed: Yellow (Illuminated)

Wall

HINT:

Ultrasonic waves are used to measure the detection range; however, the detection range may vary depending on the ambient temperature.

READ NEXT:

 Parts Location

PARTS LOCATION ILLUSTRATION *1 FRONT CORNER ULTRASONIC SENSOR RH *2 FRONT CENTER ULTRASONIC SENSOR RH *3 FRONT CENTER ULTRASONIC SENSOR LH *4 FRONT CORNER ULTRASONIC SENSOR LH

 Precaution

PRECAUTION PRECAUTION FOR DISCONNECTING CABLE FROM NEGATIVE AUXILIARY BATTERY TERMINAL NOTICE: When disconnecting the cable from the negative (-) auxiliary battery terminal, initialize the following s

 Problem Symptoms Table

PROBLEM SYMPTOMS TABLE HINT: Use the table below to help determine the cause of problem symptoms. If multiple suspected areas are listed, the potential causes of the symptoms are listed in order of

SEE MORE:

 Pressure Control Solenoid "C" Circuit Short to Battery (P079512)

DESCRIPTION Changing gears is performed by the ECM turning the solenoid (SL1, SL2, SL3, SL4, SL5 and SL6) valves on and off. If an open or short occurs in any of the solenoid valve circuits, the ECM controls the remaining normal solenoid valves to allow the vehicle to be driven. If all of the soleno

 Power Retractable Mirrors do not Operate with Power Retract Mirror Switch

DESCRIPTION The outer mirror switch assembly sends the retractable outer mirror switch signal to the main body ECU (multiplex network body ECU). The main body ECU (multiplex network body ECU) then sends the mirror retract/return signal to each outer mirror control ECU assembly via CAN communication.

© 2016-2026 Copyright www.lexguide.net