Lexus ES manuals

Lexus ES: Installation

INSTALLATION

CAUTION / NOTICE / HINT

NOTICE:

When replacing the windshield glass of a vehicle equipped with a forward recognition camera, make sure to use a Lexus genuine part. If a non-Lexus genuine part is used, the forward recognition camera may not be able to be installed due to a missing bracket. Also, the dynamic radar cruise control system, front camera system, lane control system, road sign assist system, pre-collision system or lighting system (EXT) may not operate properly due to a difference in the transmissivity or black ceramic border.

PROCEDURE

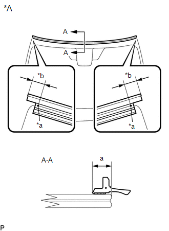
1. INSTALL NO. 1 WINDSHIELD GLASS STOPPER (for 2-piece Type)

(a) Install 2 new No. 1 windshield glass stoppers to the vehicle body as shown in the illustration.

HINT:

Only 2-piece type windshield glass stoppers are provided as supply parts. Use 2-piece type stoppers as replacements even if 1-piece type stoppers were originally installed.

2. INSTALL NO. 2 WINDSHIELD GLASS STOPPER (for 2-piece Type)

(a) Using a brush or sponge, coat the installation area of 2 new No. 2 windshield glass stoppers with glass primer.

NOTICE:

  • Do not apply too much glass primer.
  • Allow the glass primer to dry for 3 minutes or more.
  • Throw away any leftover glass primer.

HINT:

If an area other than specified is coated by accident, wipe off the glass primer with a clean piece of cloth before it dries.

(b) Install the 2 new No. 2 windshield glass stoppers to the windshield glass as shown in the illustration.

Standard Dimension:

Area

Dimension

a

13.7 to 14.7 mm (0.539 to 0.579 in.)

HINT:

Only 2-piece type windshield glass stoppers are provided as supply parts. Use 2-piece type stoppers as replacements even if 1-piece type stoppers were originally installed.

*A

Back Side

*a

Ceramic Notch

*b

Windshield Glass Edge Side

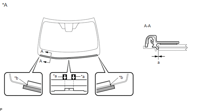
3. INSTALL WINDSHIELD OUTSIDE MOULDING

(a) Using a brush or sponge, coat the installation area of a new windshield outside moulding with glass primer.

NOTICE:

  • Do not apply too much glass primer.
  • Allow the glass primer to dry for 3 minutes or more.
  • Throw away any leftover glass primer.

HINT:

If an area other than specified is coated by accident, wipe off the glass primer with a clean piece of cloth before it dries.

(b) Install the new windshield outside moulding to the windshield glass as shown in the illustration.

Standard Dimension:

Area

Dimension

a

6.65 mm (0.262 in.)

*A

Back Side

*a

Edge Of Curved Surface

*b

Same Length

4. INSTALL WINDOW GLASS ADHESIVE DAM

(a) Cut a new window glass adhesive dam so that it is the appropriate size as shown in the illustration.

Standard Dimension:

Area

Dimension

a

300.1 to 300.5 cm (9.84 to 9.86 ft.)

*a

Cut

(b) Using a brush or sponge, coat the installation area of a new window glass adhesive dam with glass primer.

NOTICE:

  • Do not apply too much glass primer.
  • Allow the glass primer to dry for 3 minutes or more.
  • Throw away any leftover glass primer.

HINT:

If an area other than specified is coated by accident, wipe off the glass primer with a clean piece of cloth before it dries.

(c) Install the new window glass adhesive dam to the windshield glass as shown in the illustration.

*A

Back Side

-

-

*a

Ceramic Notch

*b

Window Glass Adhesive Dam Positioning Center

5. INSTALL FRONT WINDOW INNER CENTER MOULDING

HINT:

Perform the following procedure only when replacement of the front window inner center moulding is necessary.

(a) Using a brush or sponge, coat the installation area of a new front window inner center moulding with glass primer.

Standard Dimension:

Area

Dimension

a

17.2 to 17.8 mm (0.677 to 0.701 in.)

NOTICE:

  • Do not apply too much glass primer.
  • Allow the glass primer to dry for 3 minutes or more.
  • Throw away any leftover glass primer.

HINT:

If an area other than specified is coated by accident, wipe off the glass primer with a clean piece of cloth before it dries.

*A

Back Side

Glass Primer

(b) Install the new front window inner center moulding to the windshield glass as shown in the illustration.

*A

Back Side

-

-

*a

Matchmark

*b

Ceramic Notch

Standard Dimension:

Area

Dimension

a

0.6 mm (0.0236 in.)

NOTICE:

Do not damage the front window inner center moulding.

(c) Remove the matchmarks.

6. INSTALL WINDSHIELD GLASS SUB-ASSEMBLY

(a) Position the windshield glass sub-assembly.

(1) Using suction cups, place the windshield glass sub-assembly in the correct position.

(2) Check that the whole contact surface of the windshield glass sub-assembly rim is perfectly even.

(3) Align the matchmarks on the windshield glass sub-assembly and vehicle body.

NOTICE:

Check that the windshield glass stoppers are engaged to the vehicle body correctly.

(4) Remove the windshield glass sub-assembly.

*a

Matchmark

(b) Using a brush, coat the installation surface on the vehicle body with body primer.

NOTICE:

  • Do not coat the adhesive with body primer.
  • Do not apply too much body primer.
  • Allow the body primer to dry for 3 minutes or more.
  • Throw away any leftover body primer.

HINT:

If an area other than specified is coated by accident, wipe off the body primer with a clean piece of cloth before it dries.

(c) Using a brush or sponge, coat the adhesive application area with glass primer.

*A

Back Side

-

-

*a

Adhesive Application Area

*b

Ceramic Notch

Glass Primer

-

-

Standard Dimension:

Area

Dimension

a

8.0 mm (0.315 in.) or more

b

8.0 mm (0.315 in.) or more

NOTICE:

  • Do not apply too much glass primer.
  • Allow the glass primer to dry for 3 minutes or more.
  • Throw away any leftover glass primer.

HINT:

  • Apply glass primer to the ceramic notches.
  • If an area other than specified is coated by accident, wipe off the glass primer with a clean piece of cloth before it dries.

(d) Apply adhesive to the windshield glass sub-assembly.

Adhesive:

Toyota Genuine Windshield Glass Adhesive (High modulus type) or equivalent

(1) Cut off the tip of the cartridge nozzle as shown in the illustration.

Standard Dimension:

Area

Dimension

a

12.0 to 15.0 mm (0.472 to 0.591 in.)

b

8.0 to 11.0 mm (0.315 to 0.433 in.)

*a

Nozzle

(2) Load the sealer gun with the cartridge.

(3) Apply adhesive to the windshield glass sub-assembly as shown in the illustration.

*A

Back Side

-

-

*a

Adhesive Positioning Center

*b

Ceramic Notch

Adhesive

-

-

Standard Dimension:

Area

Dimension

a

9.5 mm (0.374 in.)

b

9.5 mm (0.374 in.)

c

3.0 mm (0.118 in.)

d

6.5 mm (0.256 in.)

HINT:

Apply adhesive to the ceramic notches.

(e) Install the windshield glass sub-assembly.

(1) Using suction cups, position the windshield glass sub-assembly so that the matchmarks are aligned, and press it in gently along the rim.

NOTICE:

  • Check that the windshield glass stoppers are engaged to the vehicle body correctly.
  • Check the clearance between the vehicle body and windshield glass sub-assembly.

(2) Lightly press the outer surface of the windshield glass sub-assembly to ensure that the windshield glass sub-assembly is securely fit to the vehicle body.

HINT:

Press the glass with a force of 98 N (10 kgf, 22.0 lbf) or more.

(3) Using a scraper, remove any excess or protruding adhesive.

(4) Hold the windshield glass sub-assembly using protective tape until the applied adhesive becomes hard.

HINT:

Follow the instructions supplied by the adhesive manufacturer or in the corresponding instruction manual for the minimum amount of time necessary to wait before driving the vehicle.

*a

Matchmark

(f) When replacing the windshield glass sub-assembly or front window inner center moulding with a new one:

(1) Remove the 2 protective retainers from the front window inner center moulding.

NOTICE:

Do not damage the front window inner center moulding.

HINT:

Make sure to remove the protective retainers.

(g) w/ Windshield Deicer System:

(1) Connect the connector.

7. INSPECT FOR LEAK

(a) After the adhesive has hardened, apply water from the outside of the vehicle. Check that no water leaks into the cabin.

(b) If water leaks into the cabin, allow the water to dry and add adhesive.

(c) Remove the protective tape.

8. INSTALL ROOF HEADLINING ASSEMBLY

Click here

9. INSTALL AIR CONDITIONING THERMISTOR ASSEMBLY

Click here

10. INSTALL FORWARD RECOGNITION CAMERA

Click here

11. INSTALL INNER REAR VIEW MIRROR ASSEMBLY

Click here

12. INSTALL COWL TOP VENTILATOR LOUVER SUB-ASSEMBLY

Click here

13. INSTALL NO. 3 COWL TOP PANEL INSULATOR

Click here

14. INSTALL NO. 2 COWL TOP PANEL INSULATOR

Click here

15. INSTALL FRONT WIPER ARM AND BLADE ASSEMBLY RH

Click here

16. INSTALL FRONT WIPER ARM AND BLADE ASSEMBLY LH

Click here

17. INSTALL FRONT WIPER ARM HEAD CAP

Click here

18. INSTALL WINDSHIELD OUTSIDE MOULDING LH

Click here

19. INSTALL WINDSHIELD OUTSIDE MOULDING RH

HINT:

Use the same procedure as for the LH side.

READ NEXT:

 Wiper / Washer

 Front Wiper Motor

 Components

COMPONENTS ILLUSTRATION *1 COWL TOP VENTILATOR LOUVER SUB-ASSEMBLY *2 FRONT WIPER ARM AND BLADE ASSEMBLY LH *3 FRONT WIPER ARM AND BLADE ASSEMBLY RH *4 FRONT WIPER ARM HEAD CAP

SEE MORE:

 Transmission Fluid Temperature Sensor "A" Circuit Range/Performance (P071000)

DESCRIPTION The ATF temperature sensor converts the automatic transaxle fluid (ATF) temperature into a resistance value for use by the ECM. The ECM applies a voltage to the temperature sensor through terminal THO1 of the ECM. The sensor resistance changes with the ATF temperature. As the temperature

 Evaporative Emission System Incorrect Purge Flow Actuator Stuck On (P04417E,P04417F,P04419C)

DTC SUMMARY DTC No. Detection Item DTC Detection Condition Trouble Area MIL Memory Note P04417E Evaporative Emission System Incorrect Purge Flow Actuator Stuck On Leak detection pump creates negative pressure (vacuum) in EVAP system and EVAP system pressure measured. Reference

© 2016-2025 Copyright www.lexguide.net