Lexus ES manuals

Lexus ES: Engine Difficult to Start

DESCRIPTION

Problem Symptom

Suspected Area

Trouble Area

  • Engine speed fluctuation due to abnormal combustion
  • Idle speed too low or high

Strong engine vibration due to above symptoms

  • Ignition malfunction
  • Deviation in air fuel ratio (Excessive or insufficient intake air volume or fuel supply)
  • Insufficient compression
  • Changes in load from another system

Ignition system

  • Spark plug
  • Ignition coil assembly

Fuel system

  • Direct fuel injector assembly
  • Port fuel injector assembly
  • Fuel pump assembly (for high pressure side)
  • Fuel pump (for low pressure side)
  • Fuel pump control circuit
  • Fuel suction plate sub-assembly
  • Fuel line
  • Fuel main valve assembly
  • Purge VSV system
  • Fuel quality (existence of foreign matter, degradation)

Intake and exhaust systems

  • Mass air flow meter sub-assembly
  • Intake system

    (Air leaks or deposit accumulation)

  • Throttle body with motor assembly
  • Air fuel ratio sensor
  • Heated oxygen sensor
  • Cam timing oil control solenoid assembly
  • Camshaft timing oil control valve assembly
  • Variable Valve Timing system (VVT-i, VVT-iW system)

Other control systems

  • ECM
  • Wire harness or connector
  • Knock control sensor
  • Engine coolant temperature sensor

Engine

  • Water inlet with thermostat sub-assembly
  • Engine assembly

High load from another system

  • Air conditioning system
  • Power steering system
  • Electrical load signal system
  • A/T system

HINT:

  • If any other DTCs are output, perform troubleshooting for those DTCs first.
  • Make sure to reproduce the conditions present when the malfunction occurred.
  • Using the Techstream, read the Data List to confirm the engine operating conditions. This information can be useful when troubleshooting.
  • If the problem symptoms do not recur, attempt to reproduce the symptoms and conditions when the malfunction occurred based on the result of the customer problem analysis. Place the priority on confirming the symptoms.

SYMPTOM AND CAUSE OF SYSTEM MALFUNCTION

HINT:

The following are descriptions of the characteristics of each system malfunction. After understanding the link between the causes and symptoms, perform the inspection of each component. Even if the problem symptom does not recur, signs of the malfunction may be found in the Data List.

(a) Ignition system

Spark plug

Main cause of malfunction

Performance degradation (wear, existence of foreign matter, etc.)

Symptom

Engine speed fluctuation due to abnormal combustion

Data List

Misfire Count Cylinder #1 to #6

HINT:

If the spark plug of the malfunctioning cylinder is abnormally wet with fuel, a leaking fuel injector assembly is suspected.

Ignition coil assembly

Main cause of malfunction

Internal malfunction

Problem symptom

Engine speed fluctuation due to abnormal combustion

Data List

Misfire Count Cylinder #1 to #6

(b) Fuel system

Fuel injector assembly

Main cause of malfunction

Blockage, leak

Problem symptom

  • Engine speed fluctuation due to abnormal combustion
  • Idle speed too low or high
  • Engine is difficult to start due to high concentration of HC

Data List

  • Short FT B1S1, B2S1
  • Long FT B1S1, B2S1
  • Fuel System Status Bank 1, Bank 2
  • Target Air-Fuel Ratio
  • A/F (O2) Lambda Sensor B1S1, B2S1
  • A/F Learn Value Idle (Port) Bank 1, Bank 2
  • A/F Learn Value Low (Port) Bank 1, Bank 2
  • A/F Learn Value Mid No.1 (Port) Bank 1, Bank 2
  • A/F Learn Value Mid No.2 (Port) Bank 1, Bank 2
  • A/F Learn Value High (Port) Bank 1, Bank 2
  • A/F Learn Value Idle Bank 1, Bank 2
  • A/F Learn Value Low Bank 1, Bank 2
  • A/F Learn Value Mid No.1 Bank 1, Bank 2
  • A/F Learn Value Mid No.2 Bank 1, Bank 2
  • A/F Learn Value High Bank 1, Bank 2
  • A/F Learn Value Low (Dual/Port) Bank 1
  • A/F Learn Value Mid (Dual/Port) No.1 Bank 1
  • A/F Learn Value Mid (Dual/Port) No.2 Bank 1
  • A/F Learn Value High (Dual/Port) Bank 1
  • A/F Learn Value Low (Dual) Bank 2
  • A/F Learn Value Mid (Dual) No.1 Bank 2
  • A/F Learn Value Mid (Dual) No.2 Bank 2
  • A/F Learn Value High (Dual) Bank 2
  • Total FT Bank 1, Bank 2

HINT:

  • If the engine malfunction disappears when the fuel injection volume is increased or decreased using the "Control the Injection Volume", the respective cylinder may be malfunctioning.
  • If the engine is difficult to start only when the vehicle has been left as is for a long time, a leaking fuel injector assembly is suspected.
Fuel system

Main cause of malfunction

Fuel suction plate sub-assembly or fuel main valve assembly malfunction

Problem symptom

Engine is difficult to start due to insufficient fuel supply

HINT:

  • If the fuel suction plate sub-assembly or fuel main valve assembly cannot maintain residual pressure, fuel vaporization or air intrusion may occur, causing starting difficulty.
  • If the air fuel ratio becomes lean only when the engine is running under a high load and at a high engine speed, clogging of the fuel pump or fuel filter is suspected.
Fuel quality

Main cause of malfunction

  • Fuel degradation due to age or water contamination
  • Low fuel quality
  • Addition of fuel additive

Problem symptom

  • Engine speed fluctuation due to abnormal combustion
  • Idle speed too low or high
  • Engine is difficult to start

(c) Intake and exhaust systems

Mass air flow meter sub-assembly

Main cause of malfunction

Performance degradation (existence of foreign matter, etc.)

Problem symptom

Lack of power

Data List

Mass Air Flow Sensor

HINT:

If the value of the Data List item "Mass Air Flow Sensor" is abnormal, a malfunction of the mass air flow meter sub-assembly is suspected.

Throttle system

Main cause of malfunction

Inappropriate trim volume adjustment due to accumulation of deposits

Problem symptom

  • Engine speed fluctuation due to abnormal combustion
  • Idle speed too low or high

Data List

  • Engine Stall Control F/B Flow
  • ISC F/B Learn Torque
  • ISC Total AUXS Torque
  • ISC F/B Torque
  • Sum of ISC F/B Torque (Recent)
  • ISC AUXS Torque (Alternator)
  • ISC AUXS Torque (Air Conditioner)
  • Throttle Air Flow F/B Value
Air fuel ratio sensor, Heated oxygen sensor

Main cause of malfunction

Deviation in sensor characteristics

Problem symptom

Abnormal combustion due to deviation of actual air fuel ratio from calculated ratio

Data List

  • A/F (O2) Sensor Voltage B1S1, B2S1
  • O2 Sensor Voltage B1S2, B2S2
  • Fuel System Status Bank 1, Bank 2

(d) Engine

Engine assembly

Main cause of malfunction

  • Compression loss
  • Accumulation of deposits

    (Combustion chamber, intake valve or intake manifold)

Problem symptom

  • Engine speed fluctuation due to abnormal combustion
  • Idle speed too low or high
  • Hesitation during acceleration or stalling

HINT:

  • If deposits have accumulated in the combustion chamber or on an intake valve, the engine may stall when deposits are caught on an intake valve.
  • When performing the Active Test "Check the Cylinder Compression", if the speed of one cylinder is higher than the others, the cylinder may have a compression loss.
  • If deposits accumulate on the intake valves, the supply of fuel may be delayed due to adherence of the fuel to the deposits, causing a rough idle.

Data List Items Related to Engine Difficult to Start

HINT:

Depending on the vehicle model, the applicable Data List items may vary. Data List items other than the ones used in the diagnostic procedure are for reference only.

  • Engine Stall Control F/B Flow
  • ISC F/B Learn Torque
  • ISC Total AUXS Torque
  • ISC F/B Torque
  • Sum of ISC F/B Torque (Recent)
  • ISC AUXS Torque (Alternator)
  • ISC AUXS Torque (Air Conditioner)
  • Throttle Air Flow F/B Value
  • Short FT B1S1, B2S1
  • Long FT B1S1, B2S1
  • Fuel System Status Bank 1, Bank 2
  • Target Air-Fuel Ratio
  • A/F (O2) Lambda Sensor B1S1, B2S1
  • A/F Learn Value Idle (Port) Bank 1, Bank 2
  • A/F Learn Value Low (Port) Bank 1, Bank 2
  • A/F Learn Value Mid No.1 (Port) Bank 1, Bank 2
  • A/F Learn Value Mid No.2 (Port) Bank 1, Bank 2
  • A/F Learn Value High (Port) Bank 1, Bank 2
  • A/F Learn Value Idle Bank 1, Bank 2
  • A/F Learn Value Low Bank 1, Bank 2
  • A/F Learn Value Mid No.1 Bank 1, Bank 2
  • A/F Learn Value Mid No.2 Bank 1, Bank 2
  • A/F Learn Value High Bank 1, Bank 2
  • A/F Learn Value Low (Dual/Port) Bank 1
  • A/F Learn Value Mid (Dual/Port) No.1 Bank 1
  • A/F Learn Value Mid (Dual/Port) No.2 Bank 1
  • A/F Learn Value High (Dual/Port) Bank 1
  • A/F Learn Value Low (Dual) Bank 2
  • A/F Learn Value Mid (Dual) Bank 2
  • A/F Learn Value Mid (Dual) No.2 Bank 2
  • A/F Learn Value High (Dual) Bank 2
  • Total FT Bank 1, Bank 2
  • Fuel Pressure (High)
  • Fuel Pressure (Low) / Fuel Pressure 2
  • High Pressure Fuel Pump Duty Ratio (D4)
  • Target Fuel Pressure (High)
  • Target Fuel Pressure (Low) / Fuel Pressure 2
  • High Pressure Fuel Pump Discharge Rate
  • Mass Air Flow Sensor
  • Misfire Count Cylinder #1 to #6
  • A/F (O2) Sensor Voltage B1S1, B2S1
  • O2 Sensor Voltage B1S2, B2S2

PROCEDURE

1.

INTERVIEW THE CUSTOMER

(a) Interview the customer for details about the conditions when the engine was difficult to start.

HINT:

Depending on the conditions when the starting difficulty occurred, a malfunction in one of the following areas is suspected.

Problem Symptom

Suspected Area

Engine speed recorded in freeze frame data is 0 rpm (engine does not crank)

Battery depletion, excessive engine friction, starter malfunction or crankshaft position sensor malfunction

Engine speed recorded in freeze frame data is between 100 and 500 rpm (engine cranks but combustion does not occur, initial combustion delays or combustion occurs late)

Wire harness, ignition system or fuel system malfunction

Engine speed recorded in freeze frame data is 500 rpm or higher (combustion occurs but engine speed drops immediately)

  • Improper fuel injection volume (too low or too high)
  • If Long FT B1S1 (B2S1) is out of specified range: insufficient fuel supply due to clogging of injectors or fuel pump
  • If engine cranking speed is high: compression loss due to deposits caught on valves
NEXT

2.

CHECK DTC OUTPUT

(a) Connect the Techstream to the DLC3.

(b) Turn the engine switch on (IG).

(c) Turn the Techstream on.

(d) Perform a road test.

(e) Enter the following menus: Powertrain / Engine / Trouble Codes.

Powertrain > Engine > Trouble Codes

(f) Read the DTCs.

Result

Proceed to

DTCs are not output

A

DTC is output

(DTCs other than P160300, P160400 or P160500 are output)

B

B

GO TO DTC CHART

A

3.

CHECK INTERVIEW RESULT

(a) Check the interview result.

Result

Proceed to

Engine is difficult to start only when the vehicle has been left as is for a long time (1 hour or more)

A

Other than above

B

B

GO TO STEP 5

A

4.

INSPECT FUEL INJECTOR ASSEMBLY

(a) Clean the inside of the intake manifold with compressed air.

(b) After stopping the engine, measure the HC concentration inside the surge tank for 15 minutes.

Result

Proceed to

Less than 4000 ppm

A

4000 ppm or higher

B

HINT:

  • If the concentration is 4000 ppm or higher, a fuel injector assembly may have a sealing problem.
  • Perform "Inspection After Repair" after replacing the fuel injector assembly.

    Click here

A

GO TO STEP 5

B

REPLACE FUEL INJECTOR ASSEMBLY

5.

CHECK CRANKING

(a) Check the engine cranking operation.

Result

Proceed to

The engine does not crank or cranks slowly

A

The engine cranks normally

B

B

GO TO STEP 7

A

6.

INSPECT BATTERY

(a) Inspect the battery.

Click here

OK

CHECK STARTER SIGNAL CIRCUIT

NG

CHARGE OR REPLACE BATTERY

7.

SYMPTOM CONFIRMATION

(a) Check if the problem symptoms reported in the customer problem analysis recur.

HINT:

If the problem symptoms do not recur, attempt to reproduce the conditions when the malfunction occurred based on the result of the customer problem analysis.

Result

Proceed to

The problem symptom recurs

A

The problem symptom does not recur (occurred in the past)

B

B

CHECK FOR INTERMITTENT PROBLEMS

A

8.

READ VALUE USING TECHSTREAM (ISC F/B LEARN TORQUE)

(a) Connect the Techstream to the DLC3.

(b) Turn the engine switch on (IG).

(c) Turn the Techstream on.

(d) Enter the following menus: Powertrain / Engine / Data List / ISC F/B Learn Torque.

Powertrain > Engine > Data List

Tester Display

ISC F/B Learn Torque

(e) Read the value displayed on the Techstream.

Result

Proceed to

Less than 30 Nm

A

Other than above

B

B

GO TO STEP 15

A

9.

READ VALUE USING TECHSTREAM (SHORT FT B1S1 (B2S1) AND LONG FT B1S1 (B2S1))

(a) Connect the Techstream to the DLC3.

(b) Turn the engine switch on (IG).

(c) Turn the Techstream on.

(d) Enter the following menus: Powertrain / Engine / Data List / Short FTB1S1, Short FT B2S1, Long FT B1S1 and Long FT B2S1.

Powertrain > Engine > Data List

Tester Display

Short FT B1S1

Short FT B2S1

Long FT B1S1

Long FT B2S1

(e) Read the value displayed on the Techstream.

Data List

Result

Proceed to

Short FT B1S1 (B2S1) + Long FT B1S1 (B2S1)

-15% or higher, or less than 15%

A

Other than above

B

HINT:

  • "Total FT Bank 1 (Bank 2)" is used to detect an abnormal air fuel ratio. As the value of "Total FT Bank 1 (Bank 2)" is corrected by the ECM before it is displayed in the Data List, the displayed value may not be equal to the sum of the measured "Short FT B1S1 (B2S1)" and "Long FT B1S1 (B2S1)".
  • An abnormally lean or rich tendency can be checked by reading the following Data List items: A/F Learn Value Idle (Port) Bank 1, A/F Learn Value Idle (Port) Bank 2, A/F Learn Value Low (Port) Bank 1, A/F Learn Value Low (Port) Bank 2, A/F Learn Value Mid No.1 (Port) Bank 1, A/F Learn Value Mid No.1 (Port) Bank 2, A/F Learn Value Mid No.2 (Port) Bank 1, A/F Learn Value Mid No.2 (Port) Bank 2, A/F Learn Value High (Port) Bank 1, A/F Learn Value High (Port) Bank 2, A/F Learn Value Idle Bank 1, A/F Learn Value Idle Bank 2, A/F Learn Value Low Bank 1, A/F Learn Value Low Bank 2, A/F Learn Value Mid No.1 Bank 1, A/F Learn Value Mid No.1 Bank 2, A/F Learn Value Mid No.2 Bank 1, A/F Learn Value Mid No.2 Bank 2, A/F Learn Value High Bank 1, A/F Learn Value High Bank 2, A/F Learn Value Low (Dual/Port) Bank 1, A/F Learn Value Low (Dual) Bank 2, A/F Learn Value Mid (Dual/Port) No.1 Bank 1, A/F Learn Value Mid (Dual) No.1 Bank 2, A/F Learn Value Mid (Dual/Port) No.2 Bank 1, A/F Learn Value Mid (Dual) No.2 Bank 2, A/F Learn Value High (Dual/Port) Bank 1 and A/F Learn Value High (Dual) Bank 2. (For vehicles equipped with a V type engine, check that both banks have the same correction tendency.) If the correction of either bank is -15% or less or 15% or higher, the air fuel ratio sensor or heated oxygen sensor of that bank may be malfunctioning.
  • The following may cause a lean air fuel ratio (an operating range in which the air fuel ratio learned value correction is 15% or higher):
    1. Decrease in fuel injector assembly injection volume
    2. Decrease in mass air flow meter sub-assembly output (due to existence of foreign matter)
    3. Air leaks in intake system after mass air flow meter sub-assembly
    4. Decrease in fuel pressure (at fuel filter, fuel pump, fuel main valve assembly or fuel suction plate sub-assembly)
  • On vehicles which the learning value for each operating range can be checked, if the value of "A/F Learn Value Idle (Port) Bank 1 (Bank 2)", "A/F Learn Value Low (Port) Bank 1 (Bank 2)", "A/F Learn Value Idle Bank 1 (Bank 2)", "A/F Learn Value Low Bank 1 (Bank 2)", "A/F Learn Value High (Dual/Port) Bank 1" or "A/F Learn Value High (Dual) Bank 2" only is corrected to the positive side, an air leak after the mass air flow meter sub-assembly is suspected.
  • The following may cause a rich air fuel ratio (an operating range in which the air fuel ratio learned value correction is -15% or less):
    1. Increase in the fuel injector assembly injection volume
    2. Purge VSV system
B

GO TO STEP 19

A

10.

PERFORM ACTIVE TEST USING TECHSTREAM (D-4S (FUEL CUT))

(a) Connect the Techstream to the DLC3.

(b) Start the engine.

HINT:

Reproduce the vehicle conditions when the malfunction occurred. (such as after the engine is warmed up or after a cold start).

(c) Turn the Techstream on.

(d) Enter the following menus: Powertrain / Engine / Active Test / D-4S (Fuel Cut) / Data List / Engine Speed.

Powertrain > Engine > Active Test

Active Test Display

D-4S (Fuel Cut)

Data List Display

Engine Speed

(e) According to the display on the Techstream, perform the Active Test and check for a malfunctioning cylinder.

HINT:

  • Perform fuel-cut of port injection and direct injection for each cylinder and check the change in the engine speed.
  • If the engine speed of a cylinder does not change while performing the Active Test, it can be determined that the cylinder is malfunctioning.
  • If the engine speed of all cylinders change while performing the Active Test, it can be determined that multiple cylinders are malfunctioning.
  • A cylinder for which the Data List item "Misfire Count Cylinder #1 to #6" increases may be malfunctioning.

Result

Proceed to

One cylinder is malfunctioning

A

Multiple or all cylinders are malfunctioning, or the malfunctioning cylinder cannot be determined.

B

B

GO TO STEP 19

A

11.

PERFORM ACTIVE TEST USING TECHSTREAM (CHECK THE CYLINDER COMPRESSION)

HINT:

If the vehicle does not support the Active Test "Check the Cylinder Compression", measure the compression pressure. If the compression pressure is normal, go to step 12 (PERFORM ACTIVE TEST USING TECHSTREAM (D-4S (INJECTION VOLUME))).

(a) Warm up the engine.

(b) Turn the engine switch off.

(c) Connect the Techstream to the DLC3.

(d) Turn the engine switch on (IG).

(e) Turn the Techstream on.

(f) Enter the following menus: Powertrain / Engine / Active Test / Check the Cylinder Compression / Data List / Compression / Engine Speed Cylinder #1 to #6 and Average Engine Speed of All Cylinder.

Powertrain > Engine > Active Test

Active Test Display

Check the Cylinder Compression

Data List Display

Engine Speed Cylinder #1

Engine Speed Cylinder #2

Engine Speed Cylinder #3

Engine Speed Cylinder #4

Engine Speed Cylinder #5

Engine Speed Cylinder #6

Average Engine Speed of All Cylinder

HINT:

To display the entire Data List, press the pull down menu button next to Primary. Then select Compression.

(g) Push the snapshot button to turn the snapshot function on.

HINT:

Using the snapshot function, data can be recorded during the Active Test.

(h) While the engine is not running, press the Active button to change Check the Cylinder Compression to "Start".

HINT:

After performing the above procedure, Check the Cylinder Compression will start. Fuel injection for all cylinders is prohibited and each cylinder engine speed measurement enters standby mode.

(i) Crank the engine for about 10 seconds.

(j) Monitor the engine speed (Engine Speed Cylinder #1 to #6 and Average Engine Speed of All Cylinder) displayed on the Techstream.

HINT:

  • At first, the Techstream will display extremely high cylinder engine speed values. After approximately 10 seconds of engine cranking, the engine speed measurement of each cylinder will change to the actual engine speed.
  • If the cylinder engine speed values (Engine Speed Cylinder #1 to #6) displayed in the Data List do not change from an extremely high value, return to the Active Test menu screen, change "Check the Cylinder Compression" to "Start" and crank the engine again within 1 second.

NOTICE:

  • Do not crank the engine continuously for 20 seconds or more.
  • If it is necessary to crank the engine again after Check the Cylinder Compression has been changed to "Start" and the engine has been cranked once, press Exit to return to the Active Test menu screen. Then change Check the Cylinder Compression to "Start" and crank the engine.
  • Use a fully-charged battery.

(k) Stop cranking the engine, and then change "Check the Cylinder Compression" to "Stop" after the engine stops.

NOTICE:

  • If the Active Test is changed to "Stop" while the engine is being cranked, the engine will start.
  • When performing the Active Test, DTC P160400 (Startability Malfunction) may be stored.
  • After performing the Active Test, make sure to check and clear DTCs.

(l) Push the snapshot button to turn the snapshot function off.

(m) Select "Stored Data" on the Techstream screen, select the recorded data and display the data as a graph.

HINT:

If the data is not displayed as a graph, the change of the values cannot be observed.

(n) Read the value.

HINT:

  • If the value of Data List item "Engine Speed Cylinder" of a cylinder is higher than other cylinders, the cylinder may be malfunctioning.
  • If the value of Data List item "Engine Speed Cylinder" is high for only one cylinder, compression loss is suspected.

Result

Proceed to

There is no variation in "Engine Speed Cylinder"

(All cylinders display approximately the same value for "Engine Speed Cylinder")

A

There is variation in "Engine Speed Cylinder"

(Only one cylinder displays a value for "Engine Speed Cylinder" that differs considerably)

B

B

GO TO STEP 17

A

12.

PERFORM ACTIVE TEST USING TECHSTREAM (D-4S (INJECTION VOLUME))

(a) Connect the Techstream to the DLC3.

(b) Turn the engine switch on (IG).

(c) Turn the Techstream on.

(d) Start the engine and warm it up until the engine coolant temperature is 75°C (167°F) or higher with all the accessories switched off.

(e) Idle the engine.

(f) Enter the following menus: Powertrain / Engine / Active Test / D-4S (Injection Volume) / Data List / Coolant Temperature.

Powertrain > Engine > Active Test

Active Test Display

D-4S (Injection Volume)

Data List Display

Coolant Temperature

(g) According to the display on the Techstream, perform the Active Test and check the vehicle conditions when increasing and decreasing the fuel injection volume of port injection and direct injection.

HINT:

  • Increase and decrease the fuel injection volume of the port injection and direct injection simultaneously and check the vehicle condition.
  • Change the fuel injection volume between the minimum and maximum range of correction (e.g. -12.5% to 24.8%).

Result

Proceed to

Malfunction is still present even if the fuel injection volume is changed

A

Malfunction disappears when the fuel injection volume is changed

B

B

GO TO STEP 18

A

13.

CHECK IGNITION SYSTEM

(a) Check the ignition system.

HINT:

  • Interchange the ignition coil assembly and spark plug of the malfunctioning cylinder with those of a known good cylinder and check if the malfunctioning cylinder returns to normal.
  • If the spark plug of the malfunctioning cylinder is abnormally wet with fuel even after the ignition coil assembly and spark plug are replaced, a leaking fuel injector assembly is suspected.

Result

Proceed to

The malfunctioning cylinder does not return to normal

A

The malfunctioning cylinder returned to normal

B

B

GO TO STEP 30

A

14.

INSPECT OTHER RELATED COMPONENTS

(a) Check the power source circuit, wire harness and connectors.

NEXT

GO TO STEP 30

15.

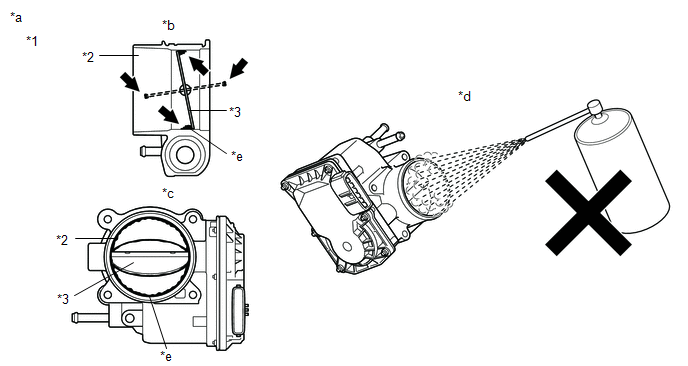
REMOVE FOREIGN OBJECT (CLEAN THROTTLE BODY WITH MOTOR ASSEMBLY)

(a) Clean off any deposits from the inside of the throttle body with motor assembly.

(b) Push open the throttle valve and wipe off any carbon from the valve and bore using a piece of cloth soaked in non-residue solvent.

*1

Throttle Body with Motor Assembly

*2

Bore

*3

Valve

-

-

*a

Reference

*b

Throttle Body with Motor Assembly Cross-section Diagram

*c

When valve fully opened

*d

Do not directly apply cleaner

*e

Deposits

-

-

NOTICE:

  • Make sure that the cloth or your fingers do not get caught in the valve.
  • Make sure that foreign matter does not enter the throttle valve.
  • Do not directly apply non-residue solvent to the throttle body with motor assembly or wash the throttle body with motor assembly. Cleaning solvent may leak into the motor from the shaft and cause problems such as rust or valve movement problems.
  • If there is coating material on the edge of the valve, be careful not to remove it.

HINT:

The illustrations are for reference only. Actual parts may differ.

NEXT

16.

PERFORM CONFIRMATION DRIVING PATTERN

(a) Perform "Inspection After Repair" after cleaning the throttle body with motor assembly.

Click here

(b) Connect the Techstream to the DLC3.

(c) Turn the engine switch on (IG).

(d) Turn the Techstream on.

(e) Start the engine and warm it up until the engine coolant temperature reaches 75°C (167°F) or higher.

(f) Allow the engine to idle for 3 minutes or more and confirm that the engine speed is within the specified range.

HINT:

If the engine is operated without performing learning value reset and idle learning after cleaning the deposits from the throttle body with motor assembly, the idle speed may increase.

NEXT

GO TO STEP 31

17.

CHECK CYLINDER COMPRESSION PRESSURE

(a) Measure the cylinder compression pressure. If the compression pressure of a cylinder is low, inspect the engine assembly and repair or replace parts as necessary.

Click here

NEXT

GO TO STEP 30

18.

REPLACE FUEL INJECTOR ASSEMBLY

(a) Replace the abnormal fuel injector assembly.

HINT:

  • If the air fuel ratio learned value is corrected to the positive side for all operating ranges due to low fuel injector assembly injection volume, replace the fuel injector assemblies of all cylinders.
  • Perform "Inspection After Repair" after replacing the fuel injector assembly.

    Click here

NEXT

GO TO STEP 31

19.

READ VALUE USING TECHSTREAM (MASS AIR FLOW SENSOR)

(a) Connect the Techstream to the DLC3.

(b) Turn the engine switch on (IG).

(c) Turn the Techstream on.

(d) Start the engine and warm it up until the engine coolant temperature is 75°C (167°F) or higher with all the accessories switched off.

(e) Enter the following menus: Powertrain / Engine / Data List / Mass Air Flow Sensor and Coolant Temperature.

Powertrain > Engine > Data List

Tester Display

Mass Air Flow Sensor

Coolant Temperature

(f) According to the display on the Techstream, read the Data List when the engine is running.

Result

Proceed to

Idling (without load): 2.6 to 3.7 gm/sec

Engine speed 2000 rpm (without load): 5.4 to 9.6 gm/sec

Engine speed 3000 rpm (without load): 10.6 to 15.8 gm/sec

A

Other than above

B

B

GO TO STEP 23

A

20.

PERFORM ACTIVE TEST USING TECHSTREAM (D-4S (INJECTION VOLUME))

(a) Connect the Techstream to the DLC3.

(b) Turn the engine switch on (IG).

(c) Turn the Techstream on.

(d) Start the engine and warm it up until the engine coolant temperature is 75°C (167°F) or higher with all the accessories switched off.

(e) Warm up the air fuel ratio sensor at an engine speed of 2500 rpm for 90 seconds.

(f) Idle the engine.

(g) Enter the following menus: Powertrain / Engine / Active Test / D-4S (Injection Volume) / Data List / Coolant Temperature, A/F (O2) Sensor Voltage B1S1, A/F (O2) Sensor Voltage B2S1, O2 Sensor Voltage B1S2 and O2 Sensor Voltage B2S2.

Powertrain > Engine > Active Test

Active Test Display

D-4S (Injection Volume)

Data List Display

Coolant Temperature

A/F (O2) Sensor Voltage B1S1

A/F (O2) Sensor Voltage B2S1

O2 Sensor Voltage B1S2

O2 Sensor Voltage B2S2

(h) According to the display on the Techstream, perform the Active Test and check the vehicle conditions when increasing and decreasing the fuel injection volume of port injection and direct injection.

NOTICE:

  • The air fuel ratio sensor has an output delay of a few seconds and the heated oxygen sensor has a maximum output delay of approximately 20 seconds.
  • Read the output voltage immediately after warming up the air fuel ratio sensor and heated oxygen sensor to avoid an inaccurate reading due to a sensor cooling.

HINT:

  • Increase and decrease the fuel injection volume of the port injection and direct injection simultaneously and check the vehicle condition.
  • Change the fuel injection volume between the minimum and maximum range of correction (e.g. -12.5% to 24.8%).

Standard:

Techstream Display

(Sensor)

Injection Volume

Voltage

A/F (O2) Sensor Voltage B1S1

A/F (O2) Sensor Voltage B2S1

(Air fuel ratio)

24.8%

Below 3.1 V

-12.5%

Higher than 3.4 V

O2 Sensor Voltage B1S2

O2 Sensor Voltage B2S2

(Heated oxygen)

24.8%

Higher than 0.55 V

-12.5%

Below 0.4 V

Result

Proceed to

Output voltage values are abnormal

A

Malfunction disappears when fuel injection volume is increased

B

Malfunction is still present when fuel injection volume is increased, even if output voltage values are normal

C

B

GO TO STEP 22

C

GO TO STEP 24

A

21.

REPLACE AIR FUEL RATIO SENSOR AND HEATED OXYGEN SENSOR

(a) Replace the air fuel ratio sensor.

Click here

HINT:

Perform "Inspection After Repair" after replacing the air fuel ratio sensor.

Click here

(b) Replace the heated oxygen sensor.

Click here

HINT:

Perform "Inspection After Repair" after replacing the heated oxygen sensor.

Click here

NEXT

GO TO STEP 31

22.

REPLACE FUEL INJECTOR ASSEMBLY

(a) Replace the fuel injector assemblies of all cylinders.

HINT:

Perform "Inspection After Repair" after replacing the fuel injector assembly.

Click here

NEXT

GO TO STEP 31

23.

CHECK INTAKE SYSTEM

(a) Check for air leaks or blockage in the intake system components. If a connection problem or foreign matter is found, repair the connection or remove the foreign matter.

HINT:

  • If there is foreign matter in the intake system components, remove it before proceeding to the next step.
  • If there is no foreign matter in the intake system components, check for foreign matter in the mass air flow meter sub-assembly. If there is foreign matter in the mass air flow meter sub-assembly, remove it.
NEXT

GO TO STEP 30

24.

PERFORM ACTIVE TEST USING TECHSTREAM (ACTIVATE THE CIRCUIT RELAY)

(a) Connect the Techstream to the DLC3.

(b) Turn the engine switch on (IG).

(c) Turn the Techstream on.

(d) Enter the following menus: Powertrain / Engine / Active Test / Activate the Circuit Relay.

Powertrain > Engine > Active Test

Tester Display

Activate the Circuit Relay

(e) When performing the Active Test, check for an operating sound from the fuel pump (for low pressure side).

OK:

Activate the Circuit Relay

Specified Condition

ON

Operating sound heard

OFF

Operating sound not heard

NG

GO TO STEP 29

OK

25.

INSPECT FUEL PUMP (FOR LOW PRESSURE SIDE)

(a) Attach a fuel pressure gauge and check the fuel pressure when cranking the engine and after stopping the engine.

Click here

Standard:

Vehicle State

Specified Condition

Cranking engine

196 to 833 kPa (2.0 to 8.5 kgf/cm2, 28 to 121 psi)

5 minutes after stopping engine

98 kPa (1.0 kgf/cm2, 14 psi) or higher

HINT:

  • If there is foreign matter such as iron particles on the fuel pump, remove it.
  • Make sure that there are no leaks from the fuel lines, signs of fuel leakage or fuel odors.
NG

GO TO STEP 28

OK

26.

READ VALUE USING TECHSTREAM (FUEL PRESSURE (HIGH))

(a) Connect the Techstream to the DLC3.

(b) Turn the engine switch on (IG).

(c) Turn the Techstream on.

(d) Enter the following menus: Powertrain / Engine / Data List / Engine Speed, Coolant Temperature, Fuel Pressure (High) and Injection Mode.

Powertrain > Engine > Data List

Tester Display

Engine Speed

Coolant Temperature

Fuel Pressure (High)

Injection Mode

(e) Start the engine and warm it up until the engine coolant temperature is 75°C (167°F) or higher with all the accessories switched off.

(f) According to the display on the Techstream, read the Data List.

Standard:

Techstream Display

Condition

Specified Condition

Fuel Pressure (High)

  • Shift position: P
  • A/C: Off
  • Engine warmed up
  • Engine Speed: 3000 rpm
  • Injection Mode: Direct

2400 to 20000 kPag

NG

GO TO STEP 30

OK

27.

INSPECT OTHER RELATED COMPONENTS

(a) Inspect other related components.

HINT:

If the malfunctioning part could not be determined by performing the preceding inspections, one of the following malfunctions is suspected.

  • Deposits in the intake manifold or on an intake valve
  • Delay in fuel supply due to adherence of the fuel to the deposits
NEXT

GO TO STEP 30

28.

INSPECT RELATED PARTS

(a) Inspect the following fuel pump related parts:

  • Fuel suction plate sub-assembly
  • Fuel main valve assembly
  • Fuel lines and connecting parts
  • Fuel filter
NEXT

GO TO STEP 30

29.

INSPECT FUEL PUMP CONTROL SYSTEM

(a) Inspect the fuel pump control system.

NEXT

30.

REPAIR OR REPLACE MALFUNCTIONING PARTS

(a) Repair or replace the malfunctioning part.

(b) Perform "Inspection After Repair" after repairing or replacing the malfunctioning part.

Click here

NEXT

31.

CONDUCT CONFIRMATION TEST

(a) Check that the engine has returned to normal.

NEXT

END

READ NEXT:

 Engine Stalls

DESCRIPTION Problem Symptom Suspected Area Trouble Area Engine speed fluctuation due to abnormal combustion Idle speed too low or high Strong engine vibration due to above symptoms

 Lack of Power

DESCRIPTION Problem Symptom Suspected Area Trouble Area Engine speed fluctuation due to abnormal combustion Idle speed too low or high Strong engine vibration due to above symptoms

 Throttle Body

SEE MORE:

 Internal Control Module Accelerator Pedal Position Performance Internal Electronic Failure (P060D49)

MONITOR DESCRIPTION The ECM monitors the input signals of the No. 1 accelerator pedal position sensor. If the input signals and control signals deviate, this DTC is stored. DTC No. Detection Item DTC Detection Condition Trouble Area MIL Memory Note P060D49 Internal Control Modul

 Replacement

REPLACEMENT PROCEDURE 1. REMOVE FRONT WHEEL OPENING EXTENSION PAD RH Click here 2. REMOVE FRONT WHEEL OPENING EXTENSION PAD LH Click here 3. REMOVE NO. 1 ENGINE UNDER COVER Click here 4. REMOVE NO. 2 ENGINE UNDER COVER ASSEMBLY Click here 5. DRAIN TRANSFER OIL Click here 6. ADD TRANSFE

© 2016-2026 Copyright www.lexguide.net